(张洁伟)九十年代初,在国际、国内的安全防范领域,普遍采用热释电传感器制造的被动红外探测器。此外,热释电传感器还可用于控制自动门、自动灯及高级光电玩具等。本文介绍红外热释电传感器SD02的结构、原理和使用。
结构与原理
1.敏感元
敏感元用红外热释电材料锆钛酸铅(PZT)制成,这种材料在外加电场撤除后,仍然保持极化状态,也即存在自发极化,并且自发极化强度Ps随温度T升高而下降。
制作敏感元时,先把热释电材料制成很小的薄片,再在薄片两面镀上电极,构成两个串联的有极性的小电容,因此由于温度的变化而输出的热释电信号也是有极性的。把两个极性相反的热释电敏感元做在同一晶片上,这样由于环境的影响而使整个晶片产生温度变化时,两个传感元产生的热释电信号相互抵消,起到补偿的作用。热释电传感器在实际使用时,前面要安装透镜,通过透镜的外来红外辐射只会聚在一个传感元上,它产生的信号不会被抵消。
热释传感器的特点是它只在由于外界的辐射而引起它本身的温度变化时,才给出一个相应的电信号,当温度的变化趋于稳定后,就再没有信号输出,所以说热释电信号与它本身的温度的变化率成正比,或者说热释电传感器只对运动的人体敏感。
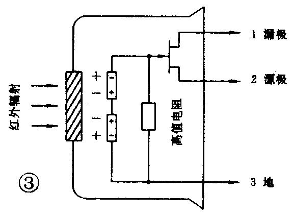
2.场效应管和高阻值电阻Rg
通常敏感元材料阻值高达10\(^{13}\)Ω,因此要用场效应管进行阻抗变化,才能实际使用。场效应管常用2SK303V3、2SK94X3等,用来构成源极跟随器,高阻值电阻Rg的作用是释放栅极电荷,使场效应管正常工作。一般在源极输出接法下,源极电压约为0.4~1.0V。传感器内部的电气连接见图3。

有些厂家采用其它场效应管,则源极电压略有差别。通过场效应管,传感器输出信号就能用普通放大器进行处理。
3.滤光片(FT)
PZT制成的敏感元是一种广谱材料,能探测各种波长辐射。为了使传感器对人体最敏感,而对太阳、电灯光等有抗干扰性,传感器采用了滤光片作窗口。滤光片是在Si基板上镀多层膜做成的。每个物体都发出红外辐射,其辐射最强的波长满足维恩位移定律:
λm·T=2898(μm·k)
人体体温36℃,绝对温度309°K
λm=2989/309=9.4μm
也即人体辐射在9.4μm处最强,红外滤光片选取7.5~14μm波段,能有效地选取人体的红外线辐射。红外滤光片通透曲线见图4,由此图可见,6.5μm前截止,可以有效地防止电灯光的干扰,抑制太阳光的干扰。但是,当电灯离传感器太近时,由于灯泡发热而产生的红外线,以及漏进的可见光,电灯开亮、熄灭时仍可能使探测器误动作。对国际上最大的几个传感器生产厂家的产品实测表明抗白光性能差不多,一般如果用普通的聚乙烯制成的菲涅耳透镜,在正常探测距离下,抗白光干扰只能达几百勒克斯。

主要参数
目前国内市场上常见的红外热释电传感器有上海尼赛拉公司的SD02、PH5324和德国海曼LHi954、LHi958以及日本的产品等。
SD02适合用于防盗报警器,也可用于自动灯开关等,其参数如附表,一般来说,“信号”这项参数大一些为好,而“噪声”、“平衡”这两项参数小一些为好。“平衡”B表示两个敏感元互相抵消干扰的程度,从一定角度反映了传感器的抗干扰能力。实际使用中,还经常会遇到一个预热时间问题,主要是传感器本身决定的,一般被动红外探测器约有一分钟预热时间。

传感器的应用
1.加装菲涅尔透镜
热释电红外探测器用的菲涅尔透镜,实际是一个透镜组,它上面的每一个单元透镜一般都只有一个不大的视场角。而相邻的两个单元透镜的视场既不连续,更不交叠,却都相隔一个盲区。为说明某一型号透镜组的视场分布,往往用这个现场的侧视图和俯视图来表示(如图5中的两个图)。这两张图反映了某一探测器总的监视范围。当人体在这一监规范围中运动时,顺次地进入某一单元透镜的视场,又走出这一视场,热释电传感器对运动的人体一会儿看到,一会又看不到,再过一会儿又看到,然后又看不到,于是人体的红外线辐射不断改变热释电体的温度,使它输出一个又一个相应的信号。图5是常用的菲涅尔透镜CE—024的外形和视场图,供读者参考。

2.放大处理电路的一般要求
在探测范围内,传感器输出的信号频率大约为0.1~10Hz,这一频率范围由菲涅尔透镜、人体运动速度和热释电传感器本身的特性决定。针对有用信号,一般采用带通放大器取出。一般中心频率取在1Hz附近。放大器的带宽对灵敏度和可靠性有重要影响。带宽窄,噪声小,误报率低;带宽宽,噪声大,误报率高,但对快速、慢速移动响应好。
比较器的域值取法很重要,域值太低易误报,太高则灵敏度低,需仔细选择,典型的采用最大噪声值6倍。
为了提高报警器的可靠性,人们采取了多种措施,如采用脉冲计数,采用贴片元件,采用屏蔽盒等,为了提高抗白光干扰,采用双层滤光片等。
信号输出有多种方式,如电平输出、继电器输出、可控硅输出等。这些输出方式,可以控制报警系统报警或控制自动门,自动灯,也可控制玩具发声、发光、电动机转动等,实现各种用途。
3.典型应用举例
图6是一典型的热释电被动红外报警器电路图,其中传感器用SD02,透镜用CE—024,探测角度84°,距离可达12米以上。电源电压12VDC,信号输出端为常闭继电器触点。发光二极管用于触发指示。


