(李启福 孙航)近年来,手持式数字万用表,由于其准确度高,可靠性好,显示直观,耗电省,便于携带,价格便宜等一系列优点,而得到迅速的普及。但许多初学者对表内所用集成电路不熟悉,这给维修工作带来困难。本文以哈尔滨无线电七厂生产的DT-890A型数字万用表为例,介绍表内所用集成电路的功能及作用,并标出在正常工作时,集成电路各管脚的电压值,供初学者维修时参考。
DT-890A型数字万用表为31/2位数字仪表,其内部共有五块集成电路:ICL7106、CC7556、CC4011B、CC4070及TL062,现分别介绍如下。
一、ICL7106
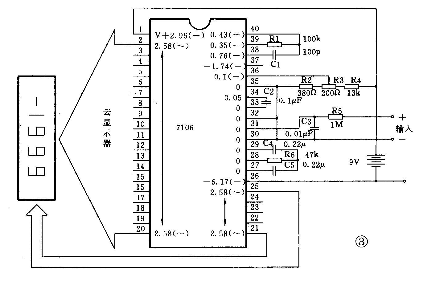
7106电路为A/D转换器,它把模拟电路与逻辑电路集成在一块芯片上,属于大规模CMOS集成电路。该芯片在DT-890A中为核心部分,目前常用的31/2 位数字万用表大都采用7106型双积分式A/D转换器。少量DT-890/DT890A型选用微功耗的ICL7136,与7106可直接代换。
1.特点:
(1)采用单电源供电,电源范围7~15V。可使用9V叠层电池。
(2)输出形式为异或门输出,能直接驱动LCD显示器。
(3)输入阻抗高,典型值为1010Ω,对输入信号无衰减作用。
(4)内部有时钟电路,可接阻容元件构成多谐振荡器。
(5)功耗低,本身消耗电流1.8mA,功耗为16mW。
(6)能通过内部模拟开关实现自动调零和自动显示极性。
(7)在芯片内部V+与COM端之间,有一个稳定性很高的2.8V(典型值)基准电压源。可外接电阻分压器,获得所需的基准电压值VREF,以保证A/D转换的准确度。转换准确度为±0.05%±1个字。
(8)整机组装方便。该芯片配上几个电容、几个电阻即可组成直流数字电压表,再加上其它附加电路,便可组成数字万用表。
2.功能
7106型A/D转换器采用塑料或陶瓷封装,双列直插式,共40个引出端,其管脚排列见图1。

(1)V+和V-——分别接电源的正极和负极。
(2)aU~gU、aT~gT、aH~gH——分别为个位、十位、百位笔划的驱动信号,依次接LCD的个位、十位、百位的相应笔划电极,LCD显示器笔划见图2。

(3)abK——千位笔划驱动信号,接千位液晶显示器的a、b两个笔划电极。当计数值大于1999时,发生溢出,千位数显示“1”,表示超量程显示。
(4)PM——负极性指示,接千位数码g段,当PM端输出的方波与背电极方波的相位相反时,显示负号
(5)BP——LCD背面公共电极的驱动端。
(6)OSC1~OSC3——时钟振荡器的引出端,外接阻容元件组成多谐振荡器。
(7)COM——模拟信号公共端,简称“模拟地”。
(8)TEST——逻辑电路的公共地,简称“逻辑地”,可作负电源供外部驱动器使用,例如组成小数点显示电路。
(9)V\(_{REF+}\)与VREF-——基准电压的正端与负端,简称“基准+”和“基准-”。
(10)C\(_{REF}\)——外接基准电容端。
(11)IN\(_{+}\)与IN-——模拟量输入端,分别接输入信号的正端与负端。
(12)AZ——积分器与比较器的反相输入端,接自动调零电容C\(_{AZ}\)。
(13)BUF——缓冲放大器的输出端,接积分电阻R\(_{INT}\)。
(14)INT——积分器输出端,接积分电容C\(_{NT}\)。
由7106构成的基本数字电压表电路图如图3。该表基本量程为200mV,其中R1、C1为时钟振荡器的RC网络,振荡频率40kHz,R2、R3、R4是基准电压的分压电阻。调整R3使基准电压VREF=100mV。R5、C3为输入端高频滤波电路。C2、C4分别为基准电容和自动调零电容。R6、C5分别为积分电阻和积分电容。

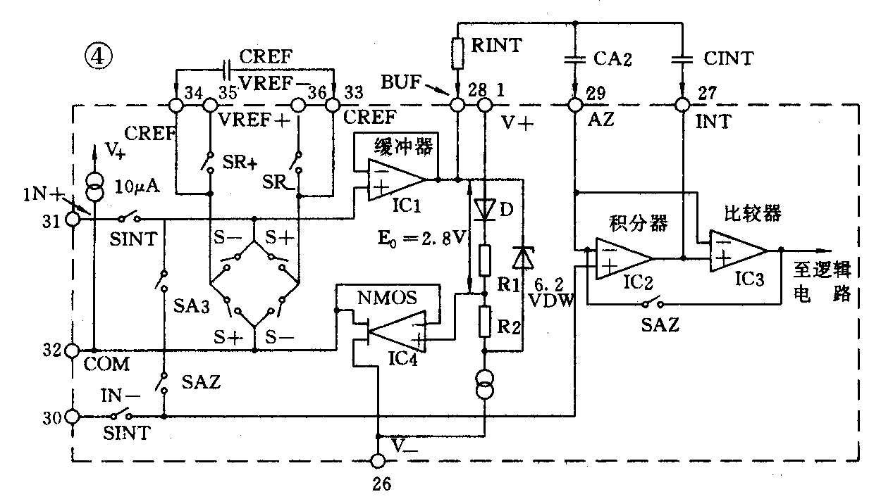
7106A/D转换器工作原理参看图4。

二、CC7556
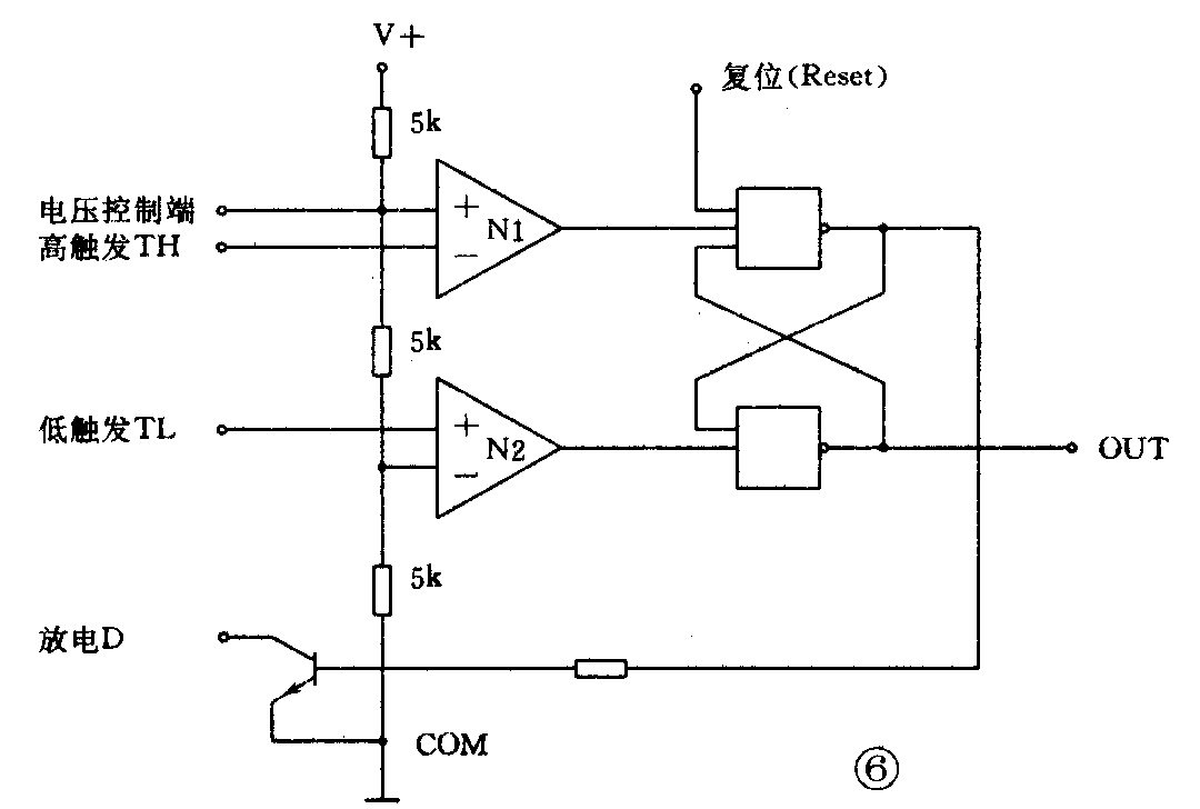
CC7556为双列直插式14脚CMOS型双模拟器定时器,在仪表中由7556与外围几只阻容元件,再配上3\(\frac{1}{2}\)位数字电压表,构成一块数字电容表,见图5。

CC7556内部有两个相同的单定时器,每个定时器的组成都是由一个三极管开关,两个电压比较器N1、N2,一个基本RS触发器,以及由3个阻值为5kΩ的电阻组成的分压器组成,见图6。

图5中CC7556电路各管脚名称上方已标出正常工作时的各点电压值,供读者维修时参考。
三、CC4011B
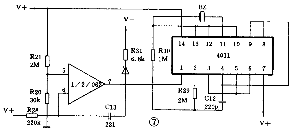
CC4011B为二输入端四与非门集成电路,为双列直插式14个引出脚。在该仪表中,它与R30、C12构成可控振荡器,并与双运算放大器062其中一组和压电陶瓷片共同组成蜂鸣器电路,用来进行线路通断测量如图7。

4011B共有四个与非门,除其中一个外,其余3个与非门都把两输入端短接,作为反相器使用,其中R29为偏置电阻,主要是稳定门电路的工作点,以提高振荡频率的稳定性,电路以输入端为高电平时起振,该振荡频率在音频范围内。
四、CC4070
CC4070B为四异或门集成电路,双列直插14引脚。在仪表中,与一些元件组成小数点显示电路和低电压显示电路,如图8。利用40703个异或门外接3个电阻R23~R25组成小数点电路,3个异或门的输入端(2、6、13脚)相连接入7106的公共电极BP,A端加50Hz方波,而异或门的另外3个输入端(1、5、12脚)通过3个电阻接TEST端。平时B端呈低电平,当通过选择开关与V\(_{+}\)相接时,根据异或门输出特性,使输出方波成为与BP极方波相位相反,从而使小数点dp闪光。

低电压指标电路由4070的另一个异或门与一只三极管组成。平时三极管处于导通状态,由集电极输出低电压(-2V),而一旦电池电压低于所定下限值时(+7.2V),三极管截止,集电极输出高电压(+2.4),使欠压显示符号“LOWBAT”笔划点亮,完成此项功能。
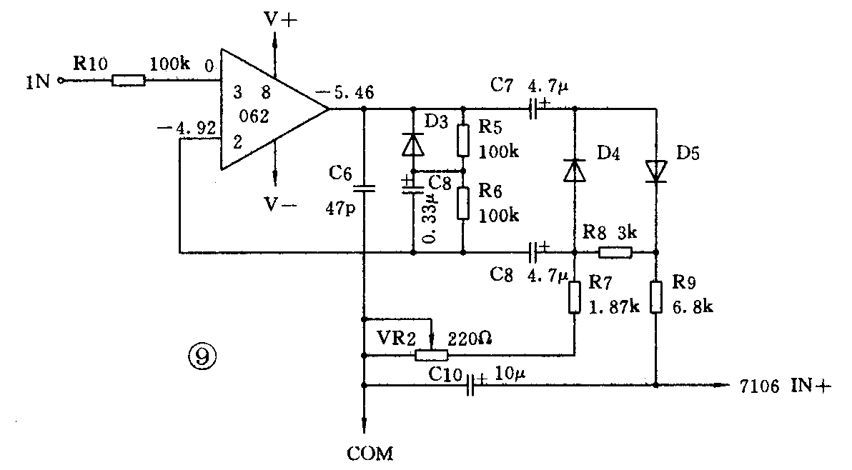
五、双运算放大器TL062
在仪表中双运算放大器起两个作用,一是利用TL062中运放Ⅰ与整流二极管及一些辅助器件组成AC-DC转换器如图9,此运算放大器的作用是将小信号(交流)放大,以避免AC-DC转换过程中,因小信号失真而产生误差。第二个作用是利用运算放大器Ⅱ与四与非门电路4011共同组成蜂鸣器电路,此运放Ⅱ组成电压比较放大器见图7,平时电阻分压器R20、R21为同相端提供固定电压值(+0.04V)为反相输入端提供高电平(+2.8V),比较放大器输出端电压为-4.6V,此时,可控振荡器停振,而当仪表拨到蜂鸣器档,并且输入端短路时,反相输入端电压为0V,经反相放大后,输出端输出+2.4V电压满足了可控振荡器起振条件,使振荡器起振。
