看书写字和从事案头工作的人都离不开性能优良的台灯。在此,向大家介绍一种对视力有保健作用的自动调光台灯。这种台灯有两大功能:首先,本灯利用光敏探头测出纸面的照度,根据照度自动调整灯泡的亮度,使达到人眼在读写时的最佳照度100~400勒克司。其次安排了“工作-休息”自动循环程序,使看书写字工作一段时间,灯自动熄灭让眼睛休息一会儿,然后又自动点亮,防止眼睛过于疲劳,损伤视力。“工作”与“休息”时间长短可独立调整,由使用者自行安排。本台灯可节约电能,延长灯泡使用寿命,是广大中小学生、知识分子的好伙伴。
本台灯的控制电路可以分为六部分(见图1):照度探测电路,电子放大和弛张振荡器,调光电路,“工作-休息”循环电路,触摸开关电路,电源电路,本文就电路主要作用分述如下:

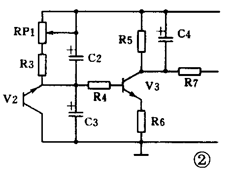
照度探测电路由光敏三极管V2和一些阻容元件组成,当光线较强时,光敏三极管内阻变小,使V3基极电位下降;光线较暗时,光敏三极管内阻变大,V3基极电位上升。这样将探测出的亮度变化转换成电压的变化,经放大电路放大,去控制灯泡发光亮度,达到自动调光。照度探测电路也可以用图2的接法。最重要的是光敏探头的安装位置,经过多次试验认为,将它装入凹型发光二极管管座,将管座装在台灯灯罩侧缘,让光线不照射在探头上,管座前方的圆孔则对准读书或写字的纸面,使它距离纸面和接收纸面反射的光线都和使用者的眼睛相似,为台灯控制发光提供可靠的标准。

电子放大和弛张振荡器是视力保健台灯的主要部分。由V3和V4组成电子放大电路,V2串联RP2为V3的下偏流,上偏流由R3与RP1串联而成。C2、C3与R4共同起延时作用,在看书翻页或偶然其它光线闪烁时,使灯的亮度不突变。V4基极所接C4、R7也起同样的作用。V4集电极的C5,充放电时间决定了V5组成的弛张振荡器产生的尖脉冲触发双向可控硅的角度。当50Hz交流电压过零时,C5通过V5发射结迅速放完电,使下半周充电从零开始,这就使触发脉冲出现的时间每半周期内相等。当V4内阻随光线强弱变化时,就改变了C5充电的快慢,从而改变了双向可控硅的导通角,达到自动调光的目的。为了不使主电路带220V电压,使用了隔离脉冲变压器T,VD5和VD6是为了滤除弛张振荡器产生的负脉冲而设置的。
调光电路是由一只400V,1A双向可控硅担负,它是40W白炽灯的调节器。
触摸开关是最常见的电路。由IC1和相应元件组成双稳触发器。IC1②脚通过C7接“关”触摸片,⑥脚通过C6接“开”触摸片。触摸“开”或“关”时,双稳触发器翻转,使③脚电位高低变化,使V6导通或截止。V6导通使IC2④⑧脚得到正电压,进行“工作-休息”循环,IC2和阻容元件构成可变占空比无稳态触发电路。由于VD9和VD10的存在,使C9充放电分别由两条支路进行,充电经R12、RP4、VD10支路,放电经R11、RP3、VD9支路,这样分别调整RP4、RP3可使“工作”和“休息”时间长短可调。IC2③脚电位的高低,可控制V1导通或截止,使V3、V4和V5的正电压接通或关断,使双向可控硅导通或关断,达到“工作-休息”自动循环。
本灯控制电路电源要求两种直流电压。下有两个独立次级绕组,一组交流5V,另一组交流18V,分别由两个全桥整流。第一组15V整流后由R2与VD3稳压并限幅,使整流出的脉冲直流限幅后形成梯形波,做为双向可控硅的同步触发电压,也是V5电源,另外经隔离二极管VD4、C1滤波为V3、V4供电。另一组18V整流后由C12滤波、IC3集成电路稳压,给IC1、IC2供电。发光管VD1、VD2分别指示两组电源的通断。本台灯不设电源总开关,只要接通220V电源,变压器次级18V绕组便开始工作,VD2指示电源接通。由于IC1使用CMOS7555,静态电流只有0.2mA,功耗极微。15V绕组在V1截止时根本不消耗电能。同样V6截止时IC2不工作,也无电能消耗。在“休息”时,V1截止,虽然IC2在工作,但CMOS电路消耗极低。
控制电路的调整很简单,首先调整RP的大小,使VD3流过10mA的工作电流,此时测VD3稳压值在9V左右。然后调RP1与RP2,用不透光的厚布将光敏探头遮盖严,先调整RP1阻值,使灯发光最亮;再将盖布拿开,让桌子放的纸面反射光线被光敏管接收,这时灯泡亮度会慢慢变暗,若无变化,可调RP2的大小;若手边有照度表,可调RP2到100勒克司时灯不再变暗。若没有照度表,可以借助另一台灯。一般认为220V 15W白炽灯距离纸面30~40厘米时照度在100勒克司左右。用15W台灯调整时,让纸与灯泡距离30厘米,调整RP2的大小,使自动调光台灯能暗到灯丝发红。照度如果大于400勒克司,灯应自动熄灭。RP1与RP2反复调整,可达到最佳效果。全部调好后,将控制电路装入台灯座下空间内。
选择元件的要求也不高,VD3用稳压值在9V左右的任何型号稳压管都可以。V1 8050与V6 8550都选β150以上饱和压降较小的。V3 9014与V49015选β在250以上的都可以用。V5用BT33F或BT31E(或F),分压比选0.65~0.85之间。隔离脉冲变压器T2可以用中型半导体收音机输入变压器,初级直流电阻200Ω次级直流电阻150Ω即可。电源变压器用一个两瓦,次级有两组独立绕组,一组15V,另一组18V的。IC1与IC2都选用CMOS型时基电路7555,IC3用7812L或7812M,用7812也可以。RP4与RP3选用小型线性1/2~1/4瓦电位器。电路并不复杂,印制板可以自行设计。IC1与IC2可以安座,将集成电路插上。如果直接焊在板上,注意焊接时烙铁要有良好的接地线,防止损坏集成电路,其它元件按图中要求选用。
视力保健台灯对外观造型有一个特殊要求,台灯灯罩与灯底座要有固定的相对位置,不应随意改变,否则会影响调光性能。凡灯罩与底座用蛇皮管联接的都不宜用。建议采用图3造型。(李楷)
