流水彩灯是一种装饰品,它的流水状态美与不美取决于控制器。目前市面上的控制器只是固定的一种或多种的流水状态。本文介绍的控制器可由个人的要求随时编制多种能连续流水的任意状态。这种控制器不光是装饰品,还可当作娱乐工具,利用编制程序促进思维能力,增添日常生活中的乐趣。
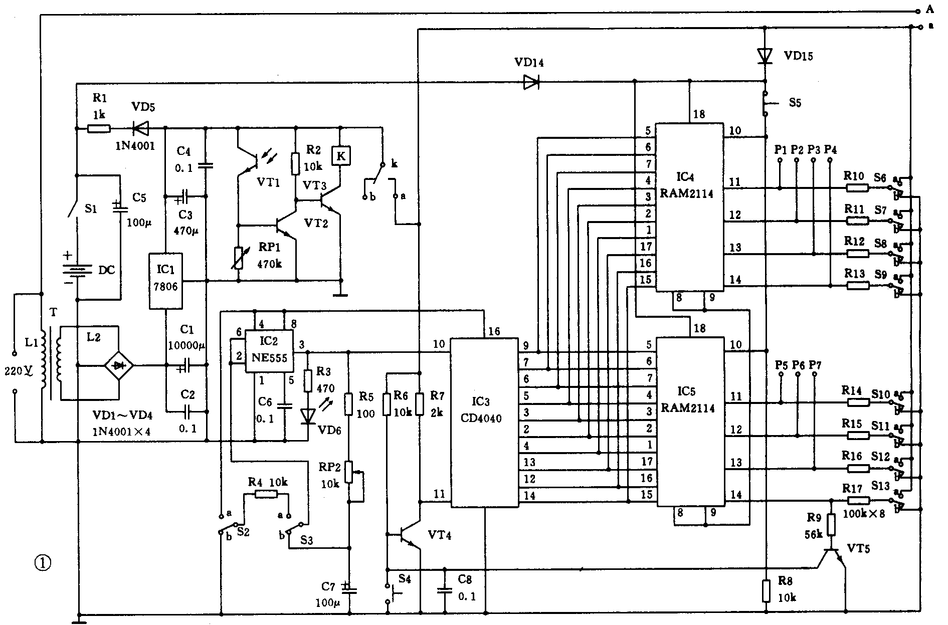
电路的原理见图1。IC2、R5、RP2、C7、S3等构成一个反馈式多谐振荡器,振荡频率决定于RP2调节后的阻值。每当IC2的3脚输出一个脉冲,发光二极管VD6点亮一次,同时由IC3计数。IC3为12级串行进位加法计数器,它的输出端Q0~Q9分别与IC4和IC5(二只存储器,RAM2114)的地址输入端A0~A9对应相接。存储器的A0~A9按二进制计数,有1024个存储单元,每个单元可以存放四个(D1~D4端)二进制代码向外输出。图中二只RAM共有八个输出端,为了便于叙述,下面以P1~P8表示,其中P8作反馈清零用,P1~P7分别接R18~R24(见图2)连至VT6~VT12的基极,当P1~P7分别有高电平“1”代码输出时,对应的VT6~VT12导通,点亮相应的七号发光二极管VD7~VD13,同时又经VT13~VT19电流放大,使之驱动可控硅VS1~VS7,点亮对应的彩灯HL1~HL7,达到控制彩灯亮灭之目的。


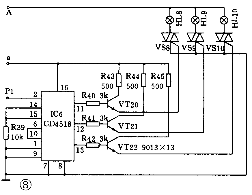
图3为一个七色循环灯,由IC6担任控制电路。把红绿蓝三盏灯泡一起装在一个白色玻璃罩内,从外看不见灯罩内有灯泡,但能看见灯罩内透出有彩灯点亮的彩光。IC6为CD4518,是一只双BCD同步加法计数器,图中接法为80分频器。以上各IC管脚功能参见图4。七色循环灯的过程是:当IC4的P1脚输出80个二进制代码“1”后,IC6的Q4A输出8个时钟脉冲“1”电平,控制“允许B”以计数形式从Q1B~Q4B输出对应的“1”电平,使VT20~VT22相应导通,触发VS8~VS10,从而HLS~HL10对应点亮。IC6的功能状态及变色原理见附表。



光控部分见图1,主要由光敏三极管VT1控制继电器K的动作,使电路在黑天得到供电,彩灯点亮。全电路的电源供给通过变压器T经整流、滤波,IC1稳压,输出直流6V。DC由四节充电电池组成,用来在交流停电时保持存储器程序。图1中的C8是在K吸合时为计数器作自动清零用的。
电路的装配调试与编程方法:可控硅VS的工作电流应取大于通过彩灯最大电流的3倍以上,耐压≥600V,焊接时要单独加上足够的散热片。S2~S13为自锁开关,其中S2、S4和S5为常开常闭开关,只要把自锁开关中的锁闩拿掉就可以了。调试光控时,在接通电源后,用一遮光物遮住VT1,调节RP1,使K吸合,去掉遮光物,K能够释放就可以了。在组装时要注意电路的地线不要与仪器外壳连接,更不能接大地。各只VS的引出线可用一个多芯插座连接,固定在仪器壳的后板上,再用多芯插头用引线连接各只HL。S2~S13和电位器RP2应固定在仪器壳前板适当位置。VD6装在S2的按钮上方,VD7~VD13对应装在S6~S12的按钮上方,VT1应固定在仪器壳某部位易见光的位置。
在编制程序时,首先要接通电池和220V交流电源,然后遮住VT1的光照,让K吸合,把RP2调节到0阻值,使VD6以最快速度闪烁,把S6~S13全部置b(地)端,如图所示。按住读写开关S5约半分钟后再松开,这时存储器已被清零,然后按进消振开关S3,使IC2停止振荡,构成一个斯密特触发器,在没有触发的情况下,输出端3脚始终保持“1”电平,VD6亮而不闪烁,这时按一下清零开关S4,计数器IC3被清零,按一下S5,两只存储器的地址输入端A0~A9的“0”地址码在P1~P8为双四个二进制代码以存放“0”电平向外输出。以上过程在编制程序时是不可省略的。下面以编制一组单灯流水的程序作为介绍,共分八个步骤。第一步,按进S6置a,电流正端,按一下触发开关S2,IC2输出一个负脉冲,VD6熄灭一下,IC3以上升沿计数一次,第一个“1”电平被送到二只存储器的地址输入端,按一下S5,第一个地址单元的“1”码在存储器P1脚存放为“1”电平向外输出,使VT6导通,VD7亮,S6仍置b。第二步,S7置a,再按一下S2,IC3第二次计数,VD7灭,按一下S5,VD8亮。往下步骤操作同上,每当按下S2一次,VD6都要熄灭一下,证明IC2有输出脉冲,当IC3计数到第八个脉冲后,存储器的P8脚存放为“1”电平让VT5导通,强制IC3清零,好让存储器循环己编制的程序,最后按出S13,再按一下S2和S5,编程结束。S3仍置b,单灯流水立即形成,不论是VD7~VD13,还是HL1~HL7,它们的流水状态是一致的,调节RP2就可调节流水速度。图2中为两组彩灯,每组七只灯泡,分两边对应相接,当中挂一个七色循环灯,当流水灯每循环10次,七色灯改变一次颜以。彩灯可以按个人的要求接成多组任意排列。
以上把该控制器的工作原理及编程作了简单的介绍,该存储器可任意编制正流、逆流、单流、双流、快、慢、聚、散、全灭、全亮等等。按照1024个地址单元可编入一百多种流水状态,连续循环起来,千姿百态,万分美观。(陈邦楚)