随着音响技术的不断进步,数码时代的兴起,对音源能够真实再现,要求对音箱在承受大功率、低失真及良好的瞬时特性,报出了更高的要求。由于科技的进步,现代的一些小口径扬声器,已经达到很高的性能,重现声音时能有大口径扬声器的效果,制作箱体的材料,用混凝土与木质的相比,因混凝土属于无机性,具有更优良的抗振性能,所以用混凝土箱体与优质小口径扬声器配合,非常适宜由于受居住条件所限制的发烧友,制成高性能、小体积的音箱,让斗室的听众也好似来到广阔无限的大自然中。
很多人都认为灌制水泥音箱难度大而望而却步,其实并非如此,笔者是一次实践就告成功,箱体尺寸及分频数据如图1所示,低中音单元选用惠威SK6.5英寸,高音单元用无感C3/4磁液软球顶。拌制混凝土的选料:沙、细石、水泥,以3:2:1的比例加水搅拌而成,倒相管用厚度3mm的铁板加工成直径50mm、长度100mm的铁管,也可用相同口径的水管代用。

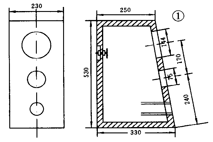
灌制水泥音箱,先制成箱体两块侧板,用宽度20mm的木片条,钉成两个对称的直角梯形木框,上底230mm,下底310mm,高度530mm,斜边钻四个距离相等的小孔,把木框放在光滑的木板或者是玻璃板面上,注进混凝土,并在混凝土内沿直向放4~5根铁线,有条件的再在表层铺一层石棉丝至浸入混凝土浆内,这样更有利于增加拉力及预防破裂。在斜边的四个小孔内则也要埋进四根铁钱,并平直从小孔透出,其他三边,各边在距离边沿10mm的混凝土内,也埋入三根铁钱,垂直伸出混凝土面,长度不超过190mm。再在整个表面随意插六、七根小铁丝,成音箱后用这些小铁丝勾住贴在内壁的海棉块,如图2所示。

过几天至两块侧板的混凝土凝固脱模后,在光滑的木板面上平行竖起,斜边向上,并使两板有伸出铁线的面对着,间距190mm,再用两块三合板围住两头开口,也即是箱体的底面与顶面,形成方框并固定好,框内的木板面上注进混凝土即成箱体的后板,厚度约20mm,同样也在混凝土表面铺一层石棉丝,在中上方的位置插两根φ4mm的小木条,成箱后用来装接线柱。同时在两头开口处的两块三合板内侧,再各垫上一块宽190mm的三合板,各自两板间的距离20mm,做成灌制箱体的底面和顶面的夹板,又注入混凝土至凝固后,去掉三合板,把伸出斜边的铁线弯成20mm长的铁勾,如图3所示。

灌制面板也需先成一个模具,用一块与音箱面板的面积相等的光滑木板,四边钉上木片,且高出木板面20mm,再用木板或泡沫块,做成两个分别为φ144、φ75的圆片,钉在面板装高、低音喇叭的位置上,并用四个20×20×20(mm)正方形小木块安置在圆片旁边,也即是装扬声器时需拧螺丝的位置。已加工好的倒相管竖放在离底边90mm的中间位置,如图4所示,注进混凝土后,把已灌成的箱体反盖在上面,使伸出箱体斜边的铁勾,插进混凝土内,至完全凝固脱模后,再修补箱体外表不平的地方。为表现混凝土音箱的特色,外表可不作任何装饰,也可用音箱纸或其它材料装饰。

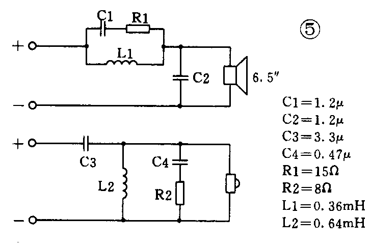
箱内的吸音材料,用20mm厚的海棉块,铺在箱体内壁。用铜螺丝拧在后板做成的接线柱,接线柱要用胶管及胶垫套住,使螺丝螺母与箱体隔绝,或者直接用音箱线透入。扬声器从箱外往内装,中间整一块橡皮圈,用螺丝在喇叭口边的木块上拧紧。分频器见图5。

这套混凝土音箱,不但体积较小,可节省空间,而且得到了预期的听觉效果,笔者用购得的金牛牌输出变压器,自制胆机推动这对音箱,播放音源用已经过摩机的SONY295型激光唱机,煲透十多小时后,虽然是小口径扬声器,但声势很宏大,播放到碟《sipes》,低音鼓结实有力,动态极大,压得喘不过气来,手摸箱体无振动感觉,播放声碟《蓝雨褛》,中高音透明清晰,圆润的歌声,好似歌者就在眼前。这对数百元成本的土地音箱,有如此表现,令我感到非常满意,其他发烧朋友不妨一试。(温锦明)