在晶体管放大器中,我们要求各个晶体三极管都处于最佳工作状态。而晶体三极管的集电极电流就能反映该晶体管的工作状态。所以测量和调节晶体管的集电极电流是件很重要的工作。
测量方法
测量晶体三极管的集电极电流一般有三种方法。
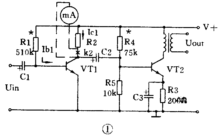
1.把电流表直接串联在晶体三极管的集电极电路中来测量。在图1中,电路要求晶体三极管VT1的集电极静态(没有信号输入)时,工作电流为1mA,把万用表拨至电流10mA档(500型万用电表),在打“×”处断开电路,把电流表串进去测量。这种测量方法能把晶体三极管的集电极电流直接读出来,但要断开晶体三极管的集电极电路,尤其是在修理一些产品机器时,要划断印制电路板,再把电流表串联进去测量,会感到不方便。

2.测量晶体三极管集电极负载电阻上的电压值,然后用欧姆定律算出该晶体三极管的集电极电流。同样,在图1所示的电路中,不用断开电路,把万用表拨至10V电压档,如测得R2两端的电压为2V,根据欧姆定律:I=U/R=2V/2000Ω=1mA。算得VT1的集电极电流为1mA。这种测量方法的好处是不用切断电路,因此测量方便。但当晶体三极管的负载为电感线圈时,如图1电路中的VT2,通常线圈的阻值是不标出来的,而且各个线圈的阻值有一定的离散性,所以不能采用上述方法测集电极电流。
3.测量晶体三极管发射极电阻上的电压值,然后估算出晶体三极管的集电极电流值。在图1的电路中,如测得R3两端的电压为1V,我们可以算出VT2的发射极电流为5mA,从晶体三极管的电流分配特性可知:Ie=I\(_{b}\)+Ic,而一般来说Ib只有几个或几十个微安,Ic≈Ie。这样的估算误差可以忽略不计。这种测量方法也不用断开电路,测量很方便。
我们可以根据实际情况,采用以上三种方法中的任一种方法去测量晶体三极管的集电极电流。一般来说,为了避免更动接线,应尽可能直接测量电压而不直接测电流。
以上三种测量晶体三极管集电极电流的方法,对电表的内阻也有一定的要求,知道了这一点对测量的误差可做到心中有数。第一种方法要求电流表的内阻小些为好。第二、三种方法要求电压表的内阻大些为好。一般的测量使用20kΩ/V的万用电表如500型、MF30型就可以满足要求。
调试方法
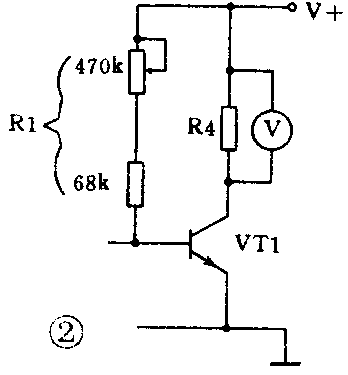
我们知道,为了避免晶体管电路的放大失真,必须给晶体三极管设置一个合适的静态工作点。在图1的电路中,VT1的静态工作点是这样设置的:在没有信号输入时,电源通过电阻R1给VT1提供一个固定的基极电流I\(_{b}\)1,于是在VT1的集电极电路中产生了Ic1。从晶体三极管的特性可知:Ic≈β·Ib,这个关系式在一定的范围内与外加的因素(如集电极电压、集电极回路中的负载电阻的大小等)无关,主要由晶体三极管本身的内在特性所决定。R1叫做VT1的偏置电阻,改变R1的阻值能改变I\(_{b}\)1,也就改变了Ic1的大小。在静态时,我们可以把R1换成470kΩ的可变电阻,并串上一个68kΩ的固定电阻如图2所示。旋动可变电阻器使VT1的集电极电流为1mA。然后焊下可变电阻和与之串联的电阻,用万用表的欧姆档测出它们的阻值,换成阻值相同的固定电阻接入电路。这样VT1的静态工作点就调整好了。需要指出,在使用可变电阻器来调节偏流电阻R1时,为了防止可变电阻器的阻值拧得过小,Ib1过大而烧坏管子,一般都用一个固定电阻与可变电阻串联进行保护。

对于图1中的VT2,它采用分压式电流负反馈偏置电路,这种偏置电路由R4、R5、R3组成。调节R4或R3都能改变VT2的集电极电流,一般我们都用改变它的上偏置电阻R4来实现。需要调节的偏置电阻,电路图中常在它文字符号的右上角打上一个“*”号。调节这个电阻就能改变与它相应的晶体三极管的集电极电流。(周富发)