这是一个很有趣的玩具电路,如果将它安装在一辆遇障碍能拐弯的电动玩具车上,即可做成能哈哈大笑的欢笑碰碰车了。
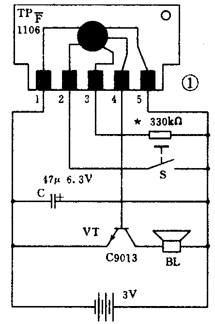
电路采用一块用黑胶封装的笑声集成电路TP—1106F,见图1。其中第一脚为电源负极,第5脚为正极。电路的工作电压为3V,不宜过高,否则易烧毁集成电路。第2脚为触发端,加入一个正脉冲信号,电路就可产生笑声信号。第3脚为振荡输入端,与电源间连接一个电阻构成振荡器。第4脚为输出端,笑声信号由此脚输出。

图1中的S为一晃动开关。当玩具车在运行中遇到障碍而突然减速时,由于惯性,挂起来的金属小球就会撞在B杆上,参见图2。A杆、C杆和B杆均为金属制成,A杆与C杆相通,故每撞击一次,即相当于A杆和B杆接通一次。A杆在电路中接在电源正极,B杆与第2脚连接,所以小球每撞击B杆一次就相当于给第2脚输入一个正脉冲。

当第2脚收到一个正脉冲信号时,TP—1106F被触发工作,第4脚有信号输出,并驱动放大三极管VT使扬声器发出笑声,笑的次数由内部计数器控制。本电路连续笑五声,过后自动关断,等待下一次触发,此时,电路不耗电。第3脚与电源间连接的振荡电阻决定输出音色和速度,取值小时,笑的速度快,似孩童的笑声,取值大时,似老翁的笑声。可根据不同需要选取,范围一般在100kΩ~680kΩ之间。
晃动开关的制做:选取Ф0.6mm左右的铜丝三节,按图2(b)中给出的尺寸和形状制做。C杆的下端应焊上Ф5mm的钢珠或锡球,然后将A杆和B杆相对焊到线路板上,再将C杆上端的勾挂在A杆右端的圆环内,这样球体就可以自由晃动了。调整B杆与小球的距离,使其向前晃动时,能撞在B杆上,晃动开关就做成了。
图3给出的是电路的印板图,全部元件均安装在敷铜面。

电路的安装:一般的玩具车体内均有空隙,选取适当的空间,将电路板水平安装固定好。应注意线路的前后方向,以便晃动开关能正常工作,见图2(a)。电源线接到3V电源上,如车内电压高于3V,可从中选取以供电路使用。扬声器可选用另外的空间,用导线和电路联接。本电路只要焊、装无误,无需调试即可使用。
元器件选择:TP—1106F笑声集成电路,可用笑声不倒翁中的电路HL685代换,只是HL685的面积稍大。扬声器受车体空间的限制应选用2.5英寸以下口径的内(外)磁动圈扬声器。如用微型讯响器,音质会下降,可以在其正面贴上一小块不干胶商标,音质就会改善。其它元件无特殊要求。 (马荣军)