许多小型火力发电厂热工自动化仪表仍采用的是DDZ—Ⅱ型电动单元组合仪表,该系统仪表统一的输入输出信号是0~10mA的标准电流信号,为了保证热控设备的正常、安全、准确、可靠地运行,这些组合仪表的校验、整定、检修便显得非常重要。目前由于全国各大型仪表集团公司已经不成批生产Ⅱ型仪表,当然0~10mA的恒流给定器也就很难购到,厂家定制价钱又很昂贵,为此,可将现有的电动阻尼器通过改造制成能输出0~10mA或者范围更宽的恒流给定器,比如4~20mA的Ⅲ、Ⅳ型等。
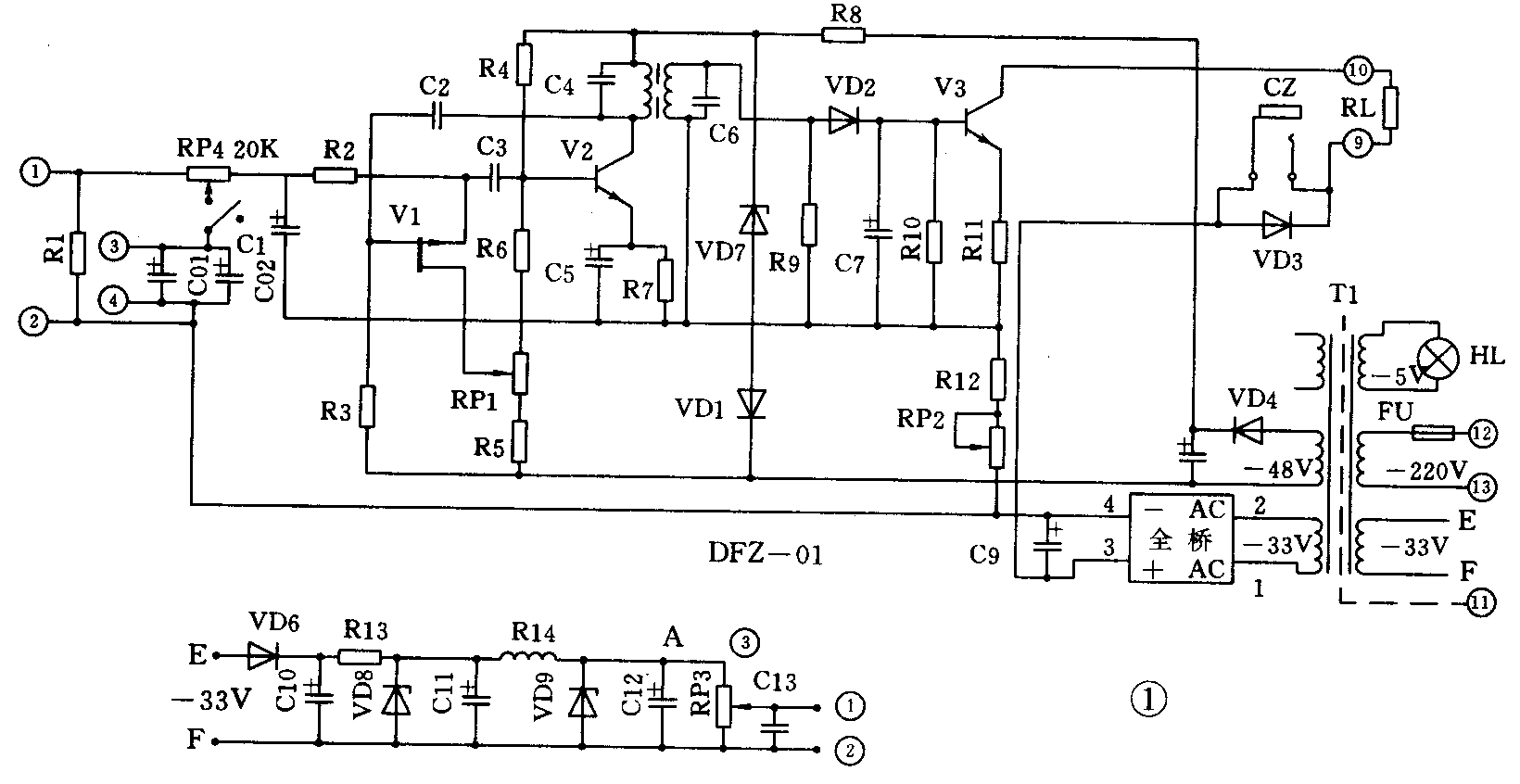
该恒流给定器是由上海调节器厂生产的DFZ-01型电动阻尼器改制而成的。其电原理图和增加部分电路图如图1所示,(其中下面部分是新增电路)。

元器件选择
VD6选用IN4001,构成半波整流电路,R13选用金属膜电阻820Ω/0.5W,R14用阻尼器内拆下的锰铜电阻1.2kΩ/0.5W、VD8选用2CW65、VD9选用2CW61,C10、C11选用330μF/50V电解电容器,C12选用0.1μF/25V的独石电容,电位器RP3选用多圈电位器WXS—11,线性±0.5%/2.7kΩ。
改制步骤
1.将阻尼器内空余绕组交流33V作为该恒流给定器的辅助电源;
2. 拆下原阻尼器输入端锰铜电阻R1,备用;
3.拆下原阻尼器内电容C01、C02;
4.将阻尼器输出端子上③路端子内的接线断掉,备用;
5.按图示电路将增加的元器件除RP3外全部安装在变压器输出焊座上,即可直接焊在变压器输出绕组焊盘上;
6.将电位器RP3的①、②、③三端分别接于原阻尼器的①、②、③号端子上,并在③号端子上焊一根导线至图中A点;
7.在原阻尼器输出端子⑨、⑩号端子上接500Ω/0.5W电阻;
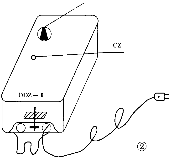
8.分别将RP3、原输出插孔CZ取下并安装于阻尼器外壳适当位置,如图2所示。

9.接上电源线,从下面穿线孔处引出。改制完毕。
调试步骤
1.准备一个ф3.5mm的录音机耳机插头,并接一只数字万用表(如DT930F等)于该输出回路,并置于mA档;
2.将RP3逆时针旋到底,接通电源,调整机内调零电位器,使输出为0mA;
3.顺时针旋转电位器RP3,用万用表测量①、②号端子间电压,当电压达到12V时,调整机内满度电位器,使输出为10mA;
4.反复重作上述2、3步骤,直到合格为止。
本电路采用了两级稳压,提高了对电网的适应能力;锰铜电阻R14用于补偿稳压管的温度漂移,使该恒流给定器输入输出更为稳定;采用多圈线绕电位器RP3是为了增加可调性,即能在很小的范围内都可调整,从而可提高该恒流给定器的分辨力,提高精度;C13用于抗尖峰干扰和抗电位器调整时产生的高频干扰。
经实际测试该恒流给定器的稳定性可达±0.001mA,负载0~1.5kΩ变化时恒流输出变化优于±0.5%。
适当改变参数便可制成能输出4~20mA的恒流给定器。
机械、纺织、化工等行业也广泛采用Ⅱ、Ⅲ、Ⅳ型等自动化仪表,改造制作该恒流给定器也有明显的经济价值和实用价值。 (万兵)