随着国民经济的发展,居民用电越来越广泛。然而,窃电现象也随之出现。而且,其手段也越来越“高明”。这使国家和集体蒙受一定的损失。
目前,常见的窃电方法有:一“火”一“地”、将电能表的电流接线短路(如图1中将1、3点短路)、电压连接片(钩)断开、电能表接线反接使表倒转、使线路中只有一根线进入电能表。等等。

以前,市场上也曾出现过一些防窃电装置,但大多是“昙花”一现,而且都或多或少存在一些致命的缺陷。例如:防窃电装置与电能表分离;防止窃电功能不全;操作不方便;判断、计量不准确,等等。以致供电部门、电管部门不能接受。
在这里,我们主要向大家介绍一种新式的防止窃电的电能表。该防窃电装置由于采用了小型化、集成化的电子元器件、86系列电能表、以及一些新技术,从而使防止窃电电能表一体化成为可能。该防窃电电能表不仅可以制成单相防窃电电能表,还可以制成三相防窃电电能表。因此,该产品的电能计量装置可以采用DD862型、DD8620型单相电能表,DS862型DS8620型三相三线有功电能表,DT862型、DT8620型三相四线有功电能表。而防止窃电装置安装在电能表的有效空间内。所以,从外表来看几乎与原来的电能表一样。为了便于区分,则可以在标牌上安置一个窃电指示灯。
下面,简单介绍防止窃电装置的工作原理。图1是单相防窃电电能表方框图。从图1中可以看出它的工作原理:首先,从表内线路上取样,也就是说,分别从表内“火线”、“回线”中取工作电流。然后,把两条线的工作电流送入比较器进行比较、判别。经判别后的差值信号进行整流后(或不整流)进行电流——电压转换。转换后的电压直接控制控制器。使控制器工作。继电器控制用户的供、断电,而继电器的电源来自电网经整流分压后获得。其放大部分视比较后电流差值,以及灵敏的程度而定。
换句话来说,如果用户一有窃电现象,则“火”、“回”线流进流出的电流就不等,防止窃电装置就立即工作,同时立即切断电路,从而使用户无法用电。当用户不窃电要恢复供电时,可利用复位开关控制。复位开关可根据电管部门需要,有自动和手动复位两种。
图2、图3是三相四线、三相三线防止窃电原理方框图。其工作原理与单相防止窃电电能表类似。只是在每一条供电线路中(表内)增加一个取样器。


在生产防窃电电能表时,可以把它分成电能表表芯和防止窃电装置两大部分。最后把这两部分的合格品组合起来即可。组合时,还要把电压进线直接接入表内电流进线上。如图1、图2、图3所示。最后罩上罩壳、模拟运行检查合格即可。
在这里,需要说明的是:防止窃电电能表与漏电保护器是不同的。也就是说,该装置不起触电保护作用。
对于电路中的主要参数的选择。我们认为:
防止窃电装置的起动电流应根据用户的实际情况而定。通常,窃电者所用负载不会少于60W。因此,防窃电装置工作起动电流选择在0.25A较为合适。这0.25A是取样比较的差值。如果选择的起动电流太大,则会让窃电者钻空子;如果选择的起动电流太小,则容易产生误判。其误判的可能来自于线路老化、家用电器接地等原因产生的漏电,造成防窃电装置误动作。
另外,在防窃电装置上还可以增加一个过压保护功能。这是因为电网中有时因误接线或其他意外原因造成过电压现象,这种过电压现象会直接危害用户、危害家电,甚至会给家庭财产造成不必要的损失。因此,在电路中设置了一只压敏电阻。压敏电阻的作用是:电阻两端电压小于一个定值时,则压敏电阻阻值很大,几乎可以看成开路;当电阻两端电压超过一个定值时,则压敏电阻阻值几乎为零,这可以视电阻短路。
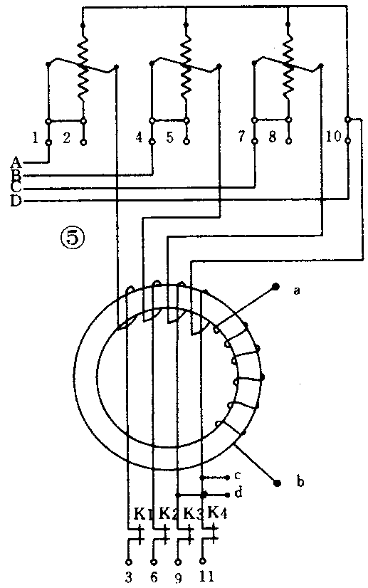
下面,我们把一种典型电路推荐给大家,仅供参考。如图4、图5、图6所示。在图4中,标号1、2、3、4、5均为电能表端钮盒接线标号。改变R*2可以调节装置的起动电流。RMG为压敏电阻,一般取400V。ZJ为继电器,它的控制电压常用24V(直流)。3CT1为可控硅。对于三相四线、三相三线防止窃电电能表,只要把所有相、线都通过取样比较器即可。其继电器所用电源任取两线或一相作为输入。在这里,只不过把取样、比较合在一起罢了。一般取样、比较器的铁芯材料采用铍莫合金。对于三相防窃电电能表,由于窃电时一般负载都超过100W,我们认为起动电流应选择0.45A,同时可以取消放大电路;此外,过压保护装置(压敏电阻)可以不用,这是因为动力线一般不会出现过压现象。 (李冠群 孙学东 吴喜林)


