任天堂系列游戏机的声像远超过一般的微型计算机,从1983年推出至今一直畅销不衰,目前在我国已成为家用游戏机的主流。为了降低用户在软件上的费用,进一步扩展其功能,使之能辅助青少年的外语、语文、数字等各类学科的学习,像“普里奇声像学习卡”、“裕兴万用游戏卡”、“活性游戏卡”等应运而生。这些卡的共同特点是可以使用价格低廉的磁带软件,从而受到用户的欢迎。
但是这类磁带软件一般用户无法录制,因用双卡录音机复制这些软件通常是无效的。磁带软件在制作时,电脑在程序的控制下送到录音机的是一些幅度相等、宽带一定的标准脉冲信号,由于录音机带速的变化、磁带性能的不一致性等多种原因从而造成这些磁带软件在使用时输出的波形幅度与对称性均发生了比较严重的畸变,故复制无效。
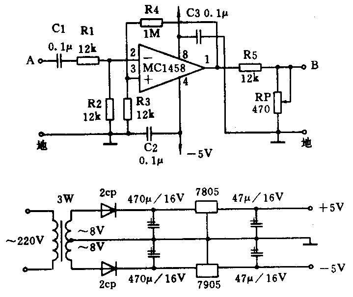
针对上述问题笔者参考有关资料设计了如图所示的复制接口电路。图中主要使用运算放大器MC1458构成一个过零检测器,用来对畸变的波形进行判别与整形,使之尽可能地恢复成标准的脉冲信号再送往录音机录制存带。这样便可以得到一盒与原版磁带一样的磁带软件,以便备份。

复制时用两只性能比较一致的单声道录音机。原版磁带装入一台录音机放音,其输出的电信号送到接口电路的A点与“地”,从接口的“B”点与“地”引出电信号送到另一台录音机的话筒输入插孔以录制存带。笔者用上述复制接口,成功复制了任何计算机与游戏机上使用的磁带软件,给使用者带来了极大的方便。
电路中的元器件均为定值,无需调整。使用时只要调节RP以适应不同型号录音机的录音电平。通常只要调整到100Ω左右即可。接口电路的±5V电源可以选用市售标准电源。如果手头有元器件,也可参照图中给出的±5V电源制作。 (周文齐)