本文向读者介绍一种由中山市达华电子厂生产的微型防暴报警器,型号为TWH9339。该产品体积小巧,重量仅54克,外形酷似“BP”机,后盖上装有弹力挂夹,可方便地卡在腰带上使用。这种防暴报警器由于采用了变调式警号音源电路以及最佳设计的助声谐振腔,其声级高达119dB,所以一但报警,其警号声特别引人注意,很适合单身外出人员或是自卫能力弱的人携带使用。若有歹徒行劫或是遇到危险时,拨通腰间的报警器开关,突如其来的高响度警号声将对歹徒产生威慑作用。同时由于警号声响浩大而又奇特,将会引起周围行人的注意和关心。更为重要的是使临近公安巡警赶赴现场捉拿歹徒。
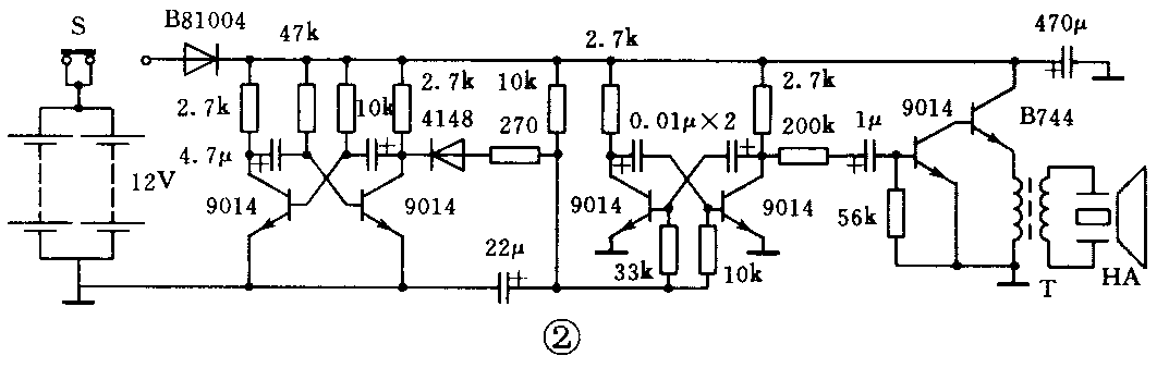
微型防暴报警器的外型尺寸见图1,其内部电路见图2。由图可见,电路由两个多谐振荡器及功放电路,高响度喇叭等组成。前级的振荡频率约2Hz,去调制后级约1.7kHz的音频电路经末级功率放大后推动升压变压器工作。升压变压器采用高效率的铁氧体磁芯绕制,次级输出峰值电压超过100V,在12V电源条件下,实测响度声级≥119dB,工作时电流约120mA。


在制作时,铁氧体磁芯可选用E16×5×2mm的,也可用其它磁环或磁罐绕制,初级用0.23漆包线绕80匝,次级用0.11线绕900匝。另外末级功放管应选耐压大于60V,电流大于2.5A的大功率三极管。若耐压不够时,变压器上的反电动势与电源相迭加后容易击穿管子,电流容量不足时,饱和压降将增大,转换效率降低,造成声小、发热甚至烧毁功放管。该机采用两节A23型12V电池并联后向机心供电,用以减小电池内阻提高报警响度。
使用时要注意的是,该报警器的声响为警号声,又由于响度极大,不宜无故在公共场所开启警报,也不要让小孩随意玩弄。在出门携带时,可预先在家中试音,若声响明显减小,应及时更换电池。(蔡凡弟)