电子小兔是一种具有电子机心的玩具,它的电路中包含有两级多谐振荡器和一级射极跟随器。本期基础训练,就是要通过电子小兔的制作实践,使大家熟悉多谐振荡器和射极跟随器的基本原理,学会调试多谐振荡器和射极跟随器的基本方法,掌握给现有玩具增加电子机心的改装技巧。
一、工作原理
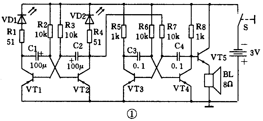
电子小兔的电原理图如图1所示。晶体管VT1、VT2及其周围元器件组成第一个多谐振荡器。晶体管VT3、VT4等组成第二个多谐振荡器。射极跟随器VT5的作用是将扬声器BL的低阻抗(8Ω)变换成高阻抗,以适应前级输出端(VT4集电极)对负载阻抗的要求。

射极跟随器对交流而言,电源相当于短路,晶体管集电极是接地的,因此这是一个共集电极电路,它的输出电压取自发射极,输出电压与输入电压相位相同、幅度也大致相同,所以叫做射极跟随器。它具有两个显著特点:①输入电阻很高;②输出电阻很低。
输入电阻Ri是指从电路输入端看进去的电阻,它等于输入电压Ui与输入电流Ib之比,即Ri=Ui/Ib。由于射极输出器的强负反馈作用,输出电压Uo全部反馈到输入回路,抵消了绝大部分输入电压Ui,只有很小一点Ui加到了晶体管VT的基—射极间,所以Ib很小,相当于输入端有一个很大的输入电阻Ri。因为Ube很小,忽略不计,则Ui≈Uo=IeRe,所以Ri≈IeRe/Ib=(1+β)Re≈βRe,输入电阻Ri比发射极电阻Re大β倍。如果晶体管放大倍数β=100,发射极电阻Re=1kΩ,则Ri=100×1=100kΩ,可见,射极输出器的输入电阻是很高的。
输出电阻Ro是指从电路输出端看进去的电阻,请注意,输出电阻Ro并不等于发射极电阻Re,它等于由于负载变化引起的输出电压变化量△Uo与输出电流变化量△Ie之比,即Ro=△Uo/△Ie。忽略Ube极小的变化量,根据Uo≈Ui,可以得出△Uo≈△Ui=△IbRx,式中Rx是信号源内阻,所以Ro≈△IbRx/△Ie=Rx/(1+β)≈Rx/β,输出电阻Ro仅为信号源内阻Rx的1/β。这个特性也是由于电路的强负反馈作用,当负载变化引起输出电压Uo下降(或上升)时,输入电压Ui被负反馈抵消的部分也随之减少(或增大),使得Uo上升(或下降),最终保持Uo基本不变,这就意味着射极输出器的输出电阻是很小的,一般仅为几十欧姆。射极跟随器的主要作用是阻抗变换和匹配。
综上所述,当接通电源后,第一多谐振荡器起振,VT1、VT2轮流导通,使VD1、VD2轮流闪亮。在VT1截止、VT2导通期间,第二多谐振荡器因VT3基极经R7被接地而停振,扬声器无声。在VT1导通、VT2截止期间,第二多谐振荡器起振,输出700Hz音频信号经射极跟随器VT5使扬声器发声。
二、制作
(1)元器件选用:
晶体管选用3AX31等PNP型锗管,要求:VT1、VT2的β=90~120,VT3~VT5的β=60~100,并且VT1与VT2、VT3与VT4要配对,即β值要一致。VD1、VD2选用φ3mm或φ5mm的圆形红色发光二极管,颜色也可根据爱好另选。BL选用φ40mm超薄型扬声器。S选用超小型钮子开关。阻容元件均选用小型的,无特殊要求。
(2)印制电路板的制作:①取一块4.5×7.5cm\(^{2}\)的敷铜板,按图2刻制成电路板,并打好4个电池卡安装孔。②制作电池卡:用0.5mm厚的弹性铜片剪成图3a的形状,共剪4片,并在其一端打一个安装孔。然后将弹性铜片放在一块橡皮上,在其虚线圆圈的中心位置放一颗φ5mm左右的自行车钢珠,用锤子敲击一下钢珠,使弹性铜片形成一个向下的圆凹(图3b)。再沿虚线将其折弯成直角状,注意必须是两片为图3c形状,两片为图3d形状。③用φ2mm的空心铆钉将电池卡铆固在电路板上(铜箔面),两个处用图3c形状的,两个处用图3d形状的。


(3)焊接:①按图2所示将晶体管和阻容元件直接焊在电路板铜箔面。②将电池卡与它下面的铜箔焊牢在一起,以防使用日久接触不良。③用软导线将发光二极管、扬声器、开关接入电路板。④在两对电池卡中间贴上一层绝缘胶带,把铜箔等导电部分覆盖起来;电路板背面的4个铆钉头也同样用绝缘胶带贴起来,以防短路。
三、调试
本电路只要元器件良好,焊接无误,一般不需调试。接通电源,两个发光二极管轮流闪亮,扬声器发出“嘟、嘟……”的叫声,则说明电路已正常工作。
如果两个发光二极管固定为一个亮一个不亮,或两个都亮,或两个都不亮,均说明第一多振荡器工作不正常。如果两个发光二极管正常地轮流闪亮,而扬声器无声,则说明第二多谐振荡器工作不正常。应分别检测调试。
(1)多谐振荡器的调试:
用万用表“10V-”档测量两个晶体管的集电极电压Uc1和Uc2:①如果Uc1和Uc2都接近为0V,说明两管同时导通造成停振,应换用β值较小的晶体管,或者适当增大基极电阻Rb1和Rb2的阻值,为保持振荡周期不变,Rb1和Rb2增大多少倍,Cb1和Cb2也要相应地减小多少倍。②如果Uc1和Uc2都接近为-Ec,说明两管同时截止造成停振,原因有两方面,一是晶体管β值太小,应换用β值较大的管子,或者适当减小Rb1和Rb2,并相应增大Cb1和Cb2。二是晶体管损坏或管脚搞错。③如果Uc1和Uc2固定为一个0V,一个-Ec,说明处于一管导通一管截止的停振状态,可将截止管的基极电容断开再测,例如:测得Uc1=0V,Uc2=-Ec,将Cb2从电路中焊开,这时如Uc2变为0V,则说明Cb2已击穿损坏或严重漏电;如Uc2仍为-Ec,则说明VT2管β值太小或已损坏;更换元件后即可正常。
以上介绍的是一般调试方法。在调试图1电路中第一多谐振荡器时,应注意如果发光二极管损坏也会造成停振;由于发光二极管有较大的管压降,晶体管截止时的集电极电压在数值上比电源电压小。在调试第二多谐振荡器时,应先将R7直接接-Ec,待电路正常起振后再接至VT2集电极调试。
(2)射极跟随器的调试:
图1中,当多谐振荡器调试好后,将VT5基极连至VT4集电极,如无声,则是VT5管或扬声器损坏;如声音很小,则是管子β值太小或集、射极搞颠倒了,换管或正确焊接后即可解决。
四、组装
(1)买一只适当大小的软塑玩具小兔,将其底部中间剪下,底部原有的发声哨子去掉,并在其两眼珠处各开一个与发光二极管直径相同的圆孔(图4a)。

(2)用胶将扬声器背面与电路板光面粘在一起(图4b)。
(3)将两个发光二极管放入玩具小兔头部,并从两眼孔中伸出一点,再用泡沫塑料或腈纶棉等松软质填充物将头部内空间填满(图4c)。
(4)在小兔尾部开一孔,将开关固定好,开关柄伸出到外面(图4c)。
(5)在电路板上安装好两节五号电池,将电路板轻轻放入小兔体内,扬声器朝前,用松软质填充物将电路板后面的空间填满,使电路板在里面不致过度晃动即可(图4c),塞填充物时注意别把发光二极管和开关的引线弄断。最后将小兔底部剪下的那一块放回原处,并用胶带纸粘牢,整个制作就全面完成了。图4d是外形图,当您拨动电子小兔的尾巴(即打开开关),它便会边眨眼边发出“嘟、嘟……”的叫声,很是逗人喜爱,更是送给孩子们的好礼物。(文江)