本报警器电路极其简单,元件易购、实用性较强。特别适合青少年电子爱好者自制。
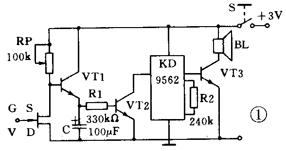
电路由KD9562八音报警集成块和少量的电子元器件构成。其电原理图如图1所示。

报警音源片KD9562是软封装的八音集成块。它的选声端采用负触发形式,共有八种声音可供选择。使用时可任选一种。
晶体管VT2的集电极与选声端相接,平时VT2截止,选声端没有触发电流,扬声器不发声报警。
场效应管V的源极和漏极之间的体电阻R\(_{SD}\)与电位器RP分压对晶体管VT1基极进行偏置。场效应管源、漏间的电阻在栅极没有输入信号的情况下很小,因而VT1基极电压很低,VT1呈截止状态。
当场效应管的栅极感应到电场信号后,其源、漏极电阻R\(_{SD}\)迅速上升至几百千欧以上,因此VT1基极电压升高,VT1导通,其导通电流Ie对电容器C充电,使VT1射极电压上升。当这电压上升到一定程度后,VT2开始导通,KD9562被触发工作,扬声器发生报警。报警延时时间由电容器C的容量和电阻R1的值来决定。按图中数据,延时最长可达2分钟。
电路中的VT1、VT2用9014型管,β≥150。VT3用9013型管,β≥100。也可用相近型号的管子。场效应管选用3DJ6或3DJ7型结型场效应管。

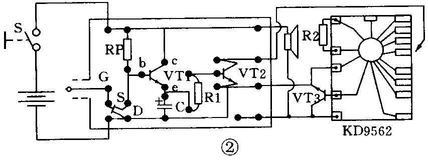
图2是印制板图。安装KD9562时,可在其相应位置焊上四根导线充当管脚,然后插入印板的四个孔中焊牢即可。场效应管应在所有元件都安装完毕后,将烙铁断电用余热焊接。为了使用方便可将栅极用0.5米左右的屏蔽线引出,并在感应端焊上一锷鱼夹或面积约20cm\(^{2}\)的金属板。将整个装置放入自制小盒中,调节电位器RP可使其灵敏度改变。本装置最高可调到人体距离探头位置1.5米左右报警。使用时可把本装置放在贵重物品周围或门锁附近,这时当有人靠近时即能报警。(王凤稳)