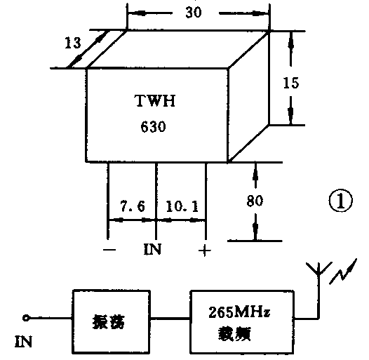
本文向读者介绍新型无线遥控传输电路,它由内藏天线的发射机电路和内藏天线的接收机电路组成。发射机电路型号为TWH630,接收机电路型号为TWH631。上述两种电路的外形、管脚排列及内部方框图分别见图1、图2。发射电路只有三个引线脚,分别为电源正、负板及一个信号输入端。接收电路有四条引线脚,除正负极外,OUT为信号输出端,TP为测试端。通过它可方便地从示波器观察接收信号的编码方波信号。


采用TWH630/631发射接收电路,能方便地制作各种无线电遥控装置,具有微型化、传输距离远、无需调试、耗电省、抗干扰能力强等特点,主要由参数见表1及表2。下面介绍几种实用电路供读者参考。


典型控制电路:见图3。当按一下开关S时,TWH630内部载频电路开始工作,通过内藏天线向空间辐射VHF信号,接收电路TWH631收到同频信号时;OUT端输出电压短时间由高变低,VD闪烁熄灭一下。此电路因未加调制信号,只能在数米内作简单的控制,也可作为对遥控传输电路简单的测试,衡量此电路的好坏。

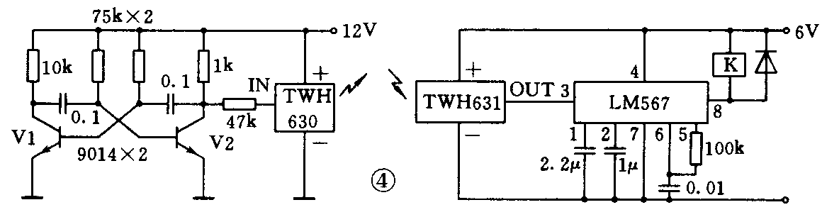
遥控单稳态电路:这种电路又称非锁存电路。它的单稳时间取决于发射机按键S的接通时间,见图4。V1、V2组成约1kHz的方波振荡器,调制TWH630载频电路。TWH631接收到指令信号并放大后送入LM567译码,⑧脚由高电平变为低电平,继电器吸合。当松开S时,⑧脚电平复位,继电器释放。这种电路适用于脉冲触发电路或短时间工作的控制装置,如遥控门铃,高级电动玩具、电闸门、电磁锁等。

遥控双稳态电路:见图5,TWH630构成的265MHz载频电路受555方波发生器的调制,键控式向空间发射指令信号。当TWH631接收后,送入SL517作进一步放大,由13脚输出,经C2、C3耦合至内部双稳态触发器,使其翻转,8脚输出低电平,继电器吸合。当再次按动发射按键时,SL517内部触发器又翻转,继电器释放。这种电路适合在开与关电路中使用:如控制电灯、电饭煲等家用电器。

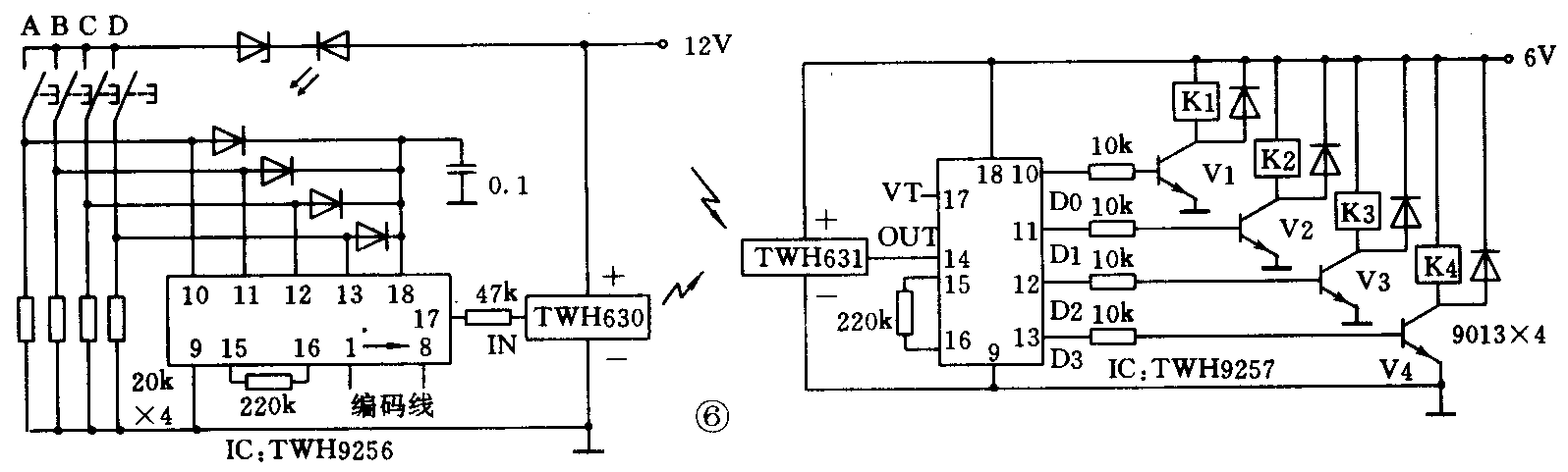
多路编码遥控锁存输出电路:见图6,发射机采用了TWH9256编码器作脉冲数码调制。它有八位四态地址编码,其编码数高达32万组,大大地加强了指令信息的保密性,且具有四位数据输入,增加了遥控信息的容量。发射机按键A、B、C、D分别对应接收机解码器TWH9257的D0、D1、D2、D3数据输出端,当按下A键时,TWH631收到编码信号后,经内部解调放大整形后由OUT端输出,经TWH9257进行解码处理,若编码指令信息与TWH9257所设定的数码一致时,解码有效端VT与对应的数据输出端D0均输出高电平,V1导通,继电器吸合,松开A键时,VT端恢复低电平,但D0端自锁,继电器仍保持吸合,称为锁存。凡被按下的键,所对应的继电器吸合,本电路的四路输出,可分别控制四路电器单独或者同时工作。可以从“四选一”到“四选四”锁存输出选择。这种电路适合作电视、收录机、电灯、风扇等电器的综合控制。

图7是另一种锁存输出形式的电路。发射电路同图5。在接收电路解码的输出端增加两片双D触发器CD4013后,便可方便地操作发射指令按键。每按一次按键,对应的继电器吸合,再按一次时对应的继电器即释放,电路中TWH9256/TWH9257编码电路的控制方式属于8421码,这种码具有再编码作扩展用。因此,如需控制更多路输出时,可在解码器与触发器之间加入四线——十六线译码器或模拟开关电路。此时,控制位数可达16位。请参考本刊今年第二期有关文章介绍,此处不再赘述。

取代红外遥控电路,一般红外线遥控距离只有5~7米左右,用TWH630代替红外发射管,TWH631取代红外接收部分,既保持了原电路的功能,又增加了控制范围,不受室内墙壁、书柜之类的阻隔和方向限制。图8是TWH630代替红外发射管,TWH631取代红外接收电路作电视机遥控器的实际应用。

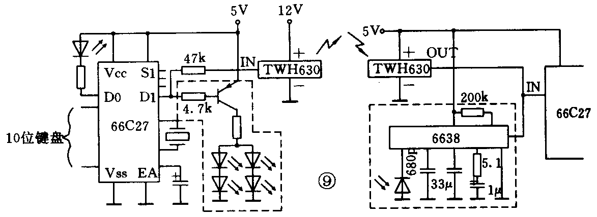
游戏机无线遥控操纵电路:见图9,遥控手柄功能指令经66C27微处理器处理后,调制TWH630在空间幅射指令信号,TWH631接收,解调出指令信号后进入微处理器进行指令信息处理,控制游戏机工作。图中虚线框内为原机发射、接收部分。

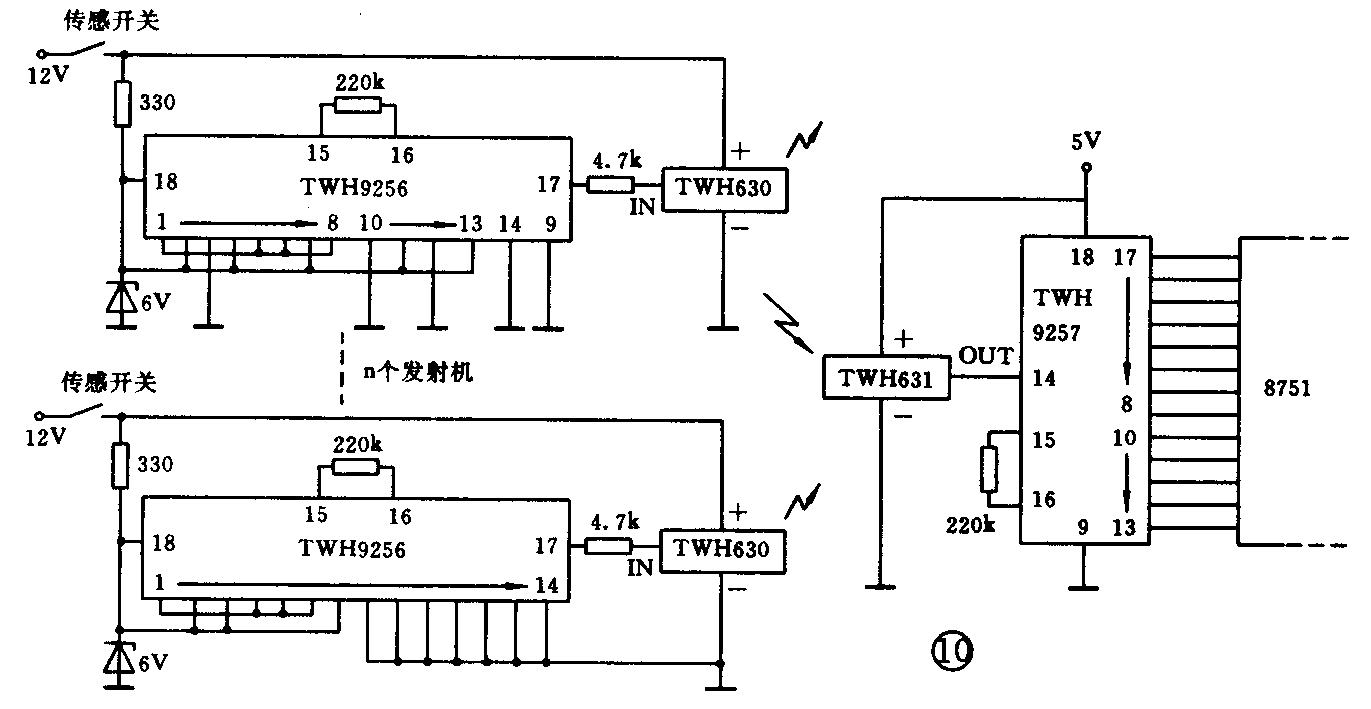
多功能无线监控系统:监控系统采用多点监测,中央接收控制,见图10。发射机开关采用传感开关,可以是被动式热释红外线输出开关、雷达与超声波控制输出开关、工业上的液压、水压开关,也可以是紧急求救的手动开关。传感开关一旦闭合,发射机便向中央控制台发出信息。发射机群的每一个TWH9256分别设置不同的地址编码,接收机中TWH9257解码器的地址电平状态由单片机扫描设置,从而实现对多目标的监控。这种电路适用于工业自动监测控制、防盗系统以及仓库等场合。

使用注意事项:
(一)发射机与接收机必须配套使用,它们的编号必须相同,发射机可以同编号相同的多个接收机配合使用,接收机也可用编号相同的多个发射机配套使用。
(二)发射机及接收机不能安装在金属壳体内,以免因屏敝使遥控距离过近或失去遥控功能,特别是接收电路,安装时应远离稍大的金属物。如安装场合确无法避开金属物,应另选用TWH632外接天线式的接收电路。
(三)TP端一般无需接入电路,仅供在调整接收频率,检验发射、接收机时,配合示波器观察编码脉冲波形用。
TWH630/TWH631以其微型化、耗电省、远距离控制功能,方便地取代旧式红外线,超声波发射及接收头,接线简单。可以说,凡是需要远距离操作,而且是“无线”连接的电路,都可以使用。(蔡凡弟)