本文介绍的是一种配置在交通工具内的报站器,与其它的报站器相比有:车站指示清楚,且沿途所有站台一目了然,乘客可随时了解自己目前所处的地理位置等特点,给乘客,尤其是不熟悉线路的外地乘客带来了很大的方便。这是其它报站器所不具备的。
本机由显示牌和控制器两部分组成。显示牌:现以阿拉伯数字代表车站名:如图1所示。图中表示行驶的方向;表示前方所到站;·:为发光二极管;1号车站对应发光管VD1;2号车站对应VD2;……18号车站对应VD18。

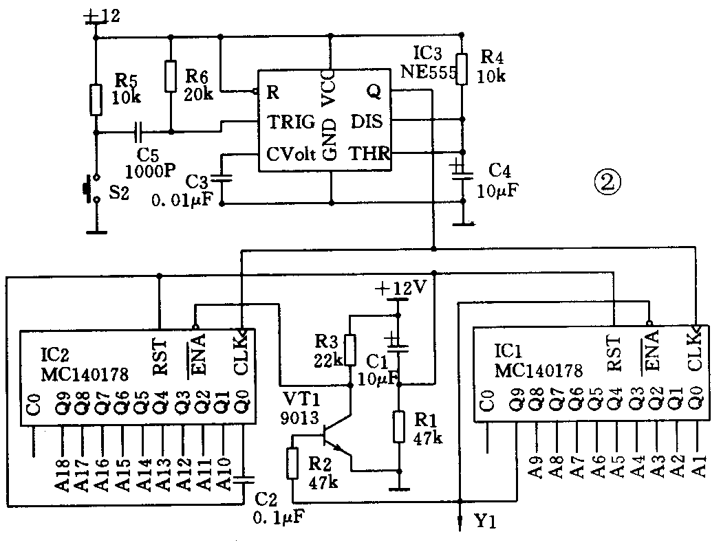
图2中,由一片NE555 IC3构成单稳态防抖动电路,它为IC1、IC2提供可靠的时钟信号,由两片MC14017B十进制计数器IC1、IC2构成十八进制计数器。
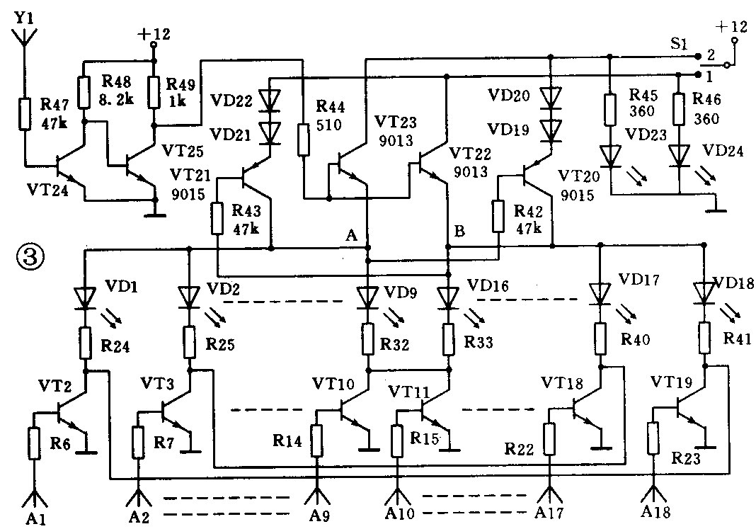
图3中由VT2~VT19和VD1~VD18等构成驱动显示电路,由VT20~VT25构成来去往返转换电路。
首先介绍十八进制计数器的工作原理。在接通电源瞬间,由R1、C1组成开机清零,使IC1、IC2的Q0为高电平。IC1的Q9为低电平,三极管VT1截止,IC1的ENA-为低电平,IC2的ENA-为高电平,因此时钟信号只能使IC1计数。当IC1计数到Q9为高电平时,IC1ENA-由低变高,IC1停止计数,三极管VT1导通,IC2ENA-由高变低,IC2开始计数。当计数完毕,由IC2内电路置零使IC2的Q0输出高电平,经C2、R1产生微分脉冲加至IC1清零端RST,使IC1同时清零。这样就构成了从A1~A18递进的十八位计数器。
下面介绍整机工作原理:开机复位,将转换开关S1置于1,这时A1(IC1的Q0)为1,A2~A18均为零,VT2导通。由于此时Y1(IC1的Q9)为零,VT24截止,VT25导通,VT22截止,B点为低电平,VT21导通,A点为高电平,VD1~VD18中VD1点亮。S2开关按下一次,十八位计数器计数一次,A1~A18除A2为1,其余为零,VD1、VD17中VD2点亮。同理,S2每按下一次,十八位计数器就计数一次,由VD1→VD9依次点亮。当Y1为1时,VT24导通,VT25截止,VT22导通,B点由低变高,VT21截止,A点由高变低,当A1→A18依次变高时,VD10→VD18依次点亮,而VD1→VD9不亮。这样就完成了S2每按下一次,由VD1→VD18依次点亮的过程。
同理,将转换开关S1置于2,开机复位。A1为1,VT2导通,Y1为零,VT24截止,VT25导通,VT23截止,A为低电平,VT20导通,B为高电平。VD1~VD18中VD18点亮。当A2为1时,VT3导通,VD2~VD17中VD17点亮;A3为1,VT4导通,VD3、VD16点亮,这样就完成了AI→A18依次变高,而发光二极管则由VD18→VD1逆点亮的转换。综上所述,不难看出,当S1置于1,发光管由VD1→VD18依次点亮,当S2置于2,发光管则由VD18→VD1逐一逆点亮。这就完全实现往返车站的显示。
二、元器件选择:IC1、IC2选用摩托罗拉的MC14017B;IC3用NE555;三极管除VT20、VT21外,其余均为9013,要求β≥100;VT20、VT21为8550,要求漏电流小,β≥100。电阻R6~R23为10k/0.125W;R24~R41为360Ω/0.5W;发光二极管VD1~VD18均为Φ8、红色;VD19~VD22为1N4004,其作用是保证VT20、VT21可靠的截止;发光二极管VD23、VD24的作用是往返指示,为Φ8、绿色,其余元器件参数均见图3,无特殊要求。印制板图见图4、图5。


三、机器的使用:整机只有两个操作开关,所以使用非常方便。S1是往返选择开关,S2是报站按键。S1选往时(置1),这时显示牌指示起始站(1号站),车辆开出后,乘务员按一下S2按键,显示牌指示出下一个所到站名(2号站)。同理,每到一站后,乘务员只要按一下S2键,显示牌即可指示出下一站名。车辆返回时,只要将S1选返(置2)即可,其余操作仍不变。
本机是一个具有十八个车站的报站器,站数的增减完全可以以此类推,这里不再赘述。值得一提的是:本机不仅可以用于公共汽车电车的报站,也可作为火车,轮船等交通工具内的报站辅助设备。(孙培勇 颜知安)

