有线对讲电话基本上由一个主机和一个副机组成。这种电话的电路虽然简单,但因电源开关受主机控制,当电源开关断开时,副机便不能主动地向主机呼叫。本文介绍的可双向呼叫的有线对讲电话仍为主副机结构,连线也只有一对。但主副机均可直接呼叫对方。元器件增加不多,却能达到事半功倍的效果。
一、电路工作原理

图1是可以向呼叫的有线对讲电话的电原理图。电路的核心是一块LM324集成电路,其外形图和功能图见图2。LM324集成电路内含四个运算放大器,参见图1中的N1~N4。集成电路与外围元件配合就构成了这个有线对讲电话。电路中的开关SB、扬声器BL2和电容C7为副机部分,其余全部元器件及电池在主机中,虚线是主机与副机间的连线。

当电路中的开关S1B处于图1所示位置时,对讲电话处于等待状态。此时电源没有直流通路,对讲电话不工作,也不耗电。电路中运算放大器N1与电阻R1、R2正反馈电容C1构成了音频振荡器。电路的第二级由N2构成反相电压放大器,它的电压放大倍数由电阻R4与R3的比值决定。第三级是功率输出级,由于LM324不是功率放大电路,它的输出功率较小,所以电路将两个运算放大器N3和N4并联,增加它的输出功率。这两个运放都接成了跟随器的形式,即反相输入端直接接到输出端上。虽然这种形式的电路没有电压增益,但却有一定的电流增益。同时这种电路有很低的输出阻抗与负载扬声器相匹配。
对讲电话处于等待状态时,如果副机要呼叫主机,只要按下副机上的开关SB,那么电源负极将通过开关S1b、导线、开关SB、扬声器BL2及另一根导线接到主机电路的正极上,使主机得到电源。由于运放N1处于音频振荡器的状态,扬声器BL1可以发出“嘟——”的叫声,呼叫主机来通话。主机一方听到呼叫后,将电源开关S1拨到左边“开”的位置,电源负极被接到主电路上,同时S1a将振荡器的反馈电容C1断开,扬声器停止鸣叫,即可通话。这时的运算放大器N1构成一个同相放大器,这种放大器有较高的输入阻抗。此时副机一方对着扬声器BL2说话,音频信号通过收发开关S2,经过小变压器送到N1的输入端。变压器起了一个阻抗变换的作用,使很低的扬声器阻抗与较高的运放输入阻抗相匹配。这时主机扬声器BL1通过开关S2接在放大器的输出端,可以听到副机一方的讲话。
若主机一方要发话,只需将收发开关S2拨到左边。这时开关S2将副机扬声器接到输出端,而将主机场声器BL1接在了输入端上作为发话话筒。这就是开关S2的作用。因此对讲电话是处于单工通话方式,每一时刻只能有一方讲话,一方收听。
在等待状态下,如果主机一方要呼叫副机一方,只需打开电源开关S1,直接对着扬声器呼叫。
运算放大器通常要使用正负电源,而我们这里只使用了一组6V电源,所以由电阻R6、R7及电容C5、C6组成了一个中点电压,给各级运算放大器的输入端提供了一个偏置电压。集成电路LM324的第4脚接电源正极,第11脚接电源负极,这两点在图1的电原理图中没有专门画出。发光二极管为电源指示,电阻R8是限流电阻,电容C7是隔直流电容。
二、无器件的选择
集成电路除LM324外,还可以用5G6324等直接代用。电阻全部为1/8W碳膜电阻。电解电容的耐压为6.3V。电源开关S1是2×2小型拨动开关;收发开关S2也可用2×2小。型拨动开关,如果能用2×2按钮开关就更方便了。SB是1×1按钮开关。变压器采用的是晶体管收音机用的小型输出变压器。扬声器是阻抗8Ω的21/4寸外磁式扬声器。
三、安装与调试
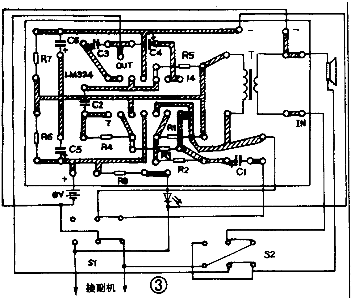
图3是60×35mm\(^{2}\)的印制板安装图。主机中除扬声器、开关及发光二极管外,其余元器件均焊在电路板上。输出变压器的次级接扬声器,初级接运放的输入端。如果输出变压器的初级有三个头,那么中间抽头空着不用。

主机的两只开关用导线与电路板相接,要仔细对照图1和图3所示的开关位置进行连接。
对讲电话的主机装在一个内径为170×60×20(mm)的木盒中。木盆可以用三合板制作,见图4。木盒的下部并排装着四节五号电池,电池的正负极接点用敷铜板做成,负极端均焊有一个小弹簧。电路板、电源开关、收发开关、发光二极管及扬声器的安装可参考图4。

对讲电话副机内只有一个扬声器,一个电容和一个按钮开关。直接连线焊接,不需电路板。由于电容C7是一只有极性的电解电容,所以副机与主机连接时应分清极性,不要接错。
只要元器件良好,焊接正确可靠,电路不用调整就可工作。
通过这个制作,初学者可能对运算放大器有一定的了解,加深对电子制作的兴趣。(周海)