JGG高灵敏固态继电器(以下简称JGG),它的工作原理与本刊94年第一期介绍的“JYGW无源固态液位控制继电器”基本相同,本文不再复述。它与一般固态继电器相比较有以下特点:(1)具有很高的输入阻抗,可达到(10\(^{6}\)Ω),(2)具有很低的驱动电流(1μA),(3)具有极宽的驱动电压范围(1V~150V),(4)输入控制端可不需外加电信号,直接采用无源敏感元件(如可变电阻、光敏、热敏、湿敏等传感器),无源敏感元件电阻的变化便可控制输出交流大功率负载的通、断。控制简便,操作安全。总之,JGG能被低功率电路直接驱动,内部具有隔离装置且抗干扰能力强,可靠性高等特点,比一般高灵敏电磁继电器更为优越,工作可靠。JGG的控制灵敏度及功率增益(100~300dB)已达到较高水平。
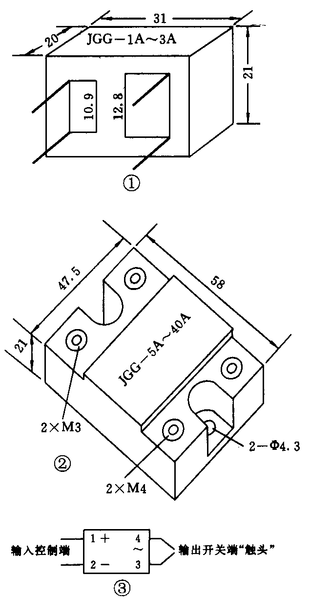
外形及引脚功能
JGG与现有固态继电器一样同属于四端器件。图1为电流1~3A的JGG的外形图。图2为电流5A~40A JGG的外形图。图3为JGG的电路符号,在该图上已标明了各引脚的功能名称。

JGG的输出开关端“触头”分常闭型(B)和常开型(K),所谓常闭型(B)是指在输入控制端1、2脚输入低电平“0”时,输出开关端3、4“触头”接通,负载得电开始工作;1.2端为高电平“1”时,输出开关端3、4断开,负载失电停止工作;反之则为常开型。图4a、b为常闭型(B)驱动时的典型输入控制特性和输出控制特性。图4c为常闭型(B)电阻控制时,输人控制端外接电阻R与输出开关端的控制特性曲线。

主要技术指标
1.输出端额定工作电压U3、4为交流220V±20%,频率50Hz。
2.输出端额定工作电流为:1A、3A、5A、8A、12A、16A、25A、40A。
3.输出开关端的有功功率电压降:U3、4≤2V
4.输入控制端参数:
控制电压:1V~150V
控制电流:1μA~50
5.输入控制端1、2脚对输出开关端3、4脚之间参数:
介质耐压:≥2500V
绝缘电阻:≥500MΩ
6.由电阻信号控制时输入端切换电阻R\(_{0}\):
.5kΩ~3kΩ
7.输出开关端的开关时间:≤10ms
应用举例
1.与5V供电的CMOS逻辑电路接口的控温接口电路

图5是选用常开型(K)负载电流20AJGG与CMOS组成的可控制交流大功率负载。CMOS电路的输出端可输出一个与交流电同步的可调占空比的方波,当占空比的比值增加时,加热器RL产生的热量增加;当占空比的值减少时,加热器RL产生的热量减少,从而达到自动控温的目的,这种控制方式有很高的控温精度。其中R1阻值选56Ω~100Ω,功率为3W;C1容量选0.047μF~1μF,耐压为400V。
2.用于高电压低电流控制系统
电路见图6,本电路的特点为:由于JGG的控制电流极低,可省去电源变压器,同时,电容C1、C2容量取值可很小,电阻R1、R2所需功率值很小,元件较易选择,成本较低。图6中C1、C2的耐压为250V,C3的容量为20μF,耐压为10伏。压敏电阻RV耐压为470V。 R3为 56Ω、1W电阻,R4为 120kΩ1/2W。

3.与KDX系列测温电子表组成数字式控温仪
KDX系列测温电子表是一块台式以1.5V钮扣电池供电的电脑数字式测温、控温器,控温范围-19℃~+69℃,其外形尺寸为92mm×43mm×10mm,在测温方面它有两个插口逻辑电平“Hi”和“Li”输出,这两个电平可以通过表板上的按钮进行选择设定,当温度降至“T1”低温时,输出插口d脚输出高电平,当温度升至“T2”高温时,C脚(Hi)输出高电平,在设定值T1、T2之间,C、d脚均输出低电平。“Hi”“Li”在不同温度时输出端电平变化见图 7,利用“Hi”“Li”在不同温度时各自输出电平的变化便可以与JGG组成数字式控温仪,它可应用于在100℃的温度控制。

图8是利用数字式测温电子表与常闭型(B)输出电流为1A的JGG与交流接触器组成的“二点式”控制大功率三相负载控温的电路图。虚线框内W为电阻丝加热器及传感器头热敏电阻Rt组成的控温区。当控温区间W温度低于“T1”温度时,根据“Hi”及“Li”电平情况,此时C脚(Hi)输出低电平“0”,d脚(Li)为高电平“1”,b脚(电源正端V\(_{DD}\))与d脚之间电压差低于0.3V,VT1阻断,JGG的1、2端无信号输入,所以 JGG的 3、4端导通,交流接触器KM得电,线圈吸合,主触头km11闭合,电阻丝加热,同时辅助触头km12由常开变成闭合,km13常闭触头变成断开,此时。脚输出的低电平经闭合的km12加在JGG的输入 1、2脚上,由于为低电平“0”,JGG的 3、4端仍导通,电阻丝继续加热,控温区W温度上升,上升到“T2”温度时,测温电子表C脚输出高电平“1”,通过已闭合的km12加到JGG的1、2端上,JGG3、4脚断开,KM线圈失电,km11断开,停止加热,温度降低,同时km12恢复成常开,km13恢复成常闭。在T2向T1温度过渡时,c脚d脚皆为低电平“0”,b脚d脚之间压差接近于1.5V,TV1导通,JGG1、2端仍有电流流入,JGG3、4端断开,温度继续下降,下降到T1温度时,d脚输出高电平“1”,b脚与d脚之间的压差极小,低于0.3V,VT1阻断,JGG1、2端没有信号送入,JGG3、4端导通,KM线圈吸合又重新加热,反复循环,将温度控制在T1与T2之间,从而实现“二点式”控温。将c脚与d脚对调,便可成降温控制电路。元件选择:R1为56Ω1W;C1为0.01μF/630V,RV:470V。
4.作安全交流隔离开关
见图9所示。由于控制输入端几乎不带电(小于几个微安电流),内部具有高可靠的隔离装置,输出开关端为无触点开关,因而具有操作安全,特别适合于有化学腐蚀、或需防爆以及频繁启动等恶劣环境中使用。

5.与温度计组成固态温度控制器

图10是用电接点水银温度计与JGG常闭型(B)40A(JGG-40A220V-B)、可调电位器、自锁开关组成的可控制4.8kw的加效控温装置。电接点水银温度计的温度可在一定范围内(一般0~300℃)任意设定,当温度上升到设定点时,水银与电接点导通,电阻为零;当温度低于设定点时,水银与电接点断开,相当于电阻无穷大,其工作原理与倒4基本相同,不同点在于,在控制端并了一个4.7kΩ的可调电位器,调整电位器使其负载工作在过渡区L0段,即可进行150V~220V电压调节,自锁开关的设置是为了在任意时刻均可让输入端短接,停止加热,而不需要关断电源。若要控制三相负载,其方法为:用三只JGG将输入端并联即可。因而采用JGG作温度控制,使用简便,精度高,控制可靠。适用于工农业控温及烘箱改造。
6.作软启动的路灯自动控制器

图11是路灯自动控制器电路。当外界光照较强时,光敏电阻MG45—34电阻仅几千欧,与电位器RP的并联电阻跨接在JGG的1、2端之间,因并联电阻小于切换电阻R0,负载工作在L1段(见图4c),灯泡不工作。当光照由强变弱时,光敏电阻MG45—34与电位器RP的并联电阻逐渐变大,负载工作在L0段,随着电阻变大,灯泡两端的电压逐渐增大,从而实现灯泡的软启动。当光照进入黄昏时,并联电阻大于R0,最后工作在L2段,灯泡进入正常照明状态。拂晓时的过程与上述过程刚好相反。电路中R1、C1值与例1相同。(陈光辉 徐文辉)