目前在房地产开发中,沙盘模型被大量采用,其电路控制模式有手工按键和微机控制两种方式。前者演示不方便,后者制作不便且造价高。本电路以COMS集成电路为基础,以极简单的电路组合完成了可输出128路的控制电路。
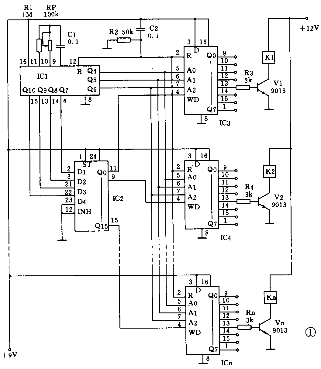
电路原理:时序控制电路原理图见图1。IC1是1片14位二进制串行计数器/分频器和振荡器。电路内部具有振荡电路,外接相应元件便可使其振荡。IC2是一片4位锁存/4-16线译码器,其工作时低电平有效,Q端的状态取决于D1~D4的状态。当输入二进制码时,被选中的输出端为低电平。例如;当D1、D2、D3、D4接收二进制码“0001”时,Q1端输出低电平。IC3~ICn是8位可寻址锁存器,其真值表见附表。由真值表可知WD、R端为低时,被选中的Q端等于D端状态,未被选中的Q端保持原来状态。当WD端为低时,被选中与未被选中的均保持原来的状态,被选中与否则要看A0~A2的接收情况。


当电源接通瞬间,由C2给IC1、IC3~ICn复位信号,使其清零。IC1开始振荡,刚开始产生的二进制码“0000001”后四位“0000”由Q7~Q10送到IC2的D1~D4,此时IC2的Q0端被选中,输出低电平,并将此信号送到IC3的WD端,IC3被选通,可以接受信号。由于IC1刚开始产生二进制码的前三位“001”由IC1 Q4~Q6送入IC3的A0~A2,所以IC3的Q0被选通输出高电平。此高电平信号可经三极管放大去推动可控硅、继电器等去执行具体控制功能。当振荡器振荡为第五周期时,即Q4~Q10产生“0000101”时,由于后四位仍是“0000”所以IC2仍是Q0被选通,其低电子信号仍使IC3处于接收状态。IC1的前三位变为“101”,因此IC3的Q4端便被选通,V1驱动继电器工作,从而实现控制功能。其余过程同上,读者可自行分析。值得一提的是,由IC3真值表可看出:当R为低WD无论高、低,未被选中的Q端总是保持原来状态,被选中的Q端等于D端状态或保持原状态。本电路正是利用了这一特性来实现信号选通后一直保持的功能。这样,将不会因时序一过而断电须另设计一套维持电路。因此本电路非常合适沙盘电器的时序控制使用。另外,在图2中给出IC2和IC3的各腿功能,以方便读者使用。图1中只画出了三个输出控制,根据需要IC2可控制16片锁存器。

电路调试和元件选择:此电路只要安装无误,通电即可工作。在使用中,根据控制的需要,调整RP产生所需振荡频率,便可完成时间分配。比如IC1 Q4端每3秒输出一个脉冲,此时IC3的Q4~Q7每3秒依次被选通一个,当ICn的Q7被选通时是384秒。在实施电路时序控制时,只要所有被控电器的时间预先确定,便可根据需要来调整振荡频率和选择合适的输出端。为保证振荡频率稳定,9V电源应使用三端稳压器后输出,且不宜与执行电路共用电源。电路中,IC1可选用CD4060,IC2可选用CD4515,IC3~ICn可选用CD4099,三极管V1~V3选用9013,继电器K可根据控制对象来确定其规格,其余元件无特殊要求。(赵文华 章新华)