本刊1993年第6期介绍了“声控音乐娃娃”套件,现根据我辅导同学装接的体会,提出以下几点要注意的问题,供大家参考。
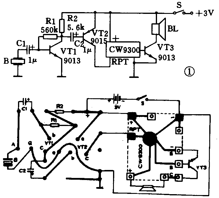
一、首先把你的印刷电路板和音乐集成片按图1所示位置摆放正确,并反复对照,看清楚每个焊点和每个元件应焊的位置。

二、分清电容器的正负极,引线长的是正极。分清三极管的三个电极,详见图2。

三、焊接时,要用小功率烙铁(20W~25W)。焊接动作要快(2~3秒),以免烫坏元器件和电路板。焊点要小,当心不要把不该连接的点连上。要注意防止虚焊。当管脚焊上后又焊开时,可能会把铜箔带走一些,再焊时,一定要注意和原有铜箔可靠连接。若焊接不熟悉,可事先作些练习。
四、压电陶瓷片的黄铜片要连接到地端,若陶瓷片压不进助音腔,可用小刀片沿腔内壁括去一些,使陶瓷片能牢固地卡在里面。
五、从电路板上引出接扬声器、电池、陶瓷片的导线,宜用多股细软导线。
六、电源开关可以用小型拨动开关,也可从简,只引出两根引线。
七、娃娃衣服的制作,可按图纸放大2倍,也可根据各人喜欢,自由发挥。在身体中可塞棉花,也可塞碎的泡沫塑料。陶瓷片的表面和扬声器要放在娃娃身体中部靠前,以方便接受传号。
该套件制作关键在于元器件的焊接,在确认焊接无误后,可先接上电池试验,这时,若遇到一些问题,可用以下介绍的方法解决。
一、鼓掌后无声。应从后往前检查。先查音乐片,把+3伏端与RPT端短接,即直接触发音乐片,若无声,则用万用表检查扬声器和VT3管,若都好,则说明音乐片坏。若短接后有声音,则说明音乐片部分完好,再往前检查。在安静时,用方用表直流电压档测量V2管的e、c 极电压应在3伏左右,测量VT1省的c、e极电压应在1.5伏左右,改变R1和R2的值,如能改变VT1管的电压值,则说明放大部分工作点正常,否则可更换两管再试,若确认放大部分完好,那就是压电陶瓷片坏了。
二、出现扑扑的汽船声。这是因为电池用旧,内阻加大,电路产生了振荡。只要在电池两端并联一个100μf以上的大电容即可正常。若手头无大电容,也可把VT3的e、c极互换,也有效,但声音较轻。
三、掌声要大,才会有声音。可先检查VT1、VT2、VT3管的e、c极是否搞错,因为这会使三极管的β变小,放大倍数下降,灵敏度减弱。另外,VT1的偏流电阻R1不宜过大,因为这会造成静态工作点电流太小,使触发困难。最后还要注意,掌声要正面对准陶瓷片,效果才会好。(陈升)