高频信号发生器有好几种型号。这里介绍的XG-25型为简易便携式。它的特点是有着很宽的频率范围,可从0.4~130MHz内选调使用频率,并把它们分成六个波段。信号可以等幅波输出,也可以已调波输出。此外,该仪器附有1000Hz音频电压输出的单独插口,还可作低频信号源用。仪器用于电池作电源,耗电极省。该信号源最适宜收音机和扩音机的调试和修理。对于无线电初学者尤其适用。
信号源的外形和频率刻度盘见图1、图2。信号源上半部分为频率刻度盘,外面覆盖着透明塑料保护罩。频率读数直接由指针红线指示。信号源中间的旋钮,用作改变输出频率的范围。信号源下面为波段开关,共有六档,分别和刻度盘上的六条刻度线相对应。例如:波段开关置第一档,则面板刻度为0.4~l.2MHz;波段开关置第二档,面板刻度为1.2~3MHz……波段开关的第一档还兼音频信号输出档位。此外,波段开关还增设一档电源检查。当波段开关置于该档时,刻度盘左边指示灯便发出亮光,说明电源电压能保证正常工作。否则将要更换电池。波段开关的下面是高频输出插口。输出线采用带屏蔽的高频电缆。高频插口下面有两个音频插口,输出线用音频屏蔽线。波段开关左右分别有两个开关。左边的开关用作高频/低频输出选择。右边的开关用作高频信号的已调波/等幅波选择。两个开关的下面是两个电位器,分别控制高频、低频的输出幅度。其中右边的音频输出还兼电源开关。


信号源使用前先将波段开关置于电源检查位置。打开电源开关,检查电源是否完好。若需要换电池的话,可打开机箱背面的电池盖板,按照盖板上的极性标志,将电池(2号4只)装入,检查指示灯亮为止。接着可连接好高(低)频电缆。根据所需要的高频频率,查看该频率所在刻度线的号码数,转动波段开关到相应的波段位置,再旋转频率旋钮,使指针对准这一频率刻度。必须注意的是刻度盘均以MHz为单位。例如:需用1605kHz时,先换算为1.605MHz。该频率位于第二条刻度线,应将波段开关置于第二波段。然后调节频率钮,使指针红线对准1.605的刻度位置。适当调整高频输出幅度,高频电缆便输出1605kHz的高频信号。为了寻找方便,刻度盘上对常用的几个非整数频率用红点标志。如455kHz、465kHz、6.5MHz、10.7MHz。当需要输出音频信号时,则将高/低开关置于低处,已调波/等幅波开关置于等幅波,波段开关放在第一波段位置。接上音频电缆,适当调节音频输出幅度,即可送出1000Hz的音频信号。
XG—25型信号源使用举例
1.调收音机中频(中频变压器)
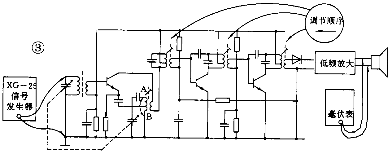
在超外差式收音机中,输入回路和本振回路的差频称为中频。在中放电路中的中频变压器都应调准在这个中频频率上。从而使收音机达到最佳灵敏度和选择性。我国收音机的中频频率规定为465kHz(日本为455kHz)。这个465kHz的频率信号可由XG-25型信号源提供。当收音机能接收到电台后,便可开始调中频了。调试方法见图3。先将双联可变电容器全部旋入(C最大)。用导线把振荡线圈短路(图中A、B两点),使本机振荡停振,以避免产生干扰。在收音机扬声器两端接上DA-16型毫伏表。将信号源的输出频率调至465kHz(第一刻度上红点),用已调波方式输出。分别打开收音机及两仪器的电源。适当调节收音机音量电位器和信号原高频输出幅度。用无感螺丝刀按后级往前级的顺序,反复调节各级中频变压器的磁帽,使收音机输出最大。调试完毕别忘去掉本振短路导线。

如果中频变压器已经调乱,采用上述方法不能调到谐振频率时,可将信号源输出的465kHz信号直接从第二中放管基极输入,先调末级中频变压器。再依次从第一中放管、变频管基极输入信号。调中间、前级中频变压器。直至三个中频变压器都谐振在465kHz。
当XG-25型信号发生器输出535kHz、1605kHz及600kHz、150kHz信号时,还可以统调外差跟踪。
2.用XG-25型信号发生器检修收(扩)音机的故障
当手头有台无声或音低的收音机时,可先用XG-25型的低频输出电缆,接至收音机的音量电位器两端,见图4。如果扬声器能发出1000Hz的音频声,则故障在变频、中放或检波部分。否则故障在低放或功放部分。

检查低放及功放部分时,可用低频信号先从功放管基极后低放管基极送入。见图5。从扬声器中的音频声就可判断故障出在哪一级回路。同样,检查收音部分则改用465kHz的调幅波输出。从后级中放向前级中放及变频管的基极送入信号。从而判断故障出在哪一级。参见图3。对于集成电路收音机,检查方法一样。可以从功放、低放、中放和变频相对应的引脚输入音频或中频信号,从而判断出是集成电路故障还是外围电路故障。

使用XG-25型信号发生器还要说明两点:
1.在输出音频信号时,原理上波段开关可以任意放在一~六档中的某一档。但若波段开关放在第一档,并且把已调波/等幅波开关放在等幅波位置时,输出的音频电压将最大,1000Hz的频率更正确些。
2.仪器用毕,应把电源关掉。并把波段开关置于“电源检查”档位。可以指示灯启亮来提示勿忘关机。对于长期不用的仪器,应把电池取出。防止电池日久腐蚀,损坏仪器。(谈小元)