步选器是各种自动化生产线上常用的电路。本文介绍的是用少量电子元件制作的一种简单可调型电子步选器,其特点是体积小,成本低,耗电省,可靠性高,抗干扰能力强。使用前只要预先设置好步选循环指数,工作时即可按预置步选指数循环。这种简单可调型电子步选器,可广泛应用于医药、食品、包装等自动生产线,下面介绍一下工作原理。
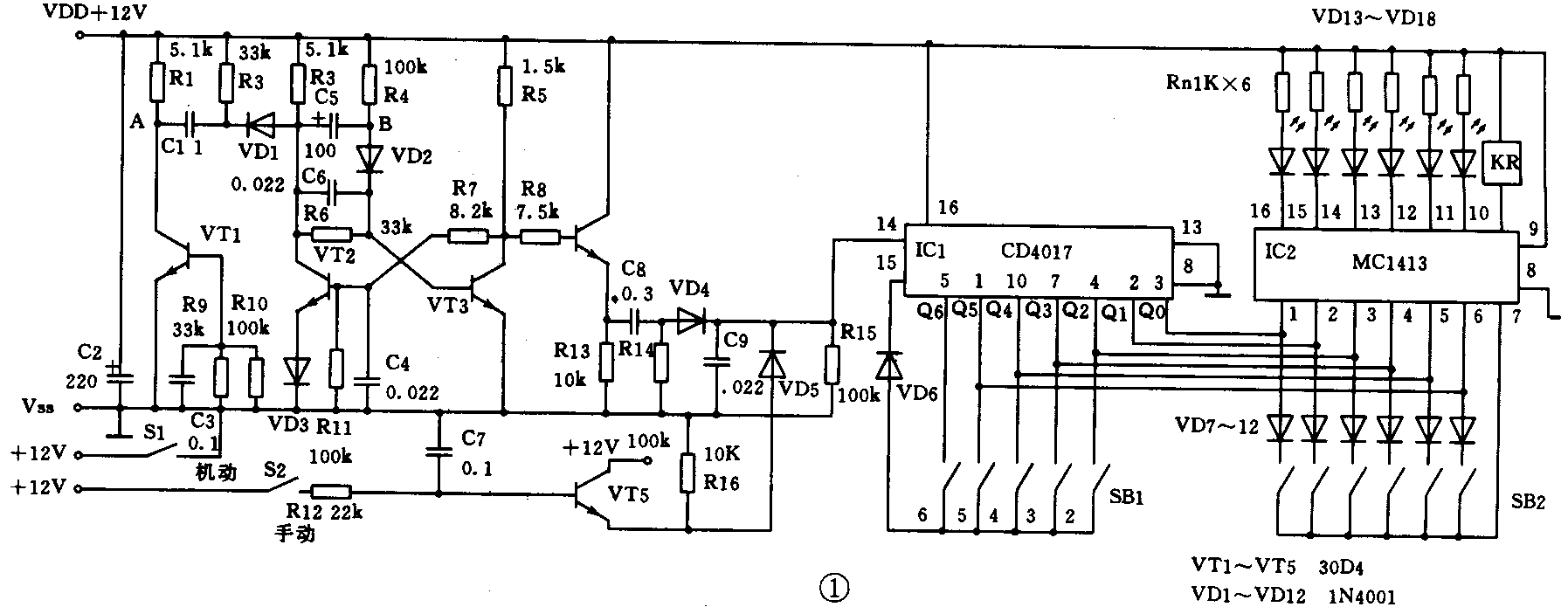
整机电路见图1,VT1~VT4组成单稳态电路,电路通电后VT3首先导通,VT3集电极处于低电位,VT2、VT4基极无偏压截止,电路稳态。当机械拨动开关S1闭合后,VT1基极得到偏置电压饱和导通,A点电位由原来的高电位下拉为低电位,瞬间C5通过VD1、C1向A点放电,使VT3基极电位下降后截止。VT3这时集电极回到高电位,单稳翻转,VT2、VT4基极得到偏压导通,进入暂稳态。VT4射极由原来的低电位上拉为高电位,瞬间通过C8、VD4向IC1计数器发一个进位脉冲,从而使IC1计数器进位。当C5经过一段时间充电后,两端电压升高,导致VT3导通,VT3导通后集电极电位下降,使VT2,VT4无基极偏压而截止,又进入稳态。单稳态是为消除机械行走期间拨动S1开关产生抖动而设计的,本电路稳态时间约为6~7秒,C8是为手动在稳态情况下能正常工作而设立的,VT5是为随时手动而设置,IC1计数器15脚为置位端,IC2为驱动集成电路,可直接驱动小型直流电磁继电器,如继电器触点容量不够,可扩充中间继电器或交流接触器等。

元器件选择,VT1~VT5选用3DK4型开关三极管、β≥40、VD1~VD12选用1N400系列二极管均可,SB1、SB2选用双列直插式微型拨动开关,或用插针跳接。IC1用CD4017型十进制计数器,IC2用MCI413型7路驱动集成电路,K选用直流12V小型电磁继电器,吸合电流要求小于60mA,其余阻容元件为通用件,可按图中所标规格选用。本电路只要元件正常,接线正确无误则无需调试即可正常使用。如果希望改变暂稳时间和步选指数,可改变R4、C5阻值和SB1微动开关即可。SB2跳接后可在该位有脉冲时触发继电器吸合,驱动设备动作。(金庆伟)