为适应不同听音环境的需求,合理选择音箱是音响器材组合的一个关键。目前的音箱多以倒相式、气垫式为主,另外就是少量的迷宫式、号筒式音箱。随着CD唱机的迅速普及,对音箱重放效果的要求也越来越严格。使用大口径扬声器制作的音箱其驱动空气能力强,重放低频量感、质感十足。但现在一般家庭房间面积只有十几平方米或更小,在这样的房间里摆上一对大音箱,音量小了,效果出不来,音量稍大,满屋轰鸣。另外大音箱往往要采用多路分频方式,增加中音单元,加大音箱前方声辐射面积,因此声染色和声干涉现象也较为严重。而用小口径喇叭制作的音箱,由于振动质量轻,瞬态响应好,在重放音乐时的定位感、通透感、力度感及表现出来的音场绝非大喇叭可比拟。可惜小喇叭出来的低音效果又难与大喇叭抗衡,偶有杰作其制作成本之高、价格之昂贵,令工薪阶层人士咋舌。为解决上述矛盾,在此向大家推荐一种1/4波长加载式音箱,国外称QWL式音箱。该音箱由于采用了国内最新推出的涂覆式小口径扬声器和软膜球顶高音单元,加上别具一格的箱体结构,其音色既具有小型音箱的优点又兼备大音箱重放低音的雄浑气势,很值得大家一试。
基本原理
一般音箱在设计制造过程中,都尽量避免细长结构设计,因为其长而窄的平行内壁很容易产生驻波和振动,使得本来难以控制的低音增添不必要的谐波。而1/4波长加载式结构则故意利用这种共振管的特性,使得扬声器正确地加上负载,并且适度地消除不希望出现的共振。
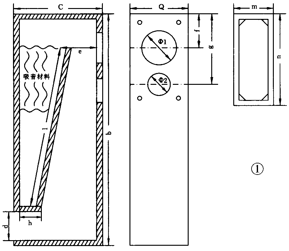
这种音箱的基本原理就是利用了一段具有1/4波长长度且一端封闭,而另一端开口的楔型管子,将扬声器安装在这段管子中间。当喇叭处于谐振时,在锥形一端(封闭端)产生的声压最高,反过来作用到扬声器的背面,这样就会使扬声器产生有效的声压负载,从而使纸盆有较小振幅,避免扬声器在谐振频率处纸盆大振幅动作产生的失真。多余的气流则从楔形管子展开处(开口处)流出。这个过程类似于号角式的加载,可以获得增强四倍于谐振管长度的波长声波,所以体积较小而低频响应较好,为采用小口径喇叭获得良好的低音打下了基础。
器材选择
由于QWL式音箱的特性,在低音加载区域纸盆振幅较小,这样可以降低对纸盆支撑的线性及对音圈磁场的要求,使得我们在选择器材时可以避开那些价格昂贵的扬声器,利用一些性价比较高的扬声器制作出完美的音箱。
笔者选用了我国最大的电声器材专业生产厂家——南京电声器材厂最新推出的三款涂有特种涂料的纸盆大功率扬声器。型号分别为YD150—8X、YD176—8X、YD220—8X,这三种扬声器共同特点是:选择了高杨氏模量,大阻尼和适当内耗的涂覆式纸盆,采用金属音圈骨架和耐高温胶粘材料及大磁钢、大音圈,因此,灵敏度高,承受功率大,频响平滑,很适宜做二分频式结构中的低中音单元。高音也采用了该厂生产的软膜球顶式单元,重放高音顺滑柔和、清晰自然令人久听不厌。
箱体结构
考虑到现在大多数家庭的居住环境和条件,音箱采用了修长式造型设计,这与QWL加载式音箱特性吻合,其外形更容易与居室的其它摆设混为一体,喇叭的高位安装省去了脚架,避开了沙发家具的吸收和反射,有利于声音重放的深度和准确性。采用YD150—8X、YD176—8X、YD220—8X三款扬声器做低音单元分别设计出三款音箱,编号为HiWi201、HiWi202、HiWi203。原理和结构一样,只是考虑到三款扬声器的特性,尺寸有所差异。结构见图1,具体尺寸见表1。

表1 音箱实际制作尺寸表 单位:mm
音箱编号 a b c d e f g h 1 m n Φ1 Φ2
HAWI201 182 932 210 70 90 96 240 26 725 180 340 120 76
HIWI202 216 945 230 80 100 113 266 38 740 214 380 146 80
HIWI203 260 1050 280 115 120 140 315 46 805 258 460 180 80
HiWi201号箱采用5英寸YD150—8X扬声器做低音单元,高音选用YDQG10—8G软膜球顶式单元,由于箱体细长小巧,易于挪动,很适合小型居室做欣赏型音箱使用,也可做为环绕式音响的副声道音箱。
HiWi202箱采用6.5英寸的YD176—8X扬声器做低音单元,采用YDQG20—8X软膜球顶高音,音箱谐振频率设计在大约50Hz处共振。
HiWi203号箱采用YD220—8X 8英寸扬声器和YDQG20—8G高音单元组成,由于该款低音单元采用了Φ150mm大型磁钢及直径为Φ38mm的大骨架音圈,承受功率较大,音频响应可达8kHz,低端谐振频率在38Hz附近,因此该款音箱在重放大动态的交响乐、摇滚乐、迪斯科舞曲时,音色丰满,劲力十足,更适合于小型歌舞厅、卡拉OK酒店等场合使用。
分频器的选择
三款音箱都采用二分频方式设计,考虑到高、低音单元的特性,分频点取为5kHz。具体电路及数据见图2所示。其中电感L1用Φ1mm漆包线在Φ25×30骨架绕115圈,L2绕102圈。电容采用耐压100V的CBB金属化聚丙烯电容。

安装制作
三款音箱材料全部选用中密度机制板制作,HiWi201、202号箱选用板材厚度为16mm,203号厚度为18mm。各部位结合全部采用木螺丝加胶粘合,各接缝处要严密,不得有丝毫漏气。为消除漏气和改善箱板的阻尼特性,待胶完全干透后,采用建筑用的防水油膏在箱体内涂刷几遍,可取得更佳效果。
接下来是添充吸音材料,201号箱采用25克涤纶填料,202号35克、203号60克。操作时将涤纶棉叠成方块状,塞入封闭锥体部位上端。
喇叭单元采用由外及里安装方式,在安装低音喇叭时,需用一块薄的塑料泡沫或胶皮垫在扬声器及音箱之间,再用螺丝安装固定。注意在拧紧螺丝时,要用力均匀,以免扬声器变形。
剩下的工作就是外观处理了,先将整个箱体用灰膏填平并打磨光滑,然后根据各人喜好采用油漆或是贴塑贴,至此,一对音箱制作成功。(尹海斌)