松下J25、J27录像机有一种比较特殊的故障,即使用一段时间后,前面板上的操作键盘中部分功能键会丧失作用,有的功能键丧失作用后,由于遥控器有相同的按键,其相应的功能便可通过遥控器来实现。而有些功能键例如出盒键、预调/微调/正常键……等,在遥控器上由于没有同样的按键,此功能便会丧失。如出盒键功能失去作用,放入的磁带就无法出盒,此录像机便无法使用;预调/微调/正常键功能失去,录像机便无法正常收录电视台节目,这些都会给用户带来极大的损失。
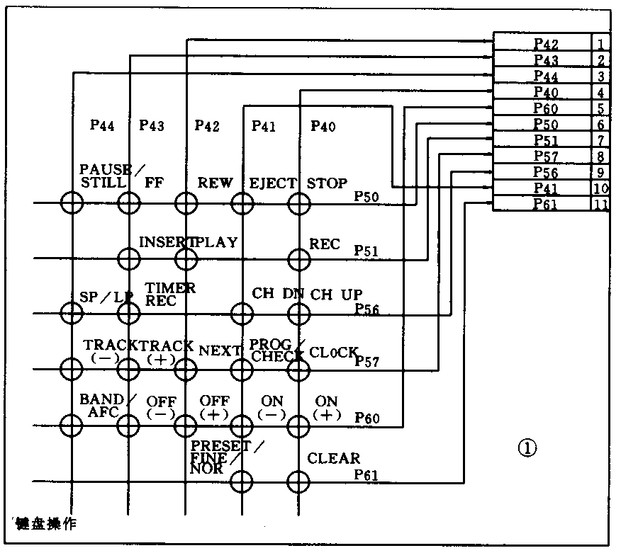
故障分析:J25、J27录像机的控制操作板是一块可开启和关闭的活动扳。操作键盘的电路和触点都是采用真空镀膜工艺镀在一块塑料薄膜上(见图1),上面的矩阵电路由真空镀膜的塑料薄膜线排引出,在线排上并列着11条引线(从机器的底部便可观察到),线排的端面用的是一块与薄膜等宽的白色硬塑料片,粘合形成一个插头(见图2),插入接口电路板P7506插座内,并用定位卡固定,通过P7505、P7503与机内电路连接。使用中,开启和关闭控制操作板时,由操作键盘引出的线排也要跟着反复运动,在运动中,弯曲产生的应力对插头P7506必然发生一定程度的冲击,特别是对薄膜线排与硬塑料片的接头处冲击的力更大。在使用中由于频繁反复开启和关闭控制操作板,很容易造成此处个别引线断裂,断裂后就会造成矩阵电路相应横或竖线上的功能丧失。例如:P50断,就会造成出盒、停止、倒带、快进、暂停/静像5个按键不起作用;如P41断,就会造成暂停/静像,速度选择(SP/LP),时间(一),波段/AFC4个按键不起作用。


从图1可以看出,此矩阵电路横竖11条,共有24个交点,操作键盘上相应也有24个按键,检查判断时,先按操作键,看哪些按键丧失作用,再对照图1的矩阵电路进行分析。如发现横排线的功能丧失,就是P50、P51、P56、P57、P60、P61其中有断裂;如发现竖排线的功能丧失,就是P40、P41、P42、P43、P44其中有断裂。如果功能的丧失并不呈现上述规律性,则不是插接件引线断裂引起的,而是其它原因造成的。
如果确诊为断裂引起的故障,可用如下方法修理:先取下带有操作键盘的前面板,再取下接口电路板P7506插座上的白色定位卡、薄膜线排及白色塑料插片,不要拆卸键盘板,注意观察白色硬塑料片和线排的接合处,可通过灯光照射来观察裂缝的位置,也可以用万用表来测量,找到断裂处后,切不能用刀片刮和铬铁焊。如果用刀片刮很容易将镀在薄膜上的金属引线刮掉;如用铬铁焊,铬铁的热量就会将塑料薄膜融化,这样不仅不能修复,反而会将故障扩大。遇到这种情况可用以下两种方法来修复。(1)用软性B型铅笔,在断裂处反复划动,以接通断裂处。再用万用表测量确定断路是否已接通,若已接通,用透明胶纸将此处粘好即可。(2)用铜(或铝)箔剪成和线排中导线一样宽度细条,两端可用胶水(立得宝)粘在断裂处的两端。注意不要将胶水弄在断裂处,有条件的可使用导电胶水来粘接,然后用胶纸将铜(或铝)箔粘压好。
用上述两种方法接好后,再用胶纸将软硬接头处多粘几道,将插头插入P7506插座内,上好定位卡,故障即可排除。
出现上述故障,主要是线排设计过短,为了避免出现此故障,使用松下J25、J27录像机时要注意下面几点:(1)关闭控制面板时,用力不要太猛。(2)对于控制面板最好少开关,或者开启使用,不再关闭。(3)有一定的录像机保养和维护常识的用户可拆下带操作键盘的前面板,将线排的软硬接头处用胶纸多粘几道,可减弱弯曲应力对此处的冲击作用,这样可以预防此类故障的发生。 (庹向东)