在摄影中,许多时候都需使用频闪灯,让高速运行的人或物体留下若干清晰的分解图像。如果能自制这种昂贵的专业器材,将是业余爱好者十分感兴趣的。
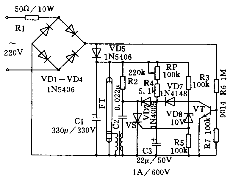
电路原理:电路见附图。市电220V经VD1-VD4整流后通过隔离二极管VD5对C1充电至310V左右,电阻R6、R7与VT构成过零触发,电阻R4与RP、C3构成充电延时调节电路。当C3电压充至大于10V时,在交流电过零瞬间,VT截止,稳压管导通,VS导通,触发FT闪光,电容C1放电,同时C3也通过VS放电,整个电路开始下一次的充电放电,从而实现频闪。电阻R1是限流电阻,R3给VS提供触发电流。闪光速度决定于RP、R4和C的充电时间常数,根据图中的数据,闪光频率在10次/秒和1次/秒之间调节。

元件选择:FT、B可用一般闪光灯的闪光管和触发线圈,由于连续闪光发热较大,需注意散热。VS选取1A/600V双向可控硅。其它元件无特殊要求。
该电路闪光指数为20左右,若想增大可适当加大C1。只要元器件无误,无须调试便能可靠工作。(曾鸣)