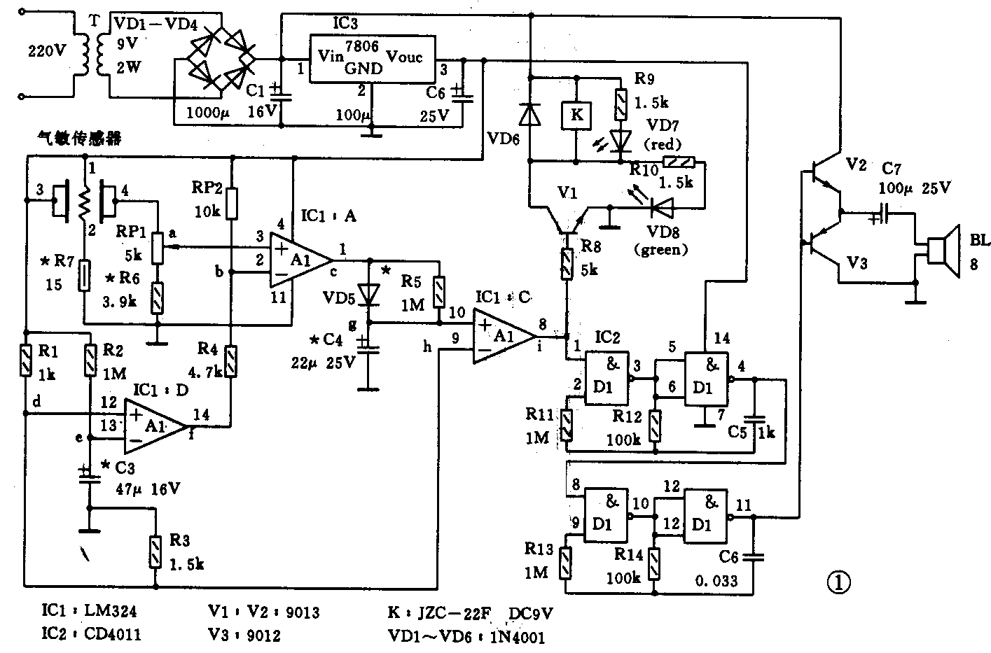
本电路主要是用四运放LM324和四—2输入与非门CD4011组成。其中LM324的三只运放均工作于比较器状态,A1构成气体检测信号比较电路,A2构成误动作限制电路,A3构成门控电路。CD4011构成门控振荡器,输出已调制的音频信号进行报警。
气敏(QM)元件:气敏元件有六个脚,工作时其接法如图1所示,1、2间为一加热丝,通过它的电流控制在120mA至150mA之间对元件加热;另外四个脚两两相连构成两个电极,随着环境气体浓度的变化,极间阻值也发生变化,4端的电位将发生变化,从而实现“气—电”转换。本电路所用气敏元件为GN—QM7型,其热丝电阻R\(_{h}\)=30~35Ω,洁净空气中的极间电阻Rs为40k~700k,灵敏度K>3,响应时间t\(_{1}\)<10秒,恢复时间t2<30秒。

报警器工作原理:电路如图1所示,接通电源时,QM电极间阻值急剧变小,然后升回到一个稳定的状态,这是气敏元件的一种过渡特性。在这个过程中,4端的电位会升高,经RP1分压后加至a点取样,取样电位Ua较大,则会有Ua>Ub导致A1输出高电平错误信号的情况,产生误报警。为防止误动作,由A2构成限制(延时)电路。因为C3容量较大,R2的阻值也较大,通电瞬间,Ud大于Ue,则Uf为高电平,使Ub>Ua,这时Uc为低电平,不报警。当C3由电源经R2充电至Ue>Ud时,Uf为低电平,Ub则变为稳态时的正常电压,而这段时间里过渡过程已结束,a、b间的电压恢复正常的关系。延时时间的长短,即C3的充电时间,可用改变R2和C3的值来确定,一般调整在1至2分钟。
稳态时,先调整RP2为中间值,因这时Uf≈0为低电平,则Ub=R4·E/(R4+RP2),其中E为电源电压。在无可燃性气体时,调节RP1,使Ua稍小于Ub,则Uc=0为低电平,报警器不报警。在调节报警器所需的报警点和灵敏度时,应通过标准可燃气体以及调节RP1和RP2来调整。
当QM处有超标的可燃性气体时,Ua升高,若Ua>Ub时,Uc≈E=6V为高电平,VD5导通,C4将很快充电至Ug=Uc=6V>Uh=R3·E/(R3+R1),则Ui为高电平,V1导通,VD7亮,VD8不亮,继电器K动作(K可控制抽油烟机、排气扇或电磁阀等),IC2振荡,经V2、V3放大产生急促间歇的报警声。当可燃性气体浓度降低到报警点以下时,A1输出转为低电平,即Uc≈0V,这时VD5截止,C4经R5放电,其时间常数较大,使Ug>Uh的状态维持一段时间,即报警延续,以便排气扇能充分排净可燃性气体,直至Ug<Uh报警停止。延时时间的长短,即C4的放电时间,可通过调整R5和C4的值来改变。
元件选择:IC1:LM324;IC2:CD4011;IC3:7806;V1、V2为9013、V3:9012,β>60;VD1~VD6:1N4001;K:JZC-22FDC9V;其它元件如图1所示。
本电路的优点在于报警准确,稳定性高。而且由于RP1和RP2使Ua、Ub均可调,对于不同阻值的气敏元件使用的选择范围增大,同时也利于将报警器的灵敏度调整到适合的范围。对于煤气、液化石油气、酒精、烟雾等均能监控,适用于家庭厨房、煤气管道和液化石油气站。图2是1∶1的印制电路板图,供读者仿制时使用。(罗辉)
