多年来,笔者对有些用测量电压法难以判断故障采用了并联电容法,即:在不损坏元器件的情况下,有目的、有范围的给电路并联电容器,然后根据故障变化来扩大分析问题的思路。下面通过几个维修实例来谈谈这种方法的使用及需要注意的问题,供同行们参考。
检修实例
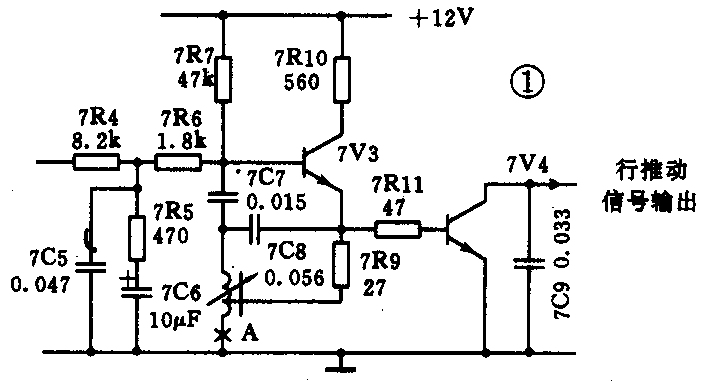
例1:南虹牌NH2441型黑白电视机。
故障现象:屏幕中间有一条约宽4厘米的垂直亮带。
分析与检修:初步确认故障部位可能在行扫描电路。开机检查,测行输出管集电极电压为28V(正常为30V),行推动管7V4基极呈负压,行振荡管7V3基极和发射极也都是负压,印制板各部焊点良好,检查行频调整7L1也未发现问题,扫描部分的许多元件已被原修理者替换过了,可能问题不大,于是使用并联电容法试查。具体做法:将一只0.15μF瓷片电容的一端拧在表笔头上,并用纸包好只露出电容的另一端头,表笔的另一端接上鳄鱼夹夹在印制板的地端。然后用电容露出的一端分别触碰行扫描部分的各个焊点,同时观察光栅的变化。当碰到图中A点时(见图1)发现光栅有所增大,再换一只4.7μF电解电容(负极接地)去碰A点时,光栅开得很大。此A点应该接地,但是A点在印制板上并不是就近接地而是经过很远的路在印制板的另一端接地,怀疑故障点可能就在这段路上,于是用放大镜仔细查找,结果发现这条线中途有一个非常微小的断裂,将它接通后故障排除。这是由于A点断裂造成行振荡信号悬空,才出现上述故障。并联电容后为行振荡信号提供了交流通路使光栅扩大。

例2:乐华51厘米(20英寸)彩电。
故障现象:屏幕上部出现场回扫线,并随信号不同而变化,接收当地12频道信号时,回扫线约占屏幕一半左右,并在上部垂直方向3厘米处出现一条断续亮线。
分析与检修:初步确认故障部位可能在场消隐电路。与场消隐信号有关的电路有IC301和场输出部分,所以重点检查这两部分(见图2)。测IC301各脚电压和场输出部分的各点电压未发现问题。因为场输出部分是场消隐信号的引出根源,又因电路板标注清晰给检修带来方便,所以决定用并联电容法对场消隐和场输出部分的几个电容使用直接并联的办法试查。用一只4.7μF160V电容(为防触电用纸包好,只露出两个引脚)先并联场消隐信号引出电容C626,观察图像没有变化,接着并联了C413和C411仍没有变化,当并联到C412时,故障立即消失,取下C412测量,结果近乎开路,经分析可知,由于C412开路使得V402在场逆程脉冲到来时其集电极电压不能提升,导致场消隐脉冲幅度下降波形畸变出现上述故障,更换C412后故障排除。

例3:飞跃牌35D1-4型分立元件黑白电视机。
故障现象:场不同步,行同步范围窄,图像伴音正常。
分析与检修:初步确认故障部位可能在消噪和同步分离电路,开机检查发现,同步分离和消噪电路中的许多元件都被替换过,可能原器件不会有什么问题,重点测了消噪和同步分离管的各点电压也未发现什么问题,所以用并联电容法试查。用一只1μF的电解电容负极接地(做法同例1),用另一端去触碰消噪和同步分离部分的各个焊点(见图3),当碰到图中B点时发现图像基本同步,将此点与图纸对照,原来此点接有一只2C54(100μF16V)射极旁路电容,可能是此电容失效,取下测量果真失效,换上新电容后故障排除。

例4:51厘米(20英寸)汤姆逊彩电。
故障现象:无规律性自动关机,声光全无,这时面板频道指示器仍亮,如果关掉电源重新开机又恢复正常。
分析与检修:初步确认故障部位可能在电源或扫描电路。开机检查,电源正常,二次电源108V没有提升仍为90V,证明行输出没有工作。IL03各点电压除与12V有关引脚基本正常外其余各引脚均不正常。关机后用在线电阻测量法对IL03外围做重点检查,未发现问题,电路板各处焊点均良好,于是怀疑IL03本身有问题。为证实这一点,决定用并联电容法对IL03外围再仔细检查一下,将0.15μF瓷片电容一端接地,一端触碰IL03外围各点(做法同例1,见图4),不见效果,改用1μF电解电容,当触及到图中C点时,光栅突然出现,机器一切正常,此C点是QL11(500kHz)晶振的一个引脚,此晶振频率经IL03内f/32除法器得到15625行频,如果晶振有问题行自然不能工作。1μF电容触及C点时为什么会出现光栅呢?因为此机故障有一个特点,当关掉电源再重新开机时,机器一切正常,分析可能是在C点形成了一个负脉冲,这对晶振来说就相当于重新开机一样,0.15μF电容不起作用可能是脉冲宽度不够。根据这样的分析决定重点检查晶振,先用一只收音机用的465kHz晶振替换原晶振,结果光栅不再消失,但图像不同步,证明确属晶振问题。经小心修复晶振后,上机故障排除。

例5:一台51厘米(20英寸)无图纸不知名的国外黑白电视机。
故障现象:垂直方向有数条界限清晰宽约2厘米的大波纹,图像稳定,伴音正常,行场同步。
分析与检修:初步确认故障部位可能在扫描电路。开机检查,由于没有图纸,查找判断非常困难。从外观看各元部件没有过热和焊点接触不良现象。开始怀疑可能是行电源滤波不良,当加大行电源滤波后,情况大有改善,微调行频旋钮故障消失,但是不稳定,有时还会出现,说明问题不在行电源部位,可能在行振荡和行推动部分。采用并联电容法检查,用一只0.15μF瓷片电容,一端接地,另一端分别触磁行扫描部分的各个焊点,当碰到C416的一个焊点时故障立即消失,机器一切正常。于是将电容就近焊在电路板上,故障排除,此机已收看4年,至今正常。
应用分析
通过上述5个例子,可以对并联电容法归纳为两种并联形式:
1.将电容器直接并联在已知电容器上,用以检查电容器本身情况,如上述例2。
2.将电容器一端接地,另一端分别触碰其它焊点,通过故障的变化现象来扩大分析问题的思路,如上述除例2外的其它各例。
以上两种并联形式多用于检修电视机、收录机。还有第三种并联形式:即电路上任意两点间并联电容,此法多用于没图像而元件又密密麻麻的老式电视机上。
由于故障的复杂性,利用并联电容法查出故障点的情况也不同。本文例1、例4是间接查出故障点;而例2、例3是直接查出电容器本身的问题;例5虽然最终没有确定准确的故障点,但由于方法得当,使故障得以排除。
当然,电视机的维修是各种方法的综合运用,在使用常规方法检查后难以确定准确的故障部位,并且又初步确认了故障可能存在的范围时,应用并联电容法检查往往可以收到快速准确的效果。
应用注意的问题
长期以来,笔者采用并联电容法修复过各种电子设备,从未发生过因此而损坏元件和扩大故障范围的现象。但是由于电容器是一种储能元件,它的充放电作用必然波及其它元件,尤其是对各种类型的集成电路,更应谨慎从事,并要特别注意以下几点:
1.并联电容器的耐压要选高一些的。对于上述第一种并联方式,电容量一般应在原电容量的0.5~2倍范围内选择。对于第二种并联方式电容量应先从pF至μF逐渐升级,并根据电路和的实际情况决定其上限容量。用于彩电一般不超过1μF。
2.在中高压点向低压转移并联时,一定要对电容器采取先放电后并联的方式进行。
3.在容易损坏元件的部位,如彩电开关电源等,应慎用或不用并联电容法。(赵志林)