一、前言
近年来,随着CD唱机和高性能功放的逐渐普及,在高保真重放系统中扬声器系统成了最薄弱的一环。因此,设计和制作一套发烧级高保真扬声器系统,就成了广大发烧友孜孜以求的目标。
发烧友凭主观试听来评判扬声器系统的优劣,这固然重要,但客观指标的测量也是必不可少的。IEC581—7号公告规定了高保真扬声器系统的最低性能要求及测量方法。对高保真扬声器系统的有效频率范围、频率响应、特性总谐波失真和指向性频率响应都作了明确规定,这些应该成为我们设计和制作发烧级扬声器系统的客观指标。比如:有效频率范围至少为50Hz到12.5kHz,其间100Hz至8kHz不均匀度不超过±4dB,而50Hz到100Hz以及8kHz至12.5kHz不超过+4dB和-8dB;特性总谐波失真在250Hz到1kHz间小于2%,1kHz至2kHz间从小于2%线性下降至1%以内,2kHz至6.3kHz小于1%;指向性频响在250Hz至8kHz内,水平指向性偏离参考轴为20度至30度时,垂直指向性偏离参考轴为5度至10度时,与零度相比不超过±4dB。本文所设计的两分频扬声器系统就符合上述指标,现推荐给发烧友,以期用最小的代价,获得最满意的效果。
二、低音单元的选取和音箱的设计与制作
正确地选取低音单元和设计音箱是决定低频特性的关键。我们希望系统的低频段能达到截止频率为40Hz的四阶巴特沃兹高通滤波器的频响特性。因此,我们选用了AMA808C—1的8英寸碳纤维编织盆低音单元。该单元振膜的杨氏模量E达10×10\(^{1}\)0N/m2,比普通纸振膜高出10倍之多,E/P值也比纸材料高10倍,内部损失tanδ与纸膜一样好,约为0.02。采用这种单元使得整个系统的指向性及失真度比较易于达到标准要求,测得其Thiele-Small参数为:谐振频率f\(_{s}\)为40Hz;总品质因数QT为0.38;等效容积V\(_{eq}\)为47.6×10\(^{-}\)3m3。另外,该单元的功率为60W/120W,额定阻抗为8Ω。
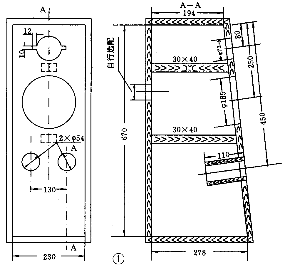
我们采用南京大学声学研究所研制的箱式扬声器系统CAD软件,利用测得的Thiele—Small参数,按照所给的上述低频指标,进行倒相式扬声器系统CAD设计。设计的倒相箱数据为:音箱净体积35.3升;倒相管有效半径3.83厘米;倒相管长11厘米,箱体结构见图1。

音箱的形状采用较新颖的前面板上仰一角度的做法,以照顾听音者对指向性的要求,这样也可有效地抑制音箱内部简正振动模式的简并化。箱内适当铺一些吸声材料。音箱在制作时为了防止箱板共振,板厚一般取18毫米到20毫米,后板加两根加强筋。为了美观,我们采用两只圆型的倒相管,其总内截面积等效图1中所标的倒相管有效面积。
对于箱体本身的处理,理论上讨论的并不多,但实践中常是工作者和应用者关心的问题。比较流行的方法是箱体的内壁涂沥青和应用双层板夹沙的技术。对于前者,我们经过试验,认为是值得推荐的,原因如下:
1.内壁涂覆沥青对减小声泄漏无疑是有作用的,这可以保证低频不被削弱。
2.对声箱来说,我们希望扬声器发声,导相孔发声,却不希望听见木板振动的声音。沥青的涂覆,实际上给木板的振动加上一个阻尼,促使木板停振或加速振幅的衰减。
3.沥青这种较软的声学界面不容易形成箱内的驻波。
三、高音单元的选取和分频网络的设计
高音单元的选取必须考虑到高音的有效频率范围高于12.5kHz以上的要求,同时还要考虑满足总谐波失真和指向性的要求。因此,我们选用了AMA108Ti-2钛球顶高音单元,其功率为10W/60W,阻抗为8Ω。该单元采用磁流体技术,有很好的阻尼特性,有效地降低了二次谐波,有较高的功率承受力,阻抗特性平直,使得整个系统的阻抗特性平坦,更易与各种扩大器匹配。
分频网络的设计是协调高低音单元性能使之合理配合达到总体设计要求的一个关键部件。分频点的选取既要考虑到整个频响,以充分发挥高低音单元特点,相互取长补短,同时也要考虑到指向性,使之达到预定的要求。因此,根据高低音单元测得的频响曲线,确定分频点为3kHz,其电原理图见图2。

四、主观试听
主观试听在南京大学声学研究所听音室进行。该听音室混响时间:100Hz为0.5秒;8kHz为0.2秒。平均混响时间为0.3~0.35秒。采用CD唱机为节目源,为了避免人为对听音的喜好而产生的差异,我们采用切换装置作比较试听。为了考虑系统对各种信号的再现能力,我们选择的节目信号考虑了它的频率特性和瞬态及动态特性,听音素材包括男女人声、男女声清唱、钢琴独奏、弦乐合奏、管弦乐合奏、民族乐器合奏、电子合成器的演奏及流行歌曲等。
听音组对该扬声器系统的听音评价:用上述的节目同德国产的K+H三分频专业监听音箱作了反复切换试听比较,觉得各有不同特色,K+H专业监听音箱对各种特性的节目源承受和再现能力都比较强,是较好的参考系统。对被试听的该扬声器系统总的印象是:低、中、高频段的平衡感较好,层次清晰,能够反映出节目源的各种频率成份,大动态的信号能够迅速跟上,低音坚实有力,没有空的感觉,高音明亮悦耳,从总体讲,各种失真和染色影响较小。(申学梭)