为了配合各中学开设劳动技术课,为了给广大初学者提供理想的动手实验的器材,我厂特意设计了3E1型三管收音机,并供应套件。
电路原理
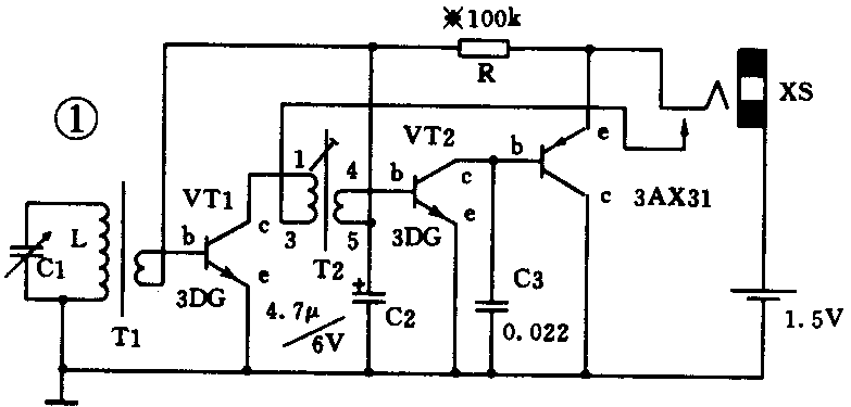
3E1型三管机的电路见图1,天线线圈L与可变电容器C1组成调谐回路,选出的信号加到VT1基极进行高频放大,经高频变压器T2耦合加到VT2进行放大和检波,检波后的音频信号经VT3放大并推动耳塞发声。

元件选择
磁棒选用4×12×50mm的,耳塞机选用阻抗为8欧的。晶体管VT1、VT2的型号为3DG201(选带蓝点的),VT3的型号为3AX31(选蓝点或绿点)。上述晶体管的管脚排列见图2。可变电容器型号为CBM-223,它的最大容量为141.6pF,最小容量为6.2pF。此可变电容器的动片、定片的引线位置见图3,使用时,动片需接地。中频变压器T2的各引脚排列见图4。

调试步骤
1.先检查有无错焊、假焊、漏焊、短路等情况。如检查无误,可把一个电流表(万用表)的电流档串接入电源电路中,见图5。找一个固定电阻器R1(阻值56kΩ),串入一个56k的电位器,代替偏流电阻R,见图6。调整电位器阻值大小,使电路的总电流在5~10mA,然后测一下电位器的阻值,再加上固定电阻器R1的阻值,即为偏流电阻阻值,一般在100kΩ左右。


3.旋动收音机调谐钮,选择频段低端某一个电台节目,移动天线线圈在磁棒上的位置,使声音最大。再用无感起子调节中频变压器T2,使广播声最大,往返数次达到最佳值。最后用石蜡封好磁棒线圈和中频变压器磁芯,以防止移动,调试工作即告完成。(徐跃跃)