故障现象:一台环宇35H-5型黑白电视机,开机后各频道均无图无声,屏幕上无热噪点,喇叭中无任何噪声。

分析与检查:根据电视机无任何热噪点及噪音的特点,可初步判断故障发生在预视放级以前的电路。该机采用μPC1366C担任图像中放及预视放等电路,有关电路如图1所示。先测得集成电路IC1预视放输出③脚电压比正常值低1V;高放AGC输出⑥脚电压竟高达8V(正常值应在2.9V左右);查得③脚与⑥脚的外围元件均良好,断开⑥脚至高频头AGC连接线其电压8V仍无变化,说明高频头并无8V电压加在IC1的第⑥脚。从检查电压的结果来看,很像是集成块IC1内部存在故障,但用人体干扰法触碰IC1的信号输入端⑧脚与⑨脚时,发现屏幕上有很强的干扰噪波,扬声器中的干扰声也较大,说明集成块本身并没有损坏,有可能是该电路的选频回路有问题。该电路的选频回路由XP37E(37MHz)担任,焊下XP37E测得其阻值为无穷大(正常时其阻值应较小),说明该元件内部已开路,用新件更换后故障排除。此时,重新测其IC1的③脚与⑥脚电压值均恢复正常。
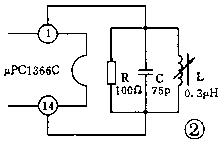
小结:该故障原因是由于37MHz选频回路开路,使该电路的频率偏移太大,造成IC1内部高放AGC电路严重失控,从而出现无图、无声、无热噪点现象。因此,在检修该类故障时,不要盲目更换集成块IC1和高频头等元件,而应先用干扰法检查IC1的输入端有无杂波放大信号,从而免损坏正常元件和走弯路。在检修时如没有XP37E选频元件,可采用常用的LC选频电路替换,其电路如图2所示。替换后只需微调电感的磁芯,使图像与伴音均处于最佳状态即可。(唐广徽)
