霍尔IC是录像机伺服系统的重要器件,一旦损坏,很难买到同型号的配件,而且价格昂贵,常常是有价无货。笔者根据自己的维修实践,向大家介绍一种使用普通霍尔器件和分立元件代换录像机霍尔IC的方法,以供参考。
乐声NV-G20、G30、G33以及L15等机型,鼓电机驱动电路由于采用了反电动势积分型位置检测方式,省掉了位置检测元件,其霍尔IC只用来产生一对霍尔信号形成PG/FG控制信号。以G33为例,采用一只4脚的霍尔IC检拾转子磁铁的信号,送往IC2901⑧、⑨脚,从而在IC2901的脚输出PG/FG信号。实测IC2901⑧、⑨脚的波形如图1所示。由图可知,这是一对幅度相近,相位相反,含有约0.6V直流成份的脉冲波。这对信号送入IC2901经脉冲整形电路整形,再经PG/FG信号发生器变换成PG/FG信号从脚输出,输出波形如图2所示。


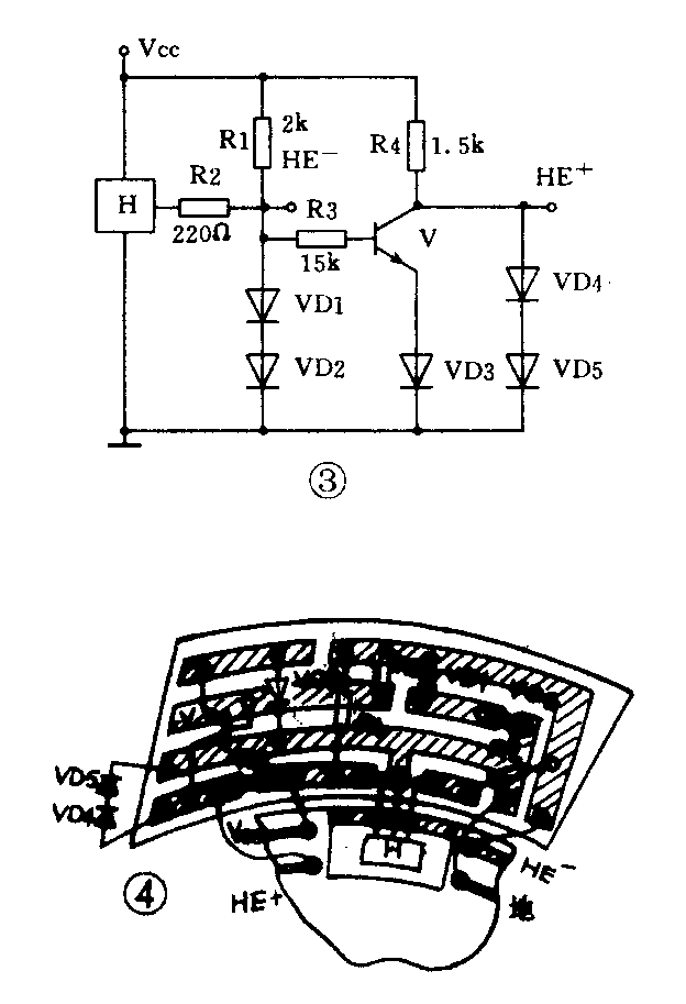
代换工作基于如下考虑:采用一只通用型开关霍尔器件,从转子磁铁获得一组旋转脉冲,再用反相器获得另一组相位相反的信号,配以少量的分立元件使这对信号取得适当的直流成份和脉冲幅度,即可代换原机的霍尔IC。代换电原理图如图3所示。图中H为单端输出的开关型霍尔器件,笔者采用的是UGN3020。在其输出端经R1、R2分压和VD1、VD2钳位,获得幅值为0.6~1.2V的HE\(^{-}\)信号;该信号经过三极管V反相,并经VD3、VD4错位,即可获得HE+信号。VD1、VD2、VD4、VD5均采用IN4148,VD3采用2AP或者2AK,V采用9014,β>400为宜。

取下转子磁铁,拆除已损坏的霍尔IC,切除图4下部所示的阴影部分,制作一块如图4上部所示的附加电路板,以便安装在原电路板旁边的空隙处。为方便绘制,附图已按2∶1放大,制作时应相应缩小。所有元件直接焊在铜箔面。UGN3020安装在切口处原霍尔IC的位置。安装完毕后装上转子磁铁试机,如无彩色可将转子磁铁旋转180°再安装。代换后经实测,IC2901的脚输出的PG/FG信号几乎完美无缺,整机工作正常。
L型机心以L15为例,其获取PG/FG控制信号的方式与G33完全相同,所用的IC亦为AN3814k,编号改为IC2201,IC各脚波形、工作电压均与G33相同。不过其鼓电机结构与安装方式均有所改变。L15机型在G33机型安装转子磁铁的位置安装了一块驱动组件印制板,IC2201移到这块板上,转子磁铁则安装在印制板的下面。代换时不需拆卸转子磁铁,只需焊下印制板,去掉已损坏的霍尔IC并在相应位置安装代换霍尔器件,安装时在原印制板上只焊接V\(_{cc}\)和地,输出端用软导线从缝隙引出接到附加电路板上,附加电路板的形状修改后安装在附近合适的位置,注意避免附加电路板妨碍加载机构的机械运动,然后向原印制板的铜箔面相应位置接线即可。(水学明)