本文介绍的LC2190和LC2200是一种成本低、实用性强的六通道遥控集成电路,是原LC219和LC220电路的改进型。
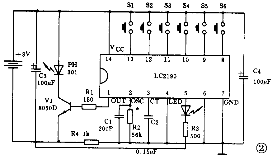
图1是发射电路LC2190的内部框图。LC2190只用一个RC振荡器在内部便完成脉冲的调制和发射,其外围线路较为简单,典型的连接线路如图2所示。LC2190的输出驱动能力较强,可直接驱动NPN中功率晶体率(例如8050等)而获得较大发射电流。LC2190还设有发射指示端,可外接可见光LED以指示发射情况。发射的红外光调制信号具有“单次”和“连续”两种,在图2中分别对应于按键S1、S2和S3、S4、S5、S6。每按动一次“单次”按键,电路便发出三串相同脉冲的红外光调制信号;若按动“连续”按键,则发射信号连续不断,只有待按键松开后发射才停止。按键S1、S2、S3、S4、S5、S6是以低位优先排队的,当数个按键同时按下时,仅低位有位。同时,在LC2190的接键输入端还设计有触点防跳动线路,使用时不必在按键上并接任何阻容元件,并由于按键输入阻抗较高(100kΩ以上),所以按键可用轻触开关、薄膜开关,和导电橡胶开关。


图2中R2、C1为外接振荡阻容元件,典型的振荡频率为80kHz,经内部分频器分频,由OUT端输出的是空度比为1:1,频率约40kHz的脉冲方波。CT端外接定时电容C2,其容量决定输出脉冲串之间的重复频率,约3~5Hz。
LC2190的电源电压范围为+2.5V~+3.5V,静态电源电流小于1μA,适宜于3V电池供电并可不设置电源开关。
为降低旧电池内阻的影响和提高工作稳定性,可在LC2190的电源上增加RC滤波,把发射晶体管和LED显示与LC2190的控制部分分隔开,如图2中R4、C4所示。R4选用500Ω~2kΩ,C4选用33μF~100μF,并要求C3和C4的漏电要小。
在有些场合,例如各种换档开关、波段切换和调光、调速等,只需要发射“单次”脉冲而不需要发射连续脉冲,这时可将LC2190的“连续”按键S1和S2的引出端分别连接一个二极管到S3、S4、S5、S6引出端中的任何一个就可完成,图3是用两个二极管1N4148连接到S6端使S1~S6均变为“单次”按键的连接图。

接收电路LC2200的内部框图见图4,其中输入缓冲可对红外光接收前置放大器(例如CX20106A)输出的解调信号起整形作用并输出定时控制信号。输入信号经解码和锁存后分6路在A,B,C,D,E,F端输出。LC2200的输出端与LC2190的输入(按键)端成对应关系——A,B,C,D,E,F对应于S6、S5、S4、S3、S2、S1。

图4中的M端为方式控制端。当M端连接到电源端(M=1)时,LC2200的各路输出成互锁关系:任何时候只有一路输出为高电平,并以最后按动的按键对应的输出为优先,其余输出均自动清除到低电平,当M端连接到地端(M=0)时,各路输出互不影响,且每按动一次按键,其对应输出的电平便翻转一次,为此各路输出可独立改变状态。
LC2200的外围线路较为简单,仅使用一个定时电容连接在CT端。图5为LC2200的引出端排列和外围元件连接图。

LC2200的电源电压范围为+3V~+9V,典型应用为+5V。静态电源电流小于5μA,可用6V电池或整流电源供电。每路输出驱动电流以I\(_{OH}\)≥2mA,IOL≥1mA,可直接驱动NPN晶体管和LED发光管或小功率可控硅等。
LC2190和LC2200的应用甚广,采用互锁输出功能可遥控风扇换档、灯光调节和电机转速等;采用自锁输出功能,可遥控电源开关、音响静噪和控制玩具动作等。图6为收录机中驱动音量控制电机的实用线路图,图中选用E、F输出端驱动电机M,因E、F输出是连续脉冲,所以只要发射按键(S1和S2)不松开,输出脉冲就不会停止,电机也将连续转动。F输出驱动电机正转,E输出驱动电机反转。因电机是带动双通道音量电位器RP\(_{R}\)和RPL同时转动的,所以电机正转将使音量增加;电机反转将使音量减小。

图中方式控制端M接地,使电路工作于“自锁”状态,因而各路输出相互独立,所以除E,F用于电机驱动外,其余A,B,C,D可同时用于电源开关,静噪控制和录放功能切换等,如图6所示。
在图6中,电容C2和C3为隔直流电容,可使电机的转动与E,F端的静态电平无关,只有在按键按下E、F端有脉冲输出时电机才转动。C4和C5为积分电容,可使电机转动平稳。VT3~VT6组成桥式驱动电路以控制电机正转、反转或停止,可根据电机电流大小选用9013或8050等晶体管。R10为保护和限流电阻。
图6线路也适用于电动玩具车,以实现前进,后退,左转,右转和停止等功能的控制。(路民峰)