本文以OK牌QS-1A型收音机套件为例,介绍辅导和装置过程。
一、装置步骤与焊接顺序
(一)电路组成简介:OK牌收音机电原理图如图1所示。VT6、VT7、VT8组成典型的OTL低频功率放大电路;VT5为前置低频放大级;VT4为三极管射极检波器,并兼有自动增益控制作用;VT3、VT2为中频放大级;VT1为变频级。

(二)元器件安装问题。安装电阻器时,都采用竖装的方法,见图2(a),而且让电阻上的阻值标志容易辨认,见图2(b),色环电阻第一环应在上边,安装电容器时,应尽量使电容器上的标志易于观察。

在印制板上安装元器件时,因所给印制板图为铜箔一面的接线情况,而元器件要从无铜箔一面的焊孔中插入,这样就很容易把元器件引线错插。为保证有正、负极的元器件插接正确,可找一个废的电解电容器,剪成一脚长,另一脚短,作为两线定位元件。使用时,定位元件从敷铜板面插入,长引线描正极孔、短线插负极孔,把电路板翻到无铜箔面,把要安装元件插入注意正、负极引线与定位元件相对应,如图3所示。找一个废三极管按图4所示把引线剪成不同长度,分别定位晶体管的E、B、C三个电极。


整机可分为“OTL”、“前量低频放大”、“检波、中放、变频”三部分,顺序进行安装和调试。每装完一个元器件,可用红笔在原理图中相应的位置上做一个记号,这样可保证元器件不漏焊。在安装时应让学生按照一定顺序,先把元器件插在印制板上,由辅导老师检查无误后,再让学生进行焊接。
(三)OTL部分的安装和调试
元器件安装顺序如下。电阻器:RP4(包括连在一起的电源开关)、R14、R13、R12、R11、R10、R9、RP7、RP6。电容器:C19、C18、C17、C16。晶体管:VT8、VT7、VT6。
另外外接一根辅助线(电源开关SA1右端至VT7集电极),要接好扬声器引线,耳机插座可暂不装。
OTL级调整方法如下:先把RP7调到阻值最小处,RP6调到阻值最大处。(辅导老师要认真检查学生调整的情况,如调整不合适容易烧坏本级的晶体管)。打开电源开关,调整RP6使VT8、VT7的中点电压(即C20负极与电源负极之间的电压)为\(\frac{1}{2}\)GB(3V)。然后断开电源开关,在开关两端接一个电流表(拨在10mA),如图5所示。调RP7使电流表指示为4~6mA。调好电流后,再打电源开关,复测一下中点电压,看是否仍为3V,如不是,则需再调RP6、RP7可使中点电压为3V,OTL级总电流为4~6mA。调好后可用自制信号源接在VT6基极和地之间,扬声器应发出响亮的音频叫声。

几只三极管的E、B、C电极对地电压值见表1。

(四)前置低频放大级的安装与调整
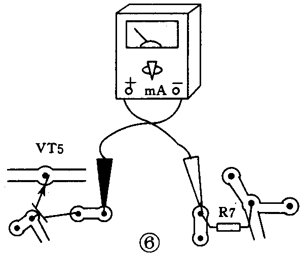
元器件安装顺序为①电阻器:R8、R7、RP5。②电容器:C15、C14、C13、C12。③晶体管:VT5-3DG(在电路板左上角靠近RP4,说明书印制板图错印为 VT6)。
调整方法如下:先把RP5调到阻值最大的位置,然后在VT5集电极和R7之间接一个电流表(用1mA左右档位),如图6所示。打开电源开关调RPS使电流表指为0.5mA。拆下电流表把电流测试点用焊锡封上。把自制信号源接在VT5基极和地之间,扬声器中应发出响亮的音频叫声。

此级晶体管VT5各极对地电压;E为0V、B为0.6V、C为3V。
(五)检波、中放、变频级的安装与调试
元器件安装顺序为①安装、焊接中频变压器、振荡线圈和可变电容器。注意中频变压器和振荡线圈的磁帽颜色不能弄错,而且屏蔽罩引出脚暂不焊在铜箔上,这样在中频变压器或振荡线圈出现故障时好往下拆,待整机装好收到广播时再焊上。②电阻器:先装R6,依次R5、R4、R3、R2、R1、R15、RP3、RP2、RP1。③电容器:先装C21,依次C11、C10、C9、C8、C7、C6、C3、C7如是云母电容器,引出线应按图7弯折。④安装磁性天线;如固定板与线圈脱离可用401胶重新粘牢。

中放、变频部分调整方法如下:先把RP1、RP2、RP3的滑动片调到中间位置,接通电源,先调VT4和VT2的工作点,这两级是联调的,把电流表拨在1mA左右档,然后接在VT2和R3之间(见图8),调整RP3使电流表指示为0.4mA,然后取下电流表用焊锡封上测试缺口,VT4、VT2两级就调试好了(VT4不用单调)。

调整VT3工作点:把电流表拨在3mA左右档,接在T4中心头与R8下端之间(见图9),调整RP2使电流表指示在1mA,然后封上测试口,这一级就调好了。

调整VT1工作点,把电压表拨在直流10伏档,接在VT1发射极与地(即R2两端)之间。调RP1使电压表指示在0.8V,如此电压达不到0.8V可把R1阻值减小,直到达到0.8V为止。
VT4~VT1各级调好后,把音量电位器RP4拨在中间音量位置,调双连可变电容C2、C4,就应听到广播电台的声音。
二、故障检查
如按以上各级调试好后收听不到广播电台的声音,则首先应复查一遍各晶体管E、B、C极与地之间的电压是否正确。VT8~VT5各极电压上边已列出,VT4~VT1各极对地电压见表2。

检查中哪极电压有问题就应查找与该极直流通路相关的元件,直到故障排除。
如各级晶体管电压都检查正常后,则可用自制信号发生器分别在VT4~VT1基极和地之间输入信号,各级正常时,扬声器中发出的声音应一级比一级声音大,如信号输到哪极声音不正常,则主要检查与该级交流信号通路有关的元件(主要是电容器和变压器)。
待各级输入信号都能正常工作后,则应重点检查本机振荡电路是否起振:用万用表直流电压档测VT1发射极和地之间的电压,然后用手捏住镊子或改锥的金属部分接触双连可变电容器的振荡连定片,如电压表指示数值下降,表示本机振荡起振。否则应检查L3、L4及C6、C3等与本机振荡电路有关的元件,直到振荡电路起振。
经过以上检查,收音机一般都能达到正常工作状态,如转动可变电容器能收到两个以上电台的播音,则可确定收音机基本正常,此时可把中频变压器和振荡线圈的屏蔽罩引出脚焊好,即可进行整机统调。(完) (沈长生)