各工矿企业的集散系统,很多是以无线通道组网的。在这些集散系统中,数传电台有时会出现常发现象(电台长时间处于发射状态),干扰整个信道的通信,使系统处于瘫痪状态。本人设计制作了两种电路,可以有效地解决这一问题。

1.电台PTT信号检测法:电路原理,如图1所示,电台发射时PTT端为低电平,VT1管导通,光电耦合器中发光管发光,VT2管导通,并开始对C充电。正常发射时(通常为2~5秒,视数据长度而定),C两端的电压尚未达到施密特触发器的阀值电平,电台已经转为静噪守候状态,故继电器在K1保持原吸合状态不变。当电台发射时间超过正常值时(具体时间可以调到各个现场适合为止,图中参数为25秒),C两端电压达到施密特触发器的阀值电平,输出端由原来的高电平翻转为低电平,VT3导通,继电器吸合,切断电台电源,同时接通R5,C开始放电,但放电速度比充电速度慢得多。当C两端电压下降到施密特触发器的第二个阀值电平时,输出变为高电平,继电器释放。如故障仍未解除,过了25秒,又切断电源。这样,在一个小时内,只有25秒的时间,信道会受到干扰,而可以保持数据的完整性和连续性。(注:国家建设部规定遥测系统每十五分钟巡测一次)。

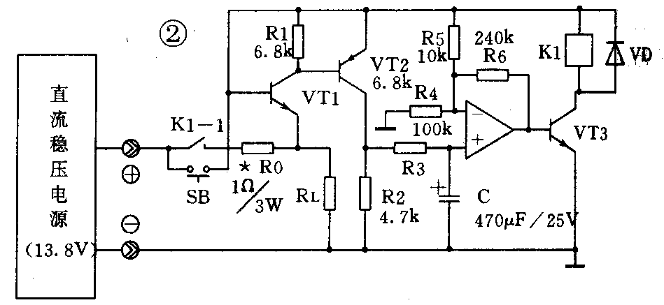
2.检测发射电流法:电路原理,如图2所示,开机后,按一下复位按钮SB,由于电台处于静噪守候状态(通常电流在500mA以下),R0上压降不足以使VT1管导通,VT2也截止,电压比较器输入端呈低电平,输出为高电平,VT3管导通,继电器K吸合自锁,电台开始工作。电台在发射时(电流在2~7A),R0上压降在0.7V以上,VT1管导通,VT2管也导通,其集电极呈高电位,开始对C充电,正常发射时,C两端的电压尚未达到电压比较器的翻转电平,电台已经处于接收状态;当出现常发时C两端的电压达到翻转电平后,比较器输出低电平,VT3截止,继电器释放并自锁,切断电台供电,直到维护人员解除故障后,按一下SB按钮,即可继续工作。 (龙益兴)