本文向读者介绍一种具有实用价值的人体感应延时节能灯座(开关)。它的特点是:当有人走进被控制的区域时,灯就自动点亮,人走过或在被控制区域内静止不动,它会延时一段时间自动关灯。但是,当你在被控制的范围内活动时,它就会始终给你照明。本装置具有光控设定电路,即在可见度较好的环境下,人来往时,它能控制灯不点亮。
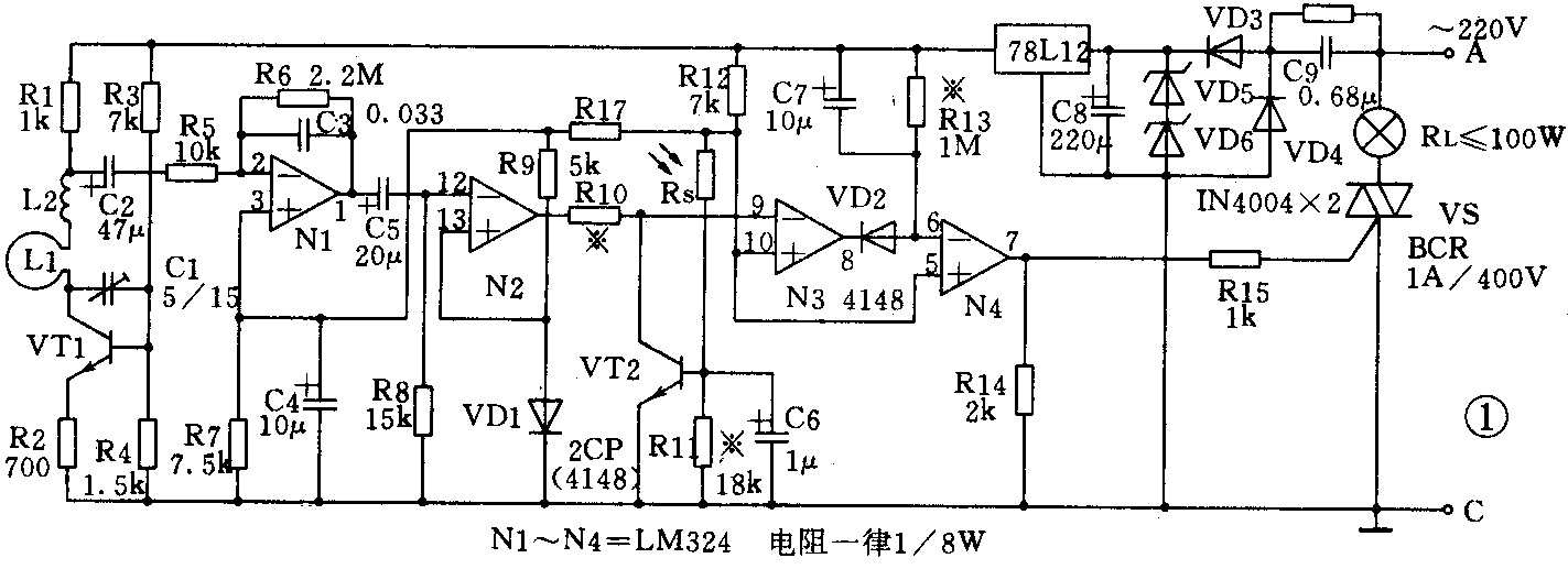
工作原理见图1,图中晶体管VT1、L及C1等元件组成近微波段自激振荡电路,振荡频率可由C1调整,使其振荡频率工作在700MHz~1000MHz范围内。由L转换为相应的电磁波发射到周围空间。它的幅射面积大约在50~80M2,并无方面性。当有人在该范围内活动时,根据电磁波的多普勒效应,人体的反射波将通过L接收到,使VT1的振荡频率和幅度都将产生变化,这会体现到C2正端的电压发生波动。该波动的频率与人体活动快慢有关,而幅度与L的距离有关。这个波动电压信号经电容C2和电阻R5加到运放N1的反相输入端(2)脚,由N1进行高增益放大。为了使N1输出幅度变化最大,它的同相输入端的偏置被设定在电源电压的一半处。静态时N1输出电位在6V上。当有人在被监控范围内活动时,N1输出就在6V左右变化。这变化的信号通过C5在R8上形成电压送到N2进行比较放大,这时N2的输出将在10V~0V之间大幅度变化,再进入N3比较器进行比较,当N3的反相输入端电位高于同相输入端的电位时,N3输出立刻由高电位转变为低 电位,VD2导通,使N4的反相输入端低于同相输入端的电位,N4输出高电平,通过R5触发双向可控硅导通,照明灯被点亮。

在这里N4主要起到主要起到一个单稳态触发器的作用。当N4反相输入端一旦为低电平时,电源马上向C7充电,虽然N3输出变为高电平时VD2截止,但由于C7两端电压不能突变,经过一段延时,才使N4反相输入端电位高于同相输入端电位,N4输出变为低电平,关断照明,C7放电时间就是灯点亮的延时时间。
为了避免白天(或有照明环境下)照明,图中由光敏电阻Rs、VT2等组成光控电路,C6是为防止短时干扰而设置的。
元件选用说明:图中VT1是一个关键件,它的截止频率f\(_{T}\)应大于1000MHz;C1可用品质较高的瓷介质微调电容器;L用一般Ф1.0mm绝缘铜线代用,弯成直径12mm圆环形即可。N1~N4选用LM324四运放集成电路。图中电源稳压二极管VD5和VD6最好选用两个稳压值相同的串联使用,以保证温度系数的稳定;双向可控硅可采用1A/400V的以保证功率在100W以下灯泡正常使用;光敏电阻以暗阻≥1MΩ以上、亮阻在≤3kΩ以下的为好,当然选用3DU类光敏三极管更佳。
制作与调试,图2为可安装在灯座内的印板安装图。焊接时先完成阻容件。把整流和稳压部分测试正常后,再焊(插入)集成电路。如果元件质量好,焊接无误,一般不用多大调整即可工作,只需调整C1和R3使被监控范围最大,光控部分调R11至合适为止。

在本电路的基础上,后级可稍加改动就可用作防盗报警器、汉语告知器、自动讲解仪等,在这里就不一一介绍了。 (李玉成)