本机为普及到80米波段直放式测向机,它具有电路简单、成本低、便于安装调试、运动性能好等特点,非常适合中、小学生开展短距离测向活动时装配使用。
工作原理
PJ-80型测向机的电路方框图如图1所示,从方框图可见,这种测向机没有本振级和中放级,在电路程式上和信号处理上与以前的测向机都有一定区别。

测向天线接收到3.5~3.6MHz的等幅电报信号后,送至高频放大级进行放大。放大后的信号与可调差拍振荡器产生的1.75~1.8MHz振荡信号的二次谐波一起加到差频、检波级。调整差拍振荡器的频率,可使其产生比接收信号高或低1kHz的信号。此信号与高放输出信号进行差频、检波后,得到1kHz的低频信号。然后再送至低频放大级和功率放大级加以放大,最后送至耳机,我们即可收听到电报信号了。
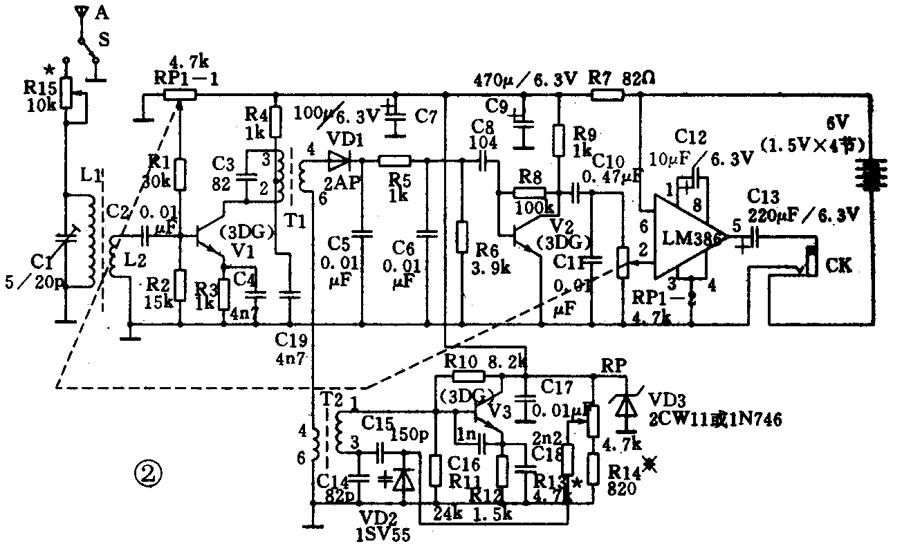
可见,在信号处理上,本机并不像超外差式测向机那样,设有两个振荡器,而只用了一个振荡器就直接差出了低频信号,即同时起到了选台和差拍作用,省略了中频转换和处理,大大地简化了电路。电路原理见图2。

测向天线部分由直立天线A、单双向转换开关S、单向调相电阻R15、磁性天线L1、L2及调谐电容C1等组成。L1与C1并联,调整C1使天线回路谐振于3.53MHz。
高频放大级由晶体管V1、偏置电阻R1~R4,耦合电容C2、谐振电容C3、旁路电容C4及高放线圈T1等组成。T1的初级线圈与C3并联,调整T1磁芯谐振于3.57MHz。这样即可与天线回路的谐振频率3.53MHz进行参差调谐,使整个高频放大曲线在3.5~3.6MHz的接收频率范围内较平缓,即高放增益较均匀。为使测向机在近台区强信号时,高放级不出现阻塞现象,仍能维护正常的放大,并保持良好的方向性,我们采用控制高放级工作点(调节RP1—1)来控制高放增益。此办法不仅可省略衰减开关,无需选用具有AGC特性的高频三极管,而且可获得非常宽的增益控制范围。不过,改变工作点会造成一定的失真,但由于我们接收的是电报信号,在听觉上不会有太大的影响。
可调差拍振荡器由晶体管V3、差拍振荡线圈T2、变容二极管VD2、回路电容C14、C15、C16、C18及直流偏置电阻R10~R14、RP2等组成,这是一个典型的串联型电容三点式振荡电路。
本机采用电调谐方式,即通过改变加在变容二极管VD2上的偏置电压来改变VD2两端的电容量,达到改变振荡频率的目的。RP2、R13、R14组成变容二极管VD2的偏置电路,调节RP2即可改变振荡频率。为得到较宽的频率变化范围,可选用电容量变化大的变容二极管,也可改变R13、R14的阻值。
为提高电路的频率稳定性,采取了两点措施:一是选择温度系数较小的云母电容作回路谐振电容C14、C15;二是设稳压管VD3来稳定振荡器的工作电压。
差频、检波器由检波管VD1、π型滤波电路C5、R5、C6及检波负载R6组成。π型滤波电路是为了滤除检波后的高频成分,使在R6上获得低频电压。
低频放大级由V2、R8、R9、C8、C10等组成,其中R8、R9为电压负反馈偏置电路,C8、C10均为耦合电容。放大后的信号经C10耦合至集成电路LM386进行功率放大。C12为反馈电容,当C12=10μF时,LM386的电压增益可达200倍。电位器RP1-2与高放级RP1—1同轴控制,调节RP1—2 可控制低放的增益。C13为输出耦合电容。
CK为耳机插座兼电源开关。
装配时应注意
1. 外壳采用ABS工程塑料,以保证良好的外观、运动特性及防水性,但需加内屏蔽以保证良好的方向性。屏蔽采用镀铝薄膜不干胶纸制作。外壳分上、下壳两部分,见图3。先按屏蔽纸图样剪好屏蔽纸并折叠成盒状(图样中的虚线为折叠线;实线为裁剪线)。然后,分别放入上、下壳中,并沿内屏蔽边缘撕下不干胶的衬纸,使屏蔽纸与外壳粘牢。注意上、下壳合拢时,磁性天线支架以上部分的屏蔽应留有1mm的间隙,否则,测向机不能正常收测信号。

2.直立天线的固定:屏蔽纸粘贴好后,将直立天线从下壳上端的天线孔中插入,并将套件中L型支架稍长的一端旋入直立天线固定孔中;另一端垂直向上,待与印制板上相应的孔对应固定。固定时,需加焊片,并把R15一端焊接在焊片上。
注意:直立天线不可与屏蔽纸短路。
电路调试
一、直流工作点的检测
V1 I\(_{C1}\)=0.5~1mA(RP置增益最大端,调R1);
V2 I\(_{C2}\)=0.5~1mA(调R8);
V3 I\(_{C3}\)=0.5~0.8mA(调R10)。
注:PJ-80机的电路参数适应范围较宽,工作点一般不需调整。
二、各部分电路调整
1.可调差拍振荡器的调整
当有仪器时,可用频率计测T2④端。将RP2旋至中间位置,调T2磁芯,使振荡频率约为1.78MHz,调节RP2,其频率变化范围在1.69~1.81MHz。如变化范围不够,可减小R13的阻值。
当没有仪器时,可收听80m波段测向信号源(以下简称信号源)3.55MHz的信号。将RP2旋至阻值中间位置,调T2磁芯,使能收听到信号并使音调悦耳(此时音频频率约为1kHz)。然后调节RP2,分别试听3.50、3.60MHz信号,若收听不到,说明频率调节范围不够,应减小R13阻值,再反复试听。
2.磁性天线的调整
有仪器时,用BT-3扫频仪观察L2波形,调节C1,使L1、L2谐振于3.53MHz频率上。
无仪器时,可收听信号源发出的3.53MHz信号,调节C1,使耳机音量最大。
3.高放级的调整
有仪器时,从C2输入端注入XFG-7高频信号发生器输出的3.57MHz、2mV等幅信号,将T2的④、⑥端短接,用示波器观察T1的④端。调节T1磁芯,使④端输出幅度最大(一般可达100~150mV)。
无仪器时,可收听信号源发出的3.57MHz信号,调节T1磁芯,使耳机音量最大。
4.方向性的调试
选择一无电力线等影响的良好环境进行。信号源天线应尽可能垂直架设。
先试听磁性天线的“双向”性,要求其分辨距离在0.5m以内。
再试听加入直立天线后“单向”性(按下单双向转换开关,拉出直立天线)。在距信号源10~30米处,调节拉杆天线长度及调整R15阻值,使之能分辨出“单向”。其分辨距离一般应不大于3米。(无线电测向指导小组)