国产CH4020系列微型光耦合器是可采用表面安装技术进行焊接的一种片状小型化器件,它的外形及管脚排列见图1,符号见图2,内部结构见图3。



GH4020系列微型光耦合器和普通光耦合器一样,也是一种电—光—电转换器件。它具有体积小、重量轻、易焊接、组装方便等特点。光耦合器有两个输入端和两个输出端,输入、输出端之间通常有耐压高达一千伏的隔离。
主要参数
GH4020系列微型光耦合器的主要参数指标见附表。产品按电流传输比大小分为三个档次。电流传输比的定义是:输出端电压(V\(_{CE}\))保持不变时,输出电流和输入电流之比。即:CTR=I\(_{C}\)/IF×100%。

应用
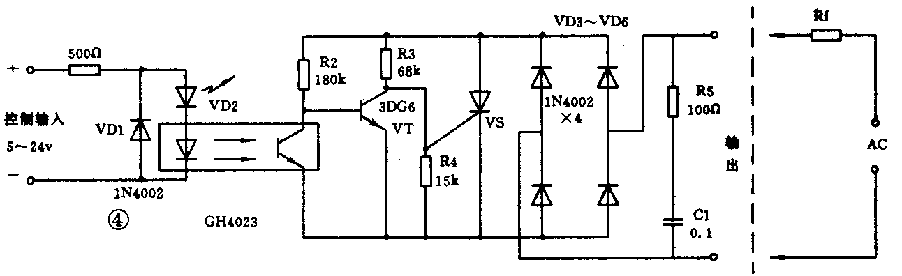
由于微型光耦合器具有独特的信号转换方式,使得其应用领域在不断扩大。主要用于开关电路、隔离线路、电平匹配、数模转换、逻辑电路及固态继电器等方面。
图4是用微型光耦合器制作交流固态继电器的电路。图5是制作直流固态继电器的电路。图6是制作电子开关的电路。图7是微型光耦合器用于电平匹配的电路。(郭德卫)



