目前市售的交流电子稳压器(单相),都存在着一个自身难以克服的弱点,即当输入电压大于设定调压点a状或小于设定调压点b伏较多时,稳压效果明显下降。其根本原因在于:当输入电压大于a伏或小于b伏时,调压电路工作,输出绕组减少Δn\(_{1}\)匝或增加Δn2匝(a,b,Δn\(_{1}\)、Δn2均由具体电路给出且为定值),使输出稳压。但当输入电压大于a伏或小于b伏较多时,输出绕组匝数不再变化,故稳压效果明显下降。为此,本人设计了一种交流电子稳压电路,克服了市售稳压器的不足。
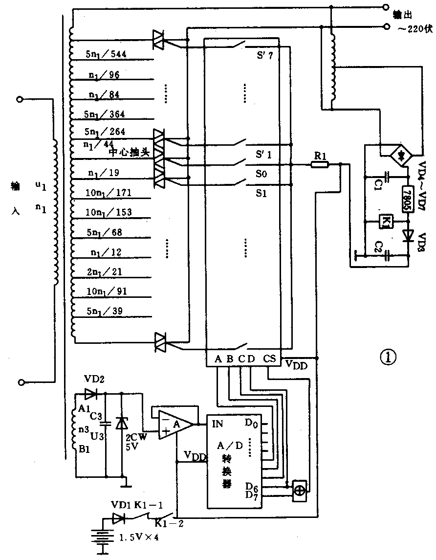
电路如图1所示。

基本工作原理:次级绕组A1、B1采样输入电压,经二极管VD2,电容C3整流滤波后送A/D转换器。该A/D转换器是量程为0~+5伏的8位A/D集成片。利用A/D片的高五位输出控制4~16电子开关(16选1电子开关)的某一开关接通或断开,再由+5伏电源驱动相应的晶闸管导通,使输出绕组匝数随输入电压的变化而变化,从而达到输出稳压的目的。
因为电容器C3两端电压是次级绕组A1、B1的峰值电压,且当考虑二极管的正向压降ΔU\(_{D}\)时,有:
\(\sqrt{2}\)n\(_{3}\), 或n3n\(_{1}\)=U3+ΔU\(_{D}\);2U1,
U\(_{1}\)=n1\(\sqrt{2}\)n\(_{3}\)(U3+ΔU\(_{D}\))
可求得 ΔU\(_{1}\)=n1\(\sqrt{2}\)n\(_{3}\)·ΔU3
根据设计,当U\(_{1}\)=220伏时,U3=2.5伏,取ΔU\(_{D}\)=0.6伏,则
\(\sqrt{2}\)
ΔU\(_{1}\)=1\(\sqrt{2}\)×2202;2.5+0.6×ΔU3
又因为A/D转换器只有高五位输出有效,故每当其输入电压变化\(\frac{5×2}{^{3}}\)256伏时,电子开关才发生切换。
所以,每当输入电压U1变化时,电子开关发生切换,输出被稳压。
ΔU\(_{1}\)=1\(\sqrt{2}\)×2202;2.5+0.6×\(\frac{5×2}{^{3}}\)256≈11.0伏
变压器的输入电压U1、A/D片高5位输出同电子开关中某一开关闭合的对应关系如附表所示。

由附表可知:A/D的D7、D6两位输出应经异或门。开关的控制信号,由电子开关内部电路对其进行译码,决定某一开关的闭合或断开。当按此种关系连接时,变压器的输入电压同输出电压的对应关系如图2所示。此时电路稳压范围为121~308伏,当输入电压超出此范围时,电路无输出。

本电路只使用了一片16选1电子开关集成电路。当使用多片该集成块且使用A/D片八位输出的更多位时(从高位算起),将扩大稳压范围,同时可提高输出稳压精度。但使用本电路已能满足需要,故无采用多片该集成电路的必要。
次级绕组每相邻两抽头间线圈匝数的计算:
1.当输入U1大于220伏时,输入电压变化了(U\(_{1}\)-220)伏。设电子开关发生切换时,输出绕组减少了Δn1匝,则\(\frac{U}{_{1}}\)n1=U';Δn\(_{1}\),ΔU1n\(_{1}\)=ΔU';Δn1
由此得: U'=\(\frac{Δn}{_{1}}\)n1· U\(_{1}\)ΔU'=Δn1;n\(_{1}\)·ΔU1
ΔU\(_{1}\)=U1-220
欲使输出稳压,应有:
U\(_{1}\)-220 - U'-ΔU'=U'+ΔU'
所以Δn1=\(\frac{n}{_{1}}\)2×U1-220;2U\(_{1}\)-220
2.当输入U1<220伏,电子开关发生切换时设输出绕组增加Δn\(_{2}\)匝,应有
根据以上两公式,利用递推关系就可以计算出每相邻两抽头间线圈匝数。在本电路中,每相邻抽头间匝数如图1中所示。
本电路的特点:1.本电路的调压部分设置了死区。既防止了电子开关频繁切换,又达到了较好的稳压效果;2.本电路没有设置过压保护电路,却有过压保护功能。因为当U1大于308伏时,U3大于3.7伏,电子开关没被选通,故电路无输出,起到了过压保护作用。
元器件选择:SCR(1~16)可选用1A、600V的双向可控硅。当然可根据需要选用其它类型的。2CW稳压5伏,VD1选用正向压降为0.5~0.7伏的整流管,绕组所用漆包线可根据所需功率的大小选用。其它元件无特殊要求。(刘庆赟 刘奔)