问:一台20英寸飞利浦彩电,因消磁热敏电阻损坏,出现彩色不正常。该消磁电阻为3只引脚。问是否能用两只引脚的消磁电阻代换?(山东 张永华)
答:彩电消磁电阻有两脚式和三脚式两种。三脚消磁电阻内部封装有两只热敏电阻,一只接消磁线圈,供消磁用;另一只接地,起分压保护作用,用来降低开机瞬间冲击电流对消磁电路元件产生的不良影响,可见三脚消磁电阻性能优于两脚消磁电阻。
消磁电阻损坏后,用同型号或同阻值的消磁电阻代换即可。当三脚消磁电阻损坏时,在缺少同型号配件时,也可用阻值相近的两脚消磁电阻进行代换。即原三脚消磁电阻接地脚不用。经验证明,用与原机阻值相差3~5Ω的消磁电阻进行代换,消磁电路仍能工作,其消磁效果也令人满意。 (聂元铭)
问:一合龙城牌落地电扇,发生调速失控的故障(只能快速运转),不知何故?如何修复?
答:这种故障大多是无极调速电路中的C3击穿,导致R2烧坏所致(见附图)。只需更换这两只元件,故障即可排除。

这里顺便指出,由于生产厂将C3的耐压选得偏低(63V),因此损坏率较高。更换时最好选用一只耐压大于250V的电容,R也应选用1W的金属膜电阻。(邱慧远)
问:用一台夏普VC-K88型录像机配接一台夏普C-1803DK型彩电,放原版K88解说像带时,有时图像正常,有时图像上半部扭曲、抖动,而同样用该录像机,但配接56厘米金星彩电,放像时则完全正常。这是何故,如何解决?
答:造成这种现象的原因是夏普C-1803DK型彩电的行自动频率控制(AFC)电路的积分时间常数偏大,不能对录像节目的时基误差作出及时反应,导致每场开始部分的行同步不良。只要适当减小行AFC电路的时间常数便可解决问题。对夏普C-1803DK型彩电来讲,一般可将连接在IC801(IX0324CEN1)、脚间的R605(68kΩ)改为30kΩ左右即可;或者根据实际放像和收视电台节目的效果来决定R605阻值(要兼顾放像和电视两者的效果)。(申薇)
问:一台5145型康艺牌彩色电视机,伴音正常,屏幕上半部在无信号时,出现有规则的回扫线。回扫线左侧从上到下逐渐缩短,呈圆弧形,右侧和屏幕右边缘对齐。有信号时,屏幕上部出现数条回扫线,回扫线长度和屏幕宽度一样。亮度、对比度及色饱和度均正常。将消隐电路的VD209、VD210、VD211换过,故障依旧。又将场输出部分的C302、C303、C306、C307、C308、C309、C310等拆下来测量,均未发现异常,请问故障究竟发生在哪个器件上,应如何检修?(辽宁 王晓敏)
答:屏幕上半部出现回扫线,不是场消隐电路出现故障,而是场输出电路中的某一个器件性能不良所引起的。场消隐电路出现故障,一般情况下,回扫线出现在整个屏幕上。该故障是充电电容C306(4.7μF/160V)容量不够或轻微漏电所致。这时用万用表是检测不出来的,必须把原电容焊开取下,换上一个新的电容试之。(刘松和)
问:一台春雷牌3S2-5型半导体管彩电,只能接收V频段节目,而不能接收U频段节目。何故?怎样才能使之成为全频道彩电?(山东 徐金楼)
答:这类彩电是我国早期生产的产品,其高频调谐器采用单孔机械转鼓式高频头,且只有V头,而无U头,故只能接收V频段(1~12频道)节目。欲使之成为全频道彩电,较简易的方法是用一只机械转鼓式双孔V头取代原V头,并加装一只U头,U头与V头的连接与黑白电视机相同,即可达到目的。不过,由于这类彩电无AFT电路,故对高频头的频率稳定性要求较高,即对所用V头与U头的质量要求较高,否则,图像质量将欠佳。(赵柏树)
问:彩电高压帽打火,曾试用灭弧灵、灭弧王都无法解决,请问有什么其它办法?
答:彩电高压帽打火,这是一个较普遍的毛病。可先取下高压帽,用酒精清洗高压帽和显像管第二阳极接口,再用吹风吹干,在高压帽内面涂上南京大学实验工厂生产的701硅橡胶,再扣到显像管上,4小时后开机。通过这样处理过的电视机无一发生打火现象,也适于处理行输出变压器打火。 (杨昌平)
问:一台彩色电视机接收图像信号时有彩色,且伴音正常,但其图像局部(在中下部)左右扭动,并还有拖尾现象。这种故障如何处理?
答:这种故障发生在由电容C211和电阻R215及中放集成块内部的有关电路组成峰值AGC电压形成电路中,当C211开路或失效后,便无法形成峰值AGC电压,使中放AGC失控,同时,C211又是AGC电压的滤波电容,故图像会扭曲和出现拖尾,只需更换一只3.3μF的电容,故障即可排除。 (王文)
问:一台美乐998-1型收录机,放音一开始就发生绞带,不知何故,应如何检修?

答:磁带在正常录音或放音时,是通过主导轴和压带轮之间的摩擦力将磁带匀速牵引的。牵引过来的磁带,通过收带座将磁带收在带盒的盘芯上。收带座的速度必须大于磁带前进速度,收带力必须克服磁带张力和带盒盘芯的阻力,否则就不能将磁带全部卷绕在盘芯上。当磁带不能卷绕出现外溢时,就会被绕在主导轴或压带轮上,造成绞带。影响收带速度的因素,主要是收带盘的收带力矩和磁带的阻力。检修时,如无专用测试工具,可凭经验用手指触摸卷带轮有多大力,一般以两手指轻抓住时停转为好。如果卷带力矩不够,可调整卷带座上弹簧的弹力,如上图所示,只要把调整簧片的三个爪向高台阶处调整,卷带力矩即可增大。
另外,虽然收带速度和力矩都正常,但如果主导轴有油污、发粘,压带轮橡胶老化或有油污发粘现象,磁带在经过主导轴时,也会卷绕在主导轴和压带轮上造成绞带。检修时也不能忽视。(梁怀斌)
问:一台幸福TRC—909S收录机左右声道放音一大一小,且高音差,换上磁头后,放音仍然一大一小,且录音一路有,一路无,什么原因?(沈阳 秦世杰)
答:此机故障主要产生于录放前置放大器。在放声小的那一路,应着重检查放大器增益是否足够。可从放大器件是否失效、外围阻容元件有否变质、录放转换开关是否接触差或漏电等方面入手。对于录音故障也可附带查一下偏磁电压是否加在录放磁头上等。 (张国华)
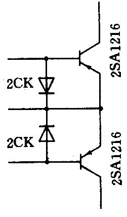
问:一台飞跃牌JK-501A型晶体管扩音机,在使用过程中,经常发生烧保险丝的情况,检查发现是末级功放管3AD30击穿所致。多次修理还不解决问题。不知如何解决?

答:检查原机功率管在工作时是否存在过热现象,如有,那是由于末级功放管的激励电流太大所致。另外原机采用的3AD30这类管子是锗材料所制,漏电流较大,当升到一定温度后,它的许多参数线性变坏,所以极易损坏。建议选用对称性好、耐压高的PNP硅管来作末级功放推挽管。比如2SA1216(塑封)、2SA1265(塑封)、2SA1051(金封)、MJ2955(金封)等,效果一定不错。不过在电路上要稍作改动。增加2只2CK型二极管分别接在换上管子的b、e脚用作保护(见上图)。(王其威)
问:一台MF—50型万用表各档均不正常:电阻档当两表笔短接后,表针立即超过满刻度而无法调零,且测出的阻值偏达50%以上;测交、直流电压偏大达30%左右;测电流时无指示。请问何故?如何修复?(山东 张同飞)
答:这类问题很可能是该表电流回路分流电阻R5开路(如下图所示),使电流各档的被测电流无法通向表头而无指示,而进行电压与电阻测量时,因失去分流致使全部电流通向表头而产生过流,即造成电压指示偏大与电阻测量值偏小和无法调零等情况。更换R5并检查其连线即可。(徐英豪)

问:贵刊解答小霸王D21B型电子游戏机故障时提到“游戏画面出现条纹及扭曲等是因游戏机发射信号太强所致”。而我们认为“闭路传输比开路传输损耗小”,不知为何用无线发射方式时,彩电的接收信号电平会大于用电缆传输时信号强度?是否有误?(广州 冯杰稂)
答:小霸王D218型机具有独立的RF放大盒,当需将游戏机与彩电的连接由闭路改为无线发射时,要把RF放大盒插入游戏机,由RF放大盒内的2级高放将游戏机输出信号放大之后,才经RF放大盒上的天线发射出去,所以彩电接收的信号电平要比闭路传输(无RF放大)时强得多。(王德沅)