现代照相机的基本功能是:自动曝光AE;内藏闪光灯;自动对焦AF及自动卷片AW。前两种功能电路,笔者曾在本刊作过介绍,本文将介绍自动卷片电路及检修。
一、常见卷片电路
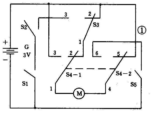
图1是一个简单的自动卷片AW电路,其中,S1为镜头盖控制的总电源开关;S2为曝光控制的卷片开关,每次曝光之后,S2接通,曝光时,S2则断开;S3为八牙轮控制的开关,卷片过程中,S3的触点1和触点3接通,卷好一张之后,八牙轮使S3动作,触点1和触点2接通,电机断电并且被短接而迅速停转;S4为卷片/倒片状态开关,卷片时,S4的触点1和2、触点4和5分别接通,电机正转,倒片时,S4触点1和3、触点4和6分别接通,使电机反转。S5为压片开关,倒片结束时,S5断开,电机停转。

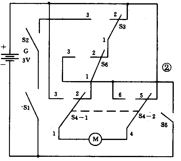
图2是一个具有自动装片功能的自动卷片AW电路。与图1电路相比,仅多了一个由计数轮控制的开关S6。计数轮归零之后,S6的触点1和触点3接通,装好胶卷并合上后盖,则压片开关S5接通,电机迅速正转,直至计数轮出现数字“1”时,S6转为触点1和触点2接通并一直保持到整卷胶卷拍摄完毕。

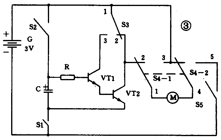
图3是放电保护式自动卷片AW电路。总电源开关S1接通之后,随着快门控制开关S2的接通,电容C充电至电源电压。曝光完毕后,开关S2断开,而八牙轮开关S3在机构的作用下由触点1和2接通转为触点1和3接通,VT1在电容C储存电能的作用下导通,使VT2也导通,电机正转。如果出现卡片等卷片故障时,由于电容C维持VT1导通的时间有限,使得电机很快停转,避免了电机长时间通电使故障进一步扩大。

图4是一个充电保护式自动卷片AW电路,作用与图3所示电路相同。不过,S2的动作正好相反,图4电路中的S2是在曝光之后断开,而图5电路中的S2则是在曝光之后接通,曝光过程中是断开的。二极管VD是为电容C放电用的。

图5是一个应用于无上弦机构快门系统的自动卷片AW电路。由于无上弦机构快门系统与卷片系统没有任何机构上的相互制约,完全由电路进行时序控制,所以,图5电路比较复杂一些。其中,S6是计数轮控制的自动装片开关,S2是由照相机后盖控制的开关,合上后盖时S2接通,打开后盖时S2断开,S2和S6一起完成自动装片过程之后,S6断开。

打开照相机的镜头盖,电源开关S1-1首先接通,由于快门叶片在不动作时不遮挡在VD1和VD2之间,即光敏管VD2接收到发光二极管VD1发出的红外光,此时VT1虽然可以瞬间导通,但由于S1—2尚未接通,故VT2并不导通。随着电容C的迅速充电并进入稳定状态,镜头盖才完全打开,使开关S1-2接通。
快门曝光时,快门叶片遮挡在VD1和VD2之间,VD2截止,电容C迅速通过电阻R2和R3放电,为卷片作好准备。曝光完毕后,快门叶片退出VD1和VD2之间,光敏管VD2受光导通,使VT1、VT2导通。电机启动之后使八牙轮开关S3由触点1和2接通转为触点1和3接通,卷好一张之后,S3又转为触点1和2接通,电机停转。
S7是保护用的力矩开关,正常时是接通,出现故障时迅速断开。
二、常见故障检修
在卷片电路中,常见故障是电机不转,造成快门无法卷片上弦,整个照相机也不能工作。一般除了有关的开关接触不良外,多数是由连接导线断开造成的。从结构部分分析,卷片系统的故障,主要是由于传动齿轮损坏,造成卷片打滑。对一架卷片有故障的照相机,首先应该检查传动齿轮。对于有卷片保护的电路,如果保护部分出了故障,则整个系统也将无法工作。
如果电机能够工作,但在卷片过程中存在卷片无力等现象,产生的主要原因有:①电池电压太低;②卷片电路和内藏闪光灯电路同时工作,造成电源不足。一般情况下,应该是先卷片后充电,③胶卷太紧,造成负载力矩增大,国产胶卷比较多见,严重时还会引起传动齿轮损坏。
如果卷片正常,而倒片时电机不转,主要原因是由“卷片/倒片”状态开关不到位造成的。如果整卷胶卷已全部收回暗盒中而电机仍在转动,则属于压片开关常接通,造成倒片到头时不能自动停转。(张志刚)