自动洗手机的功能是手一伸到洗手机下(10~15厘米)就自动来水,手一离开则水就自动停止。这不仅使用方便、节水,并可防止各种传染病的传染、扩散,它可以广泛地用于家庭、学校、饭店、医院、公厕等公共场所。
工作原理
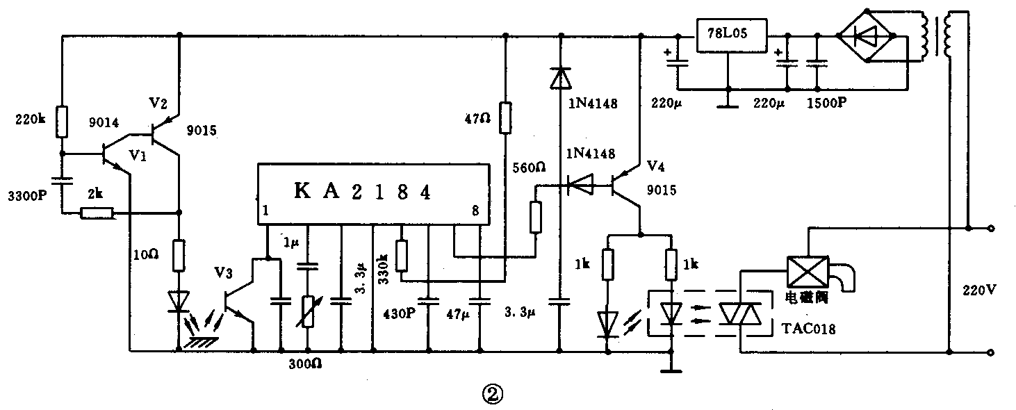
自动洗手机由红外发射器、红外接收器、开关放大器、固态继电器及电磁阀等组成。见图1,自动洗手机接通电源,当手伸到洗手下时,红外发光二极管发射的红外线经手的反射,由红外接收器接收。输出的信号经放大器放大分两路输出:一路给LED作状态指示,另一路去触发固态继电器,使电磁阀打开,水流出。

当洗完手离开时,红外接收器无红外反射信号,放大器无输出,工作指示灯不亮,固态继电器不导通,电磁阀关闭,水停止流出。
电路介绍
电路见图2,由V1、V2组成简单的振荡器,振荡的频率约为40kHz,红外发射管辐射出调制频率为40kHz左右的红外线。

接收器由光电三极管及集成电路KA2184、阻容件组成。当光电三极管V3接收到由手反射回来的红外线时,KA2184的7脚输出电压由高变低,V4由截止变为导通。其集电极电流分成两路:一路经R8,使LED2点亮,另一路经R9输入固态继电器,固态继电器由截止变为导通,电磁阀通电将阀门打开,使自来水流出。
稳压电源部分由变压器T降压,经整流、滤波由78L05输出+5V的电压。
安装注意事项
1.按图2将其它连线接好,检查无误可通电调试。通电后,用手由远逐渐靠近光电元件(在调整时应防止有过强光照射光电三极管,以免误动作),在达到15cm左右时,工作状态指示灯亮,电磁阀工作。若在大于15cm处工作状态指示灯亮,则说明灵敏度太高,可调整300Ω半可调电阻,降低灵敏度,使它在10~15cm范围内正常工作。
2.整个结构除光电发射、接收管外,应安装在塑料外壳中,特别是线路板应做好防水措施,以免因水流而损坏电路。(蔡凡弟)