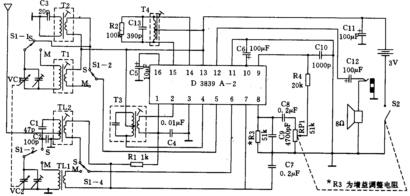
该机采用单片D3839集成电路,设计简捷、合理,外围元件少,特别是短波采用点波段制式将频率15~16.5MHz充分展开,调试大为简化方便。电台分得较开,故采用直拨式调谐,使结构简单,装配容易,调谐极其方便。另外也不容易引起高频机振,具有灵敏度高等优点,是初学者入门学习的理想的实验器材。本机体积为13×7×3cm\(^{3}\)。
调试方法:(1)调中频,(2)调中波及灵敏度。此调试方法可参照9018机介绍的方法(3)调短波。注:应严格按此步骤进行调试。调试完毕,请用石蜡将T2、TL2磁帽封牢,以防振动而发生变化。(杨春年)
