发展庭园经济是广大农村致富的一条好路子。为推动这项事业,使很多地区飞速发展起来的庭园经济管理向科学化迈进。本文介绍一种农用土壤湿度控制电路,供大家参考。

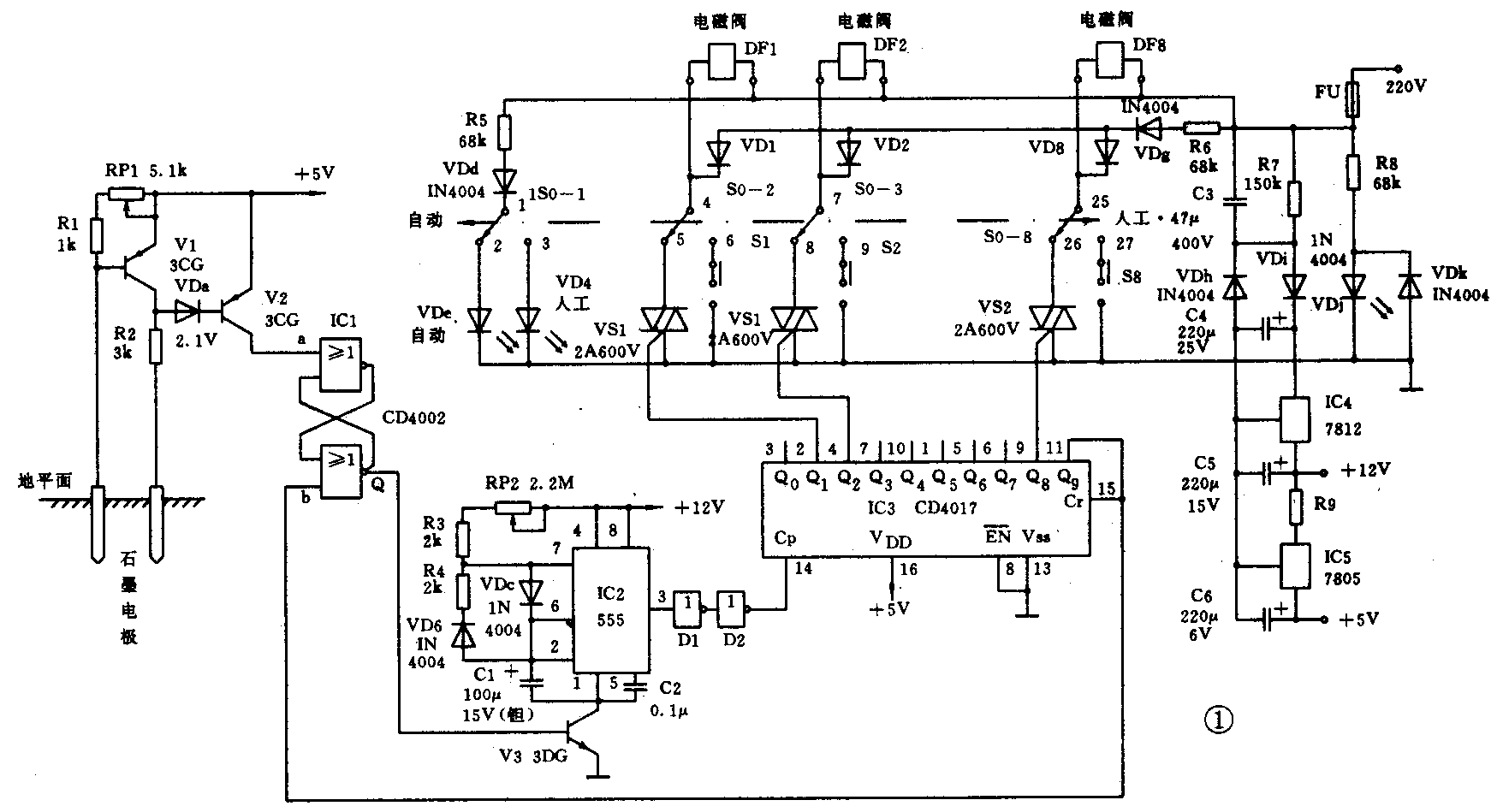
本系统共由五个单元电路组成,电路如图1。一、由V1、V2及部分外围元件组成的土壤水份检测电路,当土壤水份降低到规定值时,由V2输出高电平;二、由或非门组成的双稳态发电路,由它控制自动喷灌的启、闭;三、由555时基电路及其外围元件组成的循环定时开关电路,由它控制各喷头的喷水时间;四、由CD4017组成的计数译码驱动电路,由它来控制各喷头依次喷水;五、由DF1~DF8电动水阀组成的执行机构。
电路原理:当人工/自动转换键S0扳向人工侧时,人工指示灯亮。此时按S1~S8分路喷头人工控制互锁键,即可使按下键的一路喷头喷水。当把转换键扳向自动侧时,自动提示灯亮。待土壤水份降低至规定值时,检测电路中的V2管就输出高电平给双稳电路的指令端a,使双稳电路翻转。其输出端Q就输出高电平,开通循环定时器的开关管V3,循环定时器即开始循环定时。由555的3脚输出定时正电位,经非门D1、D2缓冲后,送至计数译码驱动电路CD4017的时钟输入端Cp。这样,每当一定时正脉冲来到时CD4017就计数一次,并由Q1~Q8依次输出高电平,触发VS1~VS8双向可控硅依次导通。从而依次开通DF1~DF8电动水阀,使喷头依次喷水,形成人工阵雨之势,对作物生长极为有利。当第九个定时脉冲来到时,Q9输出高电平给Cr,使计时电路CD4017清零。准备下次再重新计数;同时Q\(_{9}\)输出的高电平也回输至双稳电路的复位端口,使电路再次翻转,输出端Q变为低电平,关断开关管V3,使循环定时电路停止工作,完成一次循环喷灌。
CD4017可接成任意进制的计数器。只要把Q1~Q9中的相应输出端与Cr连通即可。因此本电路可控制8个以下喷头。如接两个喷头就把Q3与Cr连通,接三个就把Q4与Cr连通,依此类推。
本电路无论放在人工或自动状态,只有正在喷水的一路喷水指示灯亮,以达到一看控制板就知本系统的即时工作状态。(李一男)