晶体三极管是广大初学者最常用的器件,它的品种、型号繁多,而且外形封装也各不相同。本文向读者介绍有关常用的国产管以及进口管的外形封装知识,可为您在选用管子或找代用管时提供方便。
国产晶体管外形介绍
国产晶体管按部标规定有近30种外形和几十种规格,其外形结构和规格分别用字母和数字表示,如B—1型、S—6B,C型等。
(一)金属封装外形
1.B型
B型分为B-1、B-2、……B-6共6种规格。主要用于1W及1W以下高频小功率晶体管,尤以B-1、B-3型封装为常用。管帽喷漆颜色多为黑、蓝两色。管脚排列:观察者面对管底,由定位销起,按顺时针方向依次为发射极E、基极B、集电极C、接地线D,只有三根引线时则无“接地线”。B型的外形见图1,外形尺寸以及代表型号见表1。


2.C型
管脚排列同B型。C型封装三极管代表型号有:3AX31、3AX81、3AG1。具体外形尺寸见图2。

3.D型
外形结构同B型。管脚排列:观察者面对管底,将带引出线的半圆位于上部,按顺时针方向依次为E、B、C。三极管代表型号:3AX55、3BX55、3DK10。外形尺寸见图3。

4.E型
管脚排列同D型。三极管代表型号:3DA86、3DK10。外形尺寸见图4。

5.F型
F型分为F-0、 F-1……F-4共5种规格。主要用作低频大功率管封装,尤以F-2型封装为多见,通常F-2形封装的三极管功率为30~100W。管脚排列及外形见图5。外形尺寸见表2。


6.G型
G型分为G-1、G-2……G-6共六种规格,主要用于低频大功率晶体管封装,尤以G-3、G-4型为常用。其中G-1、G-2为圆形引出线,G-3~G-6为扁形引出线。G型外形及管脚排列见图6。外形尺寸见表3。


(二)塑料封装外形
1.S-1型、S-2型、S-4型
这3种外形用于封装小功率三极管,其中以S-1型应用最为普遍。S-1、S-2、S-3型管的管脚排列及外形分别见图7、8、9。

2.S-5型
此种外形封装主要用于大功率三极管,管脚排列:观察者面对管子正面(型号打印面),引脚向下,由左向右依次为B、C、E,详见图10。S-5型封装的三极管代表型号有3DA863、3DD2481、DK53。

3.S-6A型、S-6B型、S-7型、S-8型
这4种外形封装用于大功率三极管。其中以S-7型最常用。管脚排列及外形分别见图11、12、13、14。其中S-6A型的管脚排列为:观察者面对切角面,引出线向下,然后由左向右依次为B、C、E。

1987年,有关部门规定了晶体管外形的国家标准,它采用了国际电工委员会标准IEC191-2,所以与国际上多数国家规定的晶体管外形相吻合。国标与部标相比,除包括部标原有外形外,还增加3种新外形,详见图15、16、17。其中图15、16为塑料封装外形,图17为片状三极管外形。


进口管外形简介
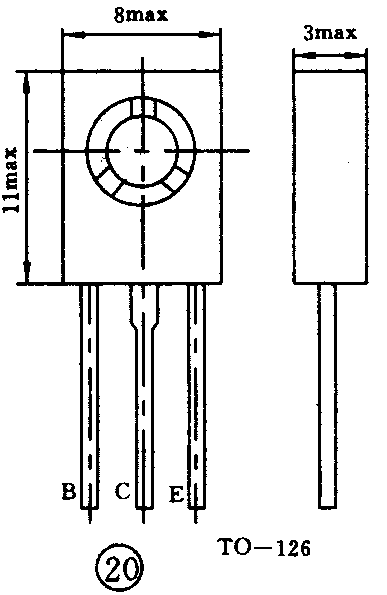
进口管常见有日本的2SA、2SB、2SC、2SD系列、美国的2N系列以及欧洲的BU、MJE等系列。这些晶体管的外形封装普遍使用TO系列。图18~25,画出了常见进口管的外形封装结构,其中TO-92与部标S-1相仿,TO-92L与部标S-4相仿,TO-126与部标S-5相仿,TO—202与部标S-7相仿。(吴思峰 任忠祥)


