市售KD483时钟打点报时专用集成电路是KD482集成电路的换代新品,很适合业余无线电爱好者对无打点报时的任何型号的指针式石英钟或数字钟进行改装,增加自动音乐打点报时功能,也可单独作为自动报时系统使用。
这种新型IC的主要特点:1.省掉石英钟的机械触发簧片,消除了簧片触发的种种弊端;2.不用微调电容,且能保证走时精度;3.设有静音控制,能在当晚23点至次日5点停止报时;4.体积小、成本低、耗电省;5.电路简单、调试方便,易于制作。
本文着重介绍其工作原理以及改装与调试的方法。
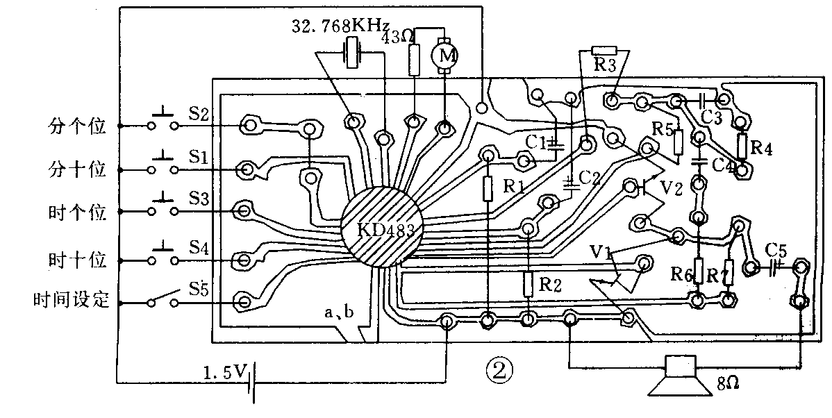
工作原理 电路如图1所示。KD483是自动音乐打点报时器核心,全部封装在线路板上。内部设有前置放大器,能提供准确的3600秒计数触发脉冲;可直接驱动石英钟的步进电机。每当计数到了某一整点时,IC内部储存的乐曲能自动演奏一遍,紧接着以钟声形式报出相应的打点数,其音色优美,钟声宏亮。IC的①、②脚外接石英钟的步进电机的线圈引线,单独作报时打点时,可接一只10kΩ电阻;③、外接1.5V电池;④、⑤脚接石英晶振,其振荡频率32.768kHz;⑥~⑨脚外接微动开关或导电橡胶按键开关,以作调校用;⑩、脚外接开关;、脚为音乐打点信号输出端,经三极管V1、V2放大,最后推动扬声器发声。

改装与调试 据实物描制的印刷电路板见图2,所用元件均采用小型化。晶体三极管V1和V2分别为PNP型与NPN型,V1(9012)可用国产3CX200/201/202代用, V2(9013)可用国产3DX200/201/202代用,β值≥60~100,以增大报时音量。元件应事先刮光上锡,以利于焊接牢靠;焊接时速度要快,注意电烙铁外壳接电源零线或把电烙铁插头暂时拔下,以防感应电势击穿IC。焊接无误后,可接上1.5V电池试机。将万用表DC档2.5V测IC的①、②脚,指针有规则地向左右摇动,则说明电路工作正常。

改装方法:先卸开石英钟后盖,取出1.5V电池,将其电源引线分别改接到IC的VDD(正极)、VSS(负极)端,注意正、负极不能接错;将时钟内的晶振小心焊下改接在④、⑤脚;将时钟的原电路板拆下,保留步进电机的线圈支架,把KD483用小螺钉固定在原盒中;IC的①、②脚接入步进电机线圈引线时,为保护线圈,减少耗电量,可在电路中串接一只43Ω小电阻,也可以不接;采用阻抗为8Ω的内磁式小型扬声器,将其安装在时钟空闲处;所有按键开关安装在时钟背面适当位置。
调试方法:先把1.5V电池装入盒中,若电压不足,应更换新电池,然后即可进行时间设定。KD483时间设定采取24小时制,例如现在是北京时间下午6点59分,应设定为18点59分。设定程序是,先将“时间设定”开关S5暂时闭合,然后分别按动“分个位”键S2九次,“分十位”键S1五次;“时个位”键S3八次,“时十位”键S4一次。在设定过程中,每按动S1~S4一次,扬声器均发出相应次数的提示“滴”声。调整中,时钟停走,设置完毕,应将S5断开复原,时钟才开始正常走时,将指针拨到实际时间。时间设置有误时,只要将开关S5闭合,前面所设定的时间即被清除,可重新设定所需时间,S5也叫“清零”开关。S6为静音控制开关,实际此开关亦可不装,见印制板上标注的a、b两点。平时a、b断开,从当天晚上11点至次天早晨5点不进行奏乐打点报时;短路a、b两点时,24小时均有奏乐打点。为使读者焊接正确,印制板图在开关处略有修改。
KD483自动音乐打点报时器,既可配合电子钟同步使用,也可配合机械钟同步使用,还可作为盲人掌握钟点使用。KD483IC单独使用时,则晶振可拆普通废旧电子表中的晶振代用,整个电路安装在小型塑料盒中。由于耗电量极做,其工作电流<5μA,一节5号电池可用半年左右。(刘明清)