本文介绍一种射频发射装置,它将录、放像机输出的视频及音频信号调制为某一UHF频道的射频信号。在距离发射器数十米以内的开阔空间中,多台电视机都可以同时收看录像节目。本发射器还可以与摄像机、电视唱盘及电子游戏机配用,除了适用于电化教学之外,还可以广泛应用于机关和家庭。
1.电路原理
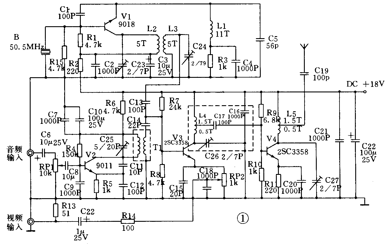
录像发射器的电路图如图1所示,晶振B产生的谐振频率,通过V1倍频器倍频,产生一系列的高次谐波,然后由L2、C23和L3、C24组成的双调谐选频滤波器,选出所需要的频率(nf\(_{0}\))作为图像载频,经过C13进入V3的基极。本电路可工作于18(510~518MHz)频道。

音频信号从V2的基极输入进行调频处理。调频的载频由可变电容C25和音频振荡器T1确定,改变C25和T1可以满足不同电视制式伴音的要求。对于PAL-D制式,调整C25或T1使调频载波为6.5MHz。调整好的6.5MHz调频信号,通过C14进入V3的基极。
图像载频与6.5MHz的调频信号在V3的基极进行混频。视频信号通过电位器RP2进入V3的发射极,由混频信号进行幅度调制,调制度由RP2确定。调制后的射频信号由L4、C26选择出其和频信号[nf\(_{0}\)+(nf0+6.5)]MHz,经过C17进入V4的基极。V4是带通线性放大器,增益和带宽由调整C27确定。放大后的射频信号经过C19由天线发射出去。
2.组装与调试
由于本装置工作在U频段,在设计印制电路板时,要求元件连接应尽量短,尤其是未两级更应特别注意。L4、C16、C17和C26要加装屏蔽盒。T1可用晶体管收音机的短波线圈,L1用直径为0.7毫米的漆包线,以Φ6绕11圈,L2、L3用直径为0.7毫米的漆包线,以Φ5绕5圈,L2和L3应安装在同一轴线上,并尽量靠近。L4、L5用直径0.5毫米的镀银铜线,分别以Φ5绕2圈,并于0.5圈处抽头。
调试的仪器布置如图2所示。顺序调整C23、C24和C26可变电容器,使图像载波与伴音载波的幅度最大,而杂波的幅度最小。调节C25或T1,使伴音载波的频率高于图像载波频率6.5MHz。开启电视信号发生器,送入彩条信号,调节电位器RP2,使监视器上观察到的彩条图像最好。若不够好,可继续调节C23、C24和C26,使监视器显示的彩条信号最清晰。开启音频信号发生器,送入音频信号,调节音频信号输入电位器RP1,使示波器上观察到的音频信号波形失真最小,调节C27,使观察到的发射波形幅度最大。

当无上述测量仪器时,也可以采用逼近法直接调整。如按照图1所示的元件安装,较佳的发射频道为18频道。将电视接收机置于18频道,用录像机在视频输入端与音频输入端分别送入图像及伴音信号,分别调整C27、C26、C24和C23可变电容器,使电视屏幕上出现图像,然后微调电视机的调谐旋钮,使图像较清楚。再重复上述步骤使图像更清楚。调整C25或T1使伴音清晰。当然,改变晶振的频率,调整C23、C24、C26及C27,可使发射器工作于U频段的任一频道。
3.使用方法
将录像机的视频输出及音频输出端分别与发射器的相应输入端连接,将专用直流电源的输出插头插入发射器的电源输入插座。
将天线竖立并拉至最长,将直流电源插于AC220伏的市电接线板上,此时发射器指示灯亮,说明发射器的电源已经接通。接通录、放像机的电源,并置于重放状态,接通电视机的电源,根据发射器标明的频道,仔细调节电视机的频道旋钮和天线,使接收到的图像和声音最清晰,即可正常工作。(白峥峰 陈宗安)