以研制开发优良的音响IC见长的荷兰飞利浦公司,最新推出一种高性能、高集成度的单片双卡录放集成电路TDA1602A。该集成电路采用Bi—CMOS工艺,具有优异的电性能指标。尤其适用于高级组合音响系统,具有极高的性价比。
该电路将所有的录放电路,包括A/B卡前置放大、放音均衡网络、线路放大、录音放大、自动电平控制(ALC)、偏磁振荡以及录音的均衡网络都集于一体,大大简化了外围电路,外围元件只需少量的电阻、电容即可。此外,所有的功能转换,如A/B卡转换、 Fe/CrO\(_{2}\) 磁带转换、放/录/快录转换、线路录音/A卡录音转换以及输出静噪控制等,均采用电子开关,省去了多刀位录放开关及各种功能开关,整机的构成相当简单,并使印制板的尺寸大大减小。
TDA1602A在电性能上满足杜比B降噪系统的要求,能与杜比B降噪电路配合使用。
该IC的主要电性能参数参见表1。由表中可以看出,它可采用单、双电源供电,且与绝大多数的组合音响、收录机电源相适应,这是一个非常突出的优点。信噪比为典型值55dB,失真低(0.08%)。使用该IC可单独组成一块功能齐全的录放板,具有优良的电性能,杜绝了普通机中令人讨厌的交流声及各种杂声的干扰,使得盒式录音机的信噪比确确实实地达到了55dB。用TDA1602A组成的录放板可以彻底更换原收录机、中低档组合音响中繁琐的录放电路。实际听音评价结果表明:该IC的音色属温暖细腻型。磁头信号直接输入放大器,保证了良好的低频特性;其电压转换速率保证了高音区的通透明晰。

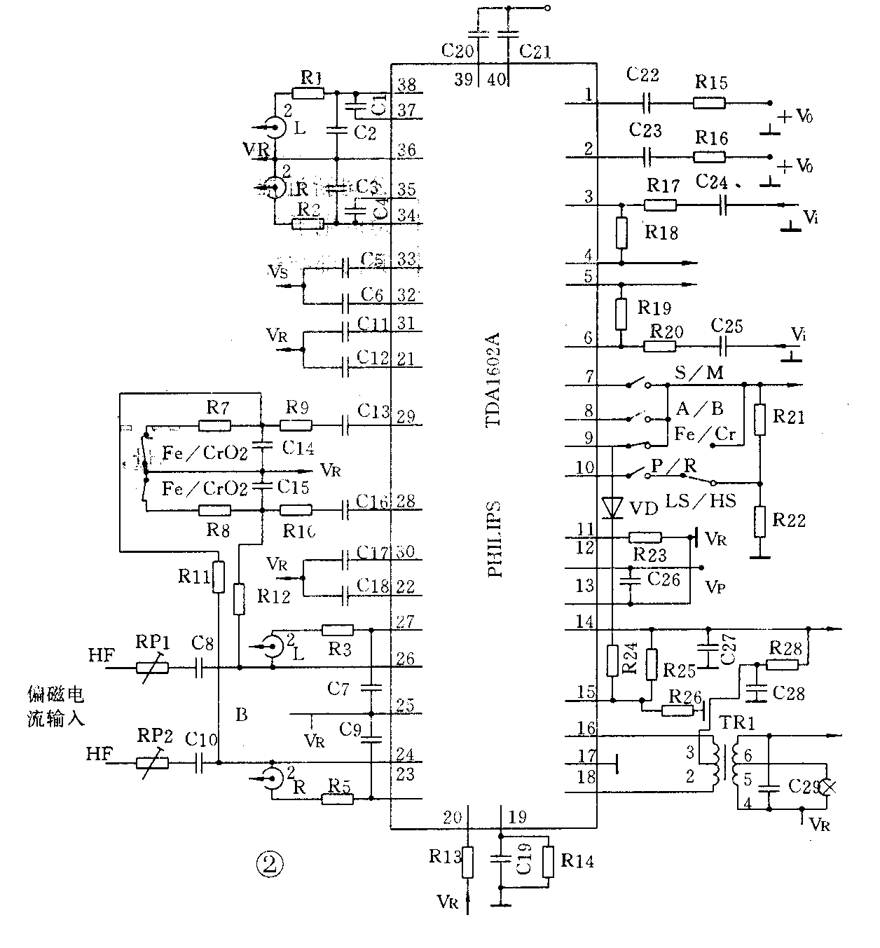
集成电路采用双列直插40引脚封装。各引脚功能见图1。

电路功能介绍:(1)放音前置放大器为一线性低噪声放大器,电压增益26.4dB。A/B卡各设独立放音前置放大器,由电子开关选择放音均衡网络。
(2)左、右两声道的放音均衡网络的高、低端转折频率由外围电容确定。Fe和CrO\(_{2}\)带的时间常数120μs和70μs由逻辑电路控制。
(3)高速录音磁头开关用于在快速录音时使补偿电容并接在前置放大器的输入端。
(4)录放磁头开关使B卡的磁头有2种工作状态,录音状态和放音状态。录音状态时,前置放大器的输入端被接地,录音偏流和录音信号经磁头录音。放音状态时,录音的偏流端被接地。
(5)左、右声道的录音均衡网络的高、低端转换频率由外围电容确定。省去这些电容,录音均衡网络将呈平坦响应,以满足杜比录音要求。
(6)自动电平控制范围为20dB,输出电压的变化小于2dB。ALC的恢复时间和上升时间由外围元件调整。
(7)偏磁振荡器为磁带录音提供偏流和抹音电流。正弦电压的幅度由第15端的电平控制。偏磁振荡器只有在录音状态时,才自动开启。
(8)当使用单电源供电时,参考电压提供1/2V\(_{p}\)的电位,作为信号地。当使用双电源时,参考电压为零电位。
(9)内部的逻辑电路通过外部施加的直流电平去控制内含的电子开关。第8和10端的控制信号仅与控制电平有关,第7和9端的控制信号不仅与电平有关,还与控制电平的上升和下降时间有关,以便使电子开关能够平滑地转换。
由于IC的集成度很高,因此所需的印制板尺寸仅80×90mm,仅需连接磁头及电源引线。功能开关都可以轻触化,以实现遥控操作。
具体的应用电路如图2所示,外围元器件的数值如表2所示,其中标有“*”号的表示需根据所采用的磁头的具体特性确定,建议采用双曲面硬质合金磁头来配用该IC,以达到最佳的电性能。(张国鹏)

