微型直流音响器是一种带集成电路的电磁式音响器,是适应现代电子产品小型化需要而研制、生产的新一代直流电源发声器件,是电子元器件中的新秀。它体积小,重量轻,功耗低,声压高,性能可靠,使用寿命长,安装方便,可广泛应用于打印机、电话机、定时器、传呼机、电子灶、电子现金出纳记帐器、报警器、计算机终端、键盘、复印机、门铃、时钟、电子玩具、汽车电子设备、各类安全装置及用电池供电的小型装置中。
为方便读者选购和应用,现将上述系列产品的种类、特点及选用等问题作些介绍。
构造和分类
本文介绍7种微型直流音响器,它们的外形分别见图1~图4。这些新颖的音响器内部不采用传统的压电陶瓷片,而采用一个微型发声器,其内部由线圈、磁铁、振动膜片和电路等组成。当振荡电路通过线圈时产生磁场,振动膜片周期性地被电磁铁所吸引,并在共鸣腔的作用下发出尖锐响亮的声音。




目前国内外市场上的各种微型直流音响器,尽管体积大小不同,规格号各异,但可归纳分成“自带音源”和“不带音源”两大类。“自带音源”的微型音响器内部有集成电路,它不需要外加任何音频驱动电路,只要接通直流电源就能直接发声,使用极其方便。YMD—12095(Ⅰ型)、YMD—12095(Ⅱ型)、YMD-12075型、HMB型就属此类音响器。“不带音源”的微型音响器则相当于一只微型扬声器,要外加音频驱动电路才能发声。YX型、DBX型和QMB型就是不带音源的微型直流音响器。
特点
YMD—12095(Ⅰ)型微型音响器是国家最新专利产品,在1991年江苏省讯响器集中测试中各项指标合格并获“优秀奖”。它的主要特点:①自带音源;②体积小(φ12×9.5);③重量轻(<2g);④功耗低(额定电流<20mA);⑤声压高(≥87dB、at10cm);⑥工作频率2300±300Hz;⑦环氧胶灌封,使用方便,可随时焊接清洗;⑧适用范围广,额定电压1.5V—12V,工作电压范围1.25V—16V。在-30℃至+75℃能正常工作,适合用作各种仪器、仪表的发声器件。
YMD—12095(Ⅱ型)是在YMD—12095(Ⅰ型)的基础上研制生产的新产品,国内首创,外形、体积、重量、功耗、额定电压与适应温度范围等与YMD—12095(Ⅰ型)相同,也自带音源,两者的主要区别是YMD—12095(Ⅰ型)接通电源发出的是响亮的连续长声,而YMD—12095(Ⅱ型)发出的是清晰、响亮、节奏分明的断续声,音响提醒效果更佳。
YMD—12075型,体积φ12×7.5,是目前各种微型音响器中最薄的一种,频率3.1kHz,其余各项技术性能与YMD—12095(Ⅰ型)相同,也自带音源。
YX型和DBX型,体积φ12×8.5,重量小于2g,工作电流<30mA,声压≥85dB(at10cm),工作频率2048Hz。YX型不用胶封;DBX型是密封的,耐焊接和防尘防水气性能较好。这两种产品都不带音源,价格便宜,目前大量应用于电子时钟和电子玩具上。
QMB型和HMB型,两者外形尺寸相同(φ16×14),QMB型不带音源,主要性能与YX型基本相同,所发声响较YX型洪亮、悦耳;HMB型自带音源,主要性能与YMD—12095(Ⅰ型)基本相同。
选用和使用
选购微型音响器时,要注意以下几点:
①选用“自带音源”的微型直流音响器时,要根据工作电压进行选择。YMD—12095(Ⅰ型)根据工作电压不同分01、03、06、09、12五种规格,分别适用电压是1.5V、3V、6V、9V、12V,用户可根据自己需要选择。例如,使用的直流电源电压是6V,就选用YMD—12095—06型。
2.选用“不带音源”的微型直流音响器时,要根据直流阻抗进行选择。YX型的直流阻抗有16Ω、42Ω、50Ω等等,选购时要注意分清。
3.要根据整机体积选用大小适宜的微型音响器。如对整机小型化要求高的就选用体积较小的微型音响器。
4.各种微型音响器都有“+”、“-”两根引出线,引出线有硬插针和软引线之分,两引线的间距和长度也可以根据自己需要选择,有特殊需要可要求生产厂定作。
下面介绍两种分别使用“不带音源”和“自带音源”微型直流音响器的简单电路,供初学者参考。
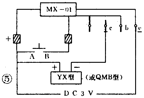
①音乐玩具。目前市场上有多种音乐电路,例如选用MX—01电路,该电路外形尺寸较小(13×23),可按图5电路连接。其中三极管可用9014、3DG6、3DG12等;扬声器可用YX型或QMB型微型直流音响器,用两节五号电池,安装在香烟盒大小的外壳内,只要安装无误,接通电源,按下电钮,就能唱完一首歌。不需另装开关,因不工作时用电很少。如要反复唱,只要把A、B两点连接即可。

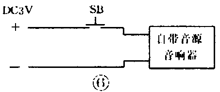
②门铃。该电路很简单,只需用一只“自带音源”的微型直流音响器,一只按钮,见图6。只要按动按钮,即能发出响亮清晰的提醒音响。

江苏武进东方音响器厂(武进县芙蓉镇,邮编213118电话761024联系人陆小琴)供微型直流音响器系列产品。YMD—Ⅰ型每只2.5元,YMD—Ⅱ型每只3.5元,YX型每只0.5元。量大优惠另议。邮售每次邮资3元。北京经销处:中关村路48号希格玛公司。 (张燕云)