固态继电器简称SSR,它是一种新颖的隔离式电子控制器。本文重点介绍直流输入型功率固态继电器(大电流固态继电器)的基本结构及应用方法。
基本结构
功率固态继电器有输入电路、隔离和输出电路三部分组成,如图1所示。输入电路中如用电阻来限定电流,电流的大小随输入电压的变化而成线性变化,称它为限流型输入电路,特性曲线如图2中A所示。这种型号的输入电压工作范围可在3~32V范围内分档,如3~14V、4~7V、12~32V等。如果采用恒流管来限定工作电流,电流达到预置值后不再随电压的升高而变化,基本上稳定在该值上,称它为恒流型输入电路,特性曲线如图2中B所示,它的输入电压有效工作范围一般都设计成3~32V。


隔离是指在电气连接上把输入电路和输出电路隔开,而又为信号的传递提供一个耦合通路。目前常用的光电隔离手段主要是采用以发光二极管为光源和以二极管、三极管或可控硅等为光检测器组成的光电流耦合器或光伏耦合器。
输出电路主要由隔离的后半级(光检测器)、半导体输出器件、瞬态抑制电路及其辅助功能电路等组成。输出(负载)电路的通断转换和承受的功率都是由输出器件实现的。如果输出器件采用的是晶体管或场效应管,瞬态抑制电路为二极管或齐纳二极管,则组成一个直流输出继电器(DC—SSR);如果采用晶闸管或场效应管,用阻容吸收回路做为瞬态抑制电路,则组成一个交流输出继电器(AC—SSR)。这两种电路都属于随机(调相)型。若在晶闸管式交流输出电路中外加一级零检电路,将使通断时机限定在正弦交流电压零点交越(±15V)处开启和零电流处关断,从而把通断瞬间的峰值和干扰都降到最低,具有这种功能的称为过零型继电器。
通用型塑封式功率固态继电器的外形见图3,其中(a)为JGX—5F(5A/20~380VAC)或JGX—5FA(5A/20~200VDC)的外形。这两种系列继电器本身带有散热器,体积为42×30×20mm。(b)为JGX—10F(10~70A/20~380VAC)或JGX-10FA(10~35A/20~200VDC)的外形。此两种系列继电器本身不带散热器,体积为57×44×23mm。

主要参数与选用
功率固态继电器的特性参数包括输入和输出参数。下面以北京科通电子继电器总厂生产的JGX—10F继电器为例,列出输入、输出参数,详见表1、表2。根据输入电压参数值大小,可确定工作电压大小。如果控制信号电压来自稳压电源,工作电压选在参数范围内即可。若输入电压偏高,需要外接一个限流电阻,把工作电流限定在最佳值上;如采用TTL或CMOS等逻辑电平控制时,最好采用有足够带载能力的低电平驱动,并尽可能使“0”电平低于0.8V。如在噪声很强的环境下工作,不能选用通、断电压值相差小的产品,必须选用通、断电压差值大的产品,(例如选接通电压为8V或12V的),这样不会因噪声干扰而造成控制失灵。


输出参数的项目较多,现对主要几个参数作些说明。
额定输出电压
它是指给定条件下能承受的稳态阻性负载的最大允许电压有效值。如果受控负载是非稳态或非阻性的,必须考所选产品是否能承受工作状态或条件变化时(冷热转换、静动转换、感应电势、瞬态峰值电压、变化周期等)所产生的最大合成电压。例如负载为感性时,所选额定输出电压必须大于两倍电源电压值,而且所选产品的阻断(击穿)电压应高于负载电源电压峰值的两倍。国产220伏的交流固态继电器的耐压余量较大(600V),能适于一般的小功率非阻性负载,但对于频繁启动的电机负载,应选用380V的产品。
额定输出电流和浪涌电流
额定输出电流是指在给定条件下(环境温度、额定电压、功率因素、有无散热器等)所能承受的电流最大有效值。一般生产厂家都提供热降额曲线。如周围温度上升,应按曲线作降额使用。
浪涌电流是指给定条件下(室温、额定电压、额定电流和持续时间等)不会造成永久性损坏所允许的最大非重复性峰值电流。交流继电器的浪涌电流为额定电流的5~10倍(一个周期),直流产品为额定电流的1.5~5倍(一秒)。在选用时,如负载为稳态阻性,继电器可全额或降额10%使用。对于电加热器、接触器等,初始接通瞬间出现的浪涌电流可达3倍的稳态电流因此继电器要降额20%~30%使用。对于白炽灯类负载,继电器应按降额50%使用,并且还应加上适当的保护电路。对于变压器负载,所选产品的额定电流必须高于负载工作电流的2倍。对于负载为感应电机,所选继电器的额定电流值应为电机运转电流的2~4倍,继电器的浪涌电流值应为额定电流的10倍。
固态继电器对温度的敏感性很强,工作温度超过标称值后,必须降额或外加散热器,例如额定电流为10A的JGX—10F产品,不加散热器时的允许工作电流只有5A。
为便于读者选用或购买继电器,这里再介绍一下继电器型号规格命名法,详见图4。其中主称代号“JG”表示固态继电器,型式符号“x”表示小型;“c”表示超小型。分类代号“F”表示封闭式交流输出,“FA”表示封闭式直流输出,“M”表示金属全密封。产品类型“0”表示过零型,“1”表示调相型。

例如:JGX—10F/014—40A220V-0,它表示该型号的产品是小型塑封式过零型交流输出固体继电器,最大直流输入电压为14V,额定输出电流为40A,额定输出电压为220V。
应用电路
1.基本电路
如图5a所示。当输入电压超过最佳值,需要加限流电阻RS,如图5b所示。当受控负载为非稳定的阻性负载或感性负载时,在输出回路应附加一个瞬态抑制电路,如图5(b)(c)。

2.多功能控制电路
图6(a)为多组输出电路,(b)为单刀双掷控制电路。

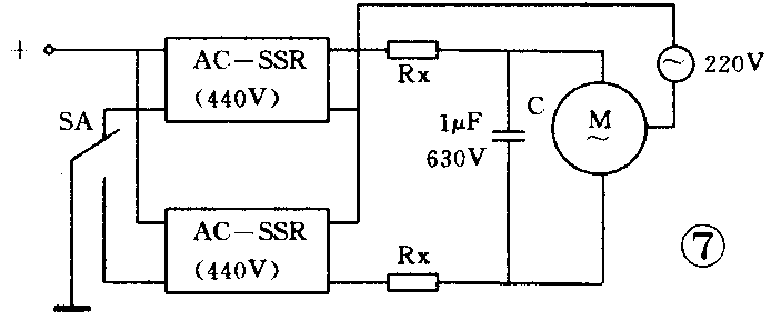
3.单相电机正反转控制

图7是一种手动式单相可逆电机正反转控制电路,电路中继电器要用阻断电压高于6OOV和额定电压380V以上的交流固态继电器。为了限制电机反转时电容器的放电电流,应外加两个限流电阻(Rx),其阻值和功率可按下式计算:
VRx=0.2×\(\frac{V}{_{P}}\)IR(Ω),P=I\(^{2}\)\(_{m}\)Rx(W)
其中V\(_{P}\)—电源峰值电压
I\(_{R}\)—固体继电器额定电流
Im—电机运转电流
当采同自动或逻辑电路控制时,应附加一个延迟电路(10ms),防止转换瞬间发生短路。 (赵全生)