本文向读者介绍一种由广州市达华电子厂研制、生产的TWH15高响度报警喇叭,以及配合电子电路组成的几种报警器。
由压电陶瓷片与一般谐振腔组成的压电陶瓷喇叭大家已十分熟悉,而TWH15报警喇叭也同样采用压电陶瓷片,而谐振腔的设计确有独到之处。因而能产生较高响度的报警声。
TWH15报警喇叭的外观和结构见图1。其中后盖设计时留有一定空间,供用户装置电子电路,制作各种不同类型的报警器。这种喇叭还有一个可单独供应的附件方向罩,它能使喇叭的发音具有方向性。

TWH15报警喇叭具有换能效率高,体积小,重量轻,频带宽,耐潮,耐振等优点。但是,它的阻抗高,需要推动的电压也高。因此,在制作报警器时,需要一个升压放大电路和音源电路,在自动报警的场合,还需要增加传感控制电路,下面分别介绍各单元。
升压功放电路
报警喇叭经常工作在恶劣环境下,因此,所制作的升压功放电路,特别是电路中的铁氧体变压器,必须用热熔胶加以固化。功放电路的选通频率,应与报警喇叭谐振点吻合。
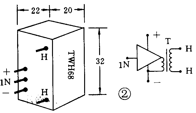
为了制作方便,这里向大家介绍一种升压功放固态电路,型号为TWH68,它的外观、体积、外引脚、内部电原理图见图2。

TWH68是专门用来推动和匹配TWH15报警喇叭的,附表所列参数是与负载同时测试所得到的。其中响度声级的测试条件是在工作电压12V,输入电压1V,频率为1700Hz时获得的。

音源电路
音源电路可以用简单的振荡电路、复合振荡电路、以及发声集成块电路片均可。
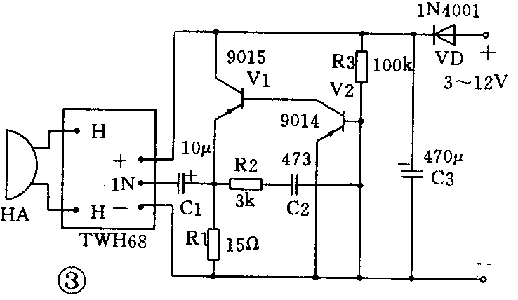
图3是电喇叭电路。适用在自行车、机动车作鸣号。

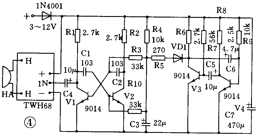
图4给出了TWH11型通用报警器,它是一种复合振荡电路,由两组振荡电路互相配合,使声频从低至高并间歇变化,报警声特别引人注意,适用在工矿企业、金融界、家庭作防盗、防暴、危险、火灾等安全守卫报警。

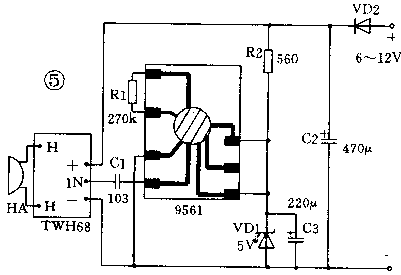
图5采用9561发声电路作声源,其模拟声可以是警笛、救护车等,适用于公安、交通、医院等场合。

自动报警电路
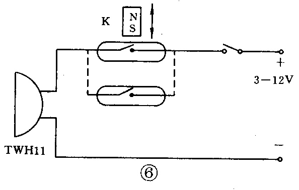
图6是限位防盗报警电路,干簧管及磁铁(可任意并联数个)分别安装在门窗被移动时磁铁能接近干簧管的位置。打开电源开关,电路处于戒备状态,如果有人移动门窗,磁铁接近干簧管时触点吸合,报警器发出响声。

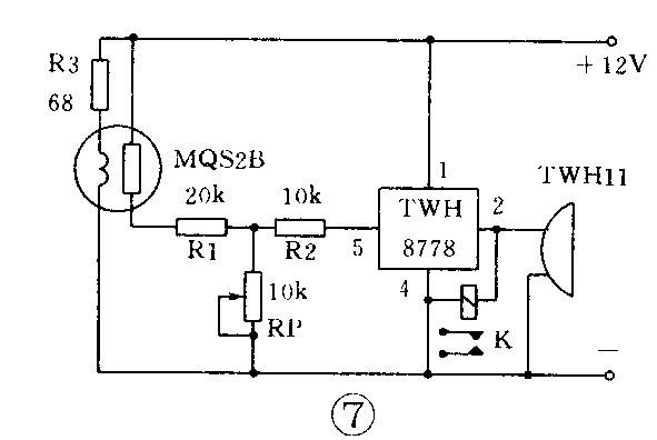
图7是烟雾及有害气体自动报警控制电路,气体探头MQS2B平时阻值数约十千欧当吸收到烟雾或有害气体时,阻值急剧下降,当达到预定值时,TWH8778的1、2脚导通,报警器报警。此时继电器吸合,其触点可直接控制排风扇或其它执行机构。该电路同样适用于NTC热敏电阻探头作超温报警、光敏探头作光电报警器。

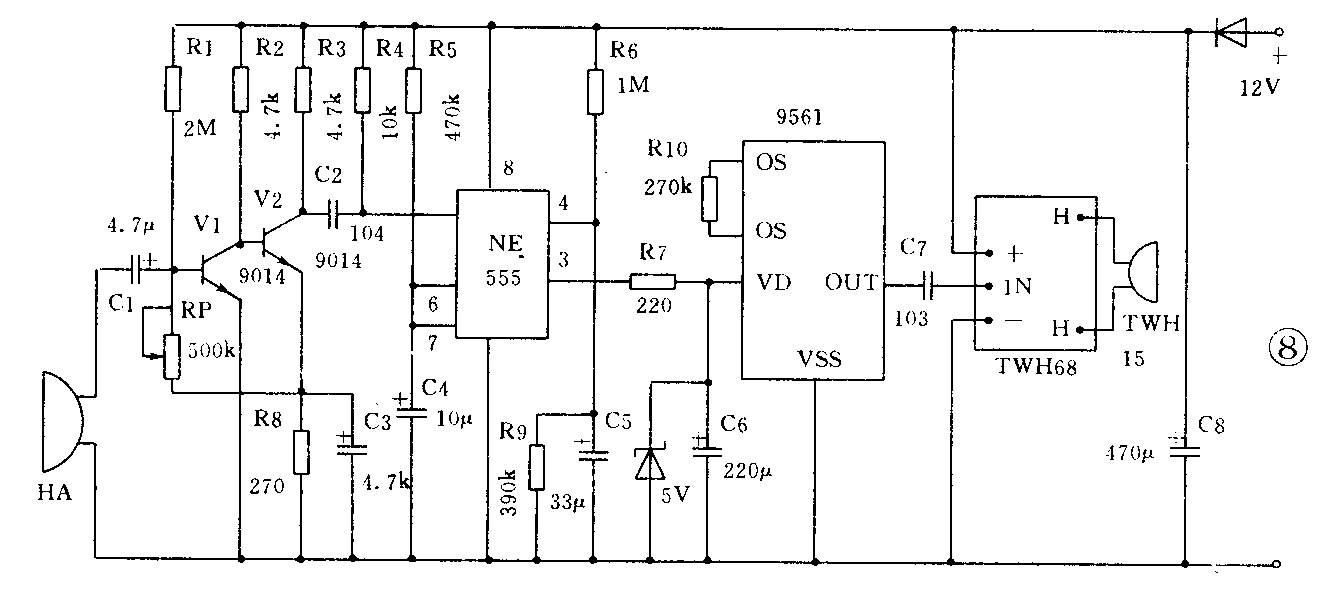
图8是TWH12型微振动触发防盗报警器。整个电路安装在喇叭的后盖内,传感器采用φ20mm压电陶瓷片,V1、V2作振动信号放大,RP为触发灵敏度调节,NE555是报警时间延时器。这种防盗器可安装在任何受轻微振动即报警的场合,如摩托车、汽车、住宅门窗、贵重物品、保险箱等。

我们希望以上几个报警电路能起到抛砖引玉的作用,我们期待广大电子爱好者能设计出新颖、实用的报警电路,使报警电路在工作、生活中得以广泛应用。 (蔡凡弟)