故障现象:开机合上电源后,无声无显示,主机不启动。
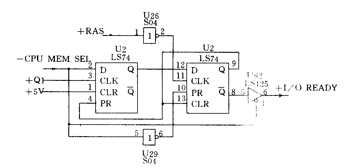
故障分析与检修:首先从外部观察,主机内小风扇转动,表明市电输入情况正常。打开机壳,测得主机开关电源电路各输出端子电压与电路图所标电压值基本相符。在这样的情况下,用示波器测量8284A时钟发生器,荧光屏上有时钟脉冲信号波形显示;再用示波器观察系统板数据总线和地址总线也有信号波形,说明该机系统板电路没有故障,故障可能出在除系统板以外的电路板上。试拔下彩色显示适配器卡而改用单色显示适配器时,主机恢复正常启动并进入工作状态,单色显示器上能正常显示操作内容。可以肯定故障出自彩色显示适配器电路板上。理由是由于带有故障的彩色显示适配器卡插在系统插槽后,影响了原系统总线数据的正常运行,使系统板8088CPU进入等待状态,主机因此不能启动。将彩色显示适配器重新插入系统插槽,用逻辑笔测如图所示彩色显示适配器中的三态门芯片U62⑥脚输出端(+I/O READY)信号电平,看是否老是处在低电平位置上?因为在正常状态下,彩色显示适配器电路中+I/O READY信号应为高电平或脉冲波形,检查结果U62⑥脚为低电平。再测U62④、⑤脚也均为低电平。按照三态门电路工作原理,如果U62⑥脚输出的是低电平,则U62④、⑤脚均必须为低电平,否则只要U62④、⑤脚当中某一引脚为高电平而U62⑥脚输出低电平,就可以肯定U62芯片损坏。所以故障出在U62的前级芯片上。用示波器检测D触发器U2③、脚应有周期性脉冲波形输入,检查结果正好如此。改用逻辑笔测试芯片U29⑤脚时发现注入非门U29⑤脚输入端的CPU访问彩色显示适配器VRAM时形成的地址译码信号(—CPU MEM SEL)为低电平,而非门U29⑥脚输出仍然是低电平,说明U29(S04)非门电路已损坏,不能够使—CPU MEM SEL信号电平在U29⑥脚输出端出现翻转。焊下U29芯片换新后,故障排除。

由于U29芯片损坏,使CPU访问彩色显示适配器上的VRAM时所形成的地址译码信号不能正常通过,引起彩色显示适配器总线电路中运行数据出现差错,进一步导致系统总线数据不能正常运行,使主机不能启动。 (平凡)